GM Service Manual Online
For 1990-2009 cars only

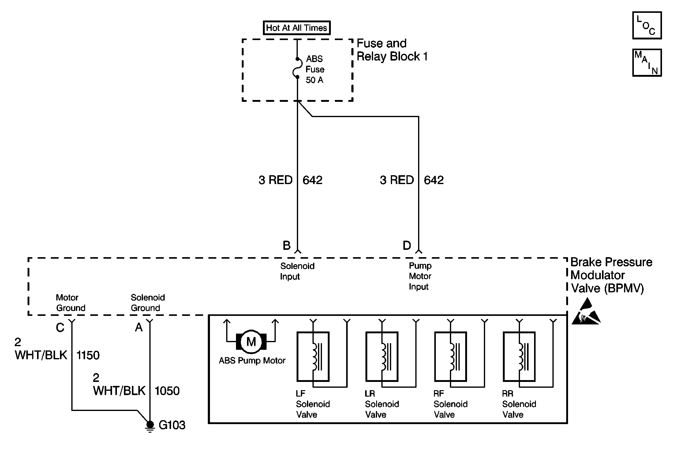
Object Number: 221432  Size: MF
ABS Components
Antilock Brake System Schematics

Circuit Description

The valve relay is part of the Electronic Brake Control Module (EBCM). The EBCM turns ON the valve relay during an ABS stop. The valve relay provides power to the ABS solenoid valves.

Conditions for Setting the DTC

    • The Electronic Brake Control Module (EBCM) detects an open in the valve relay circuitry.
    • DTC C0125 can be set anytime.

Action Taken When the DTC Sets

    • A malfunction DTC stores.
    • The ABS disables.
    • The ABS warning indicator turns ON.

Conditions for Clearing the DTC

The condition responsible for setting the DTC no longer exists and the Scan Tool Clear DTCs function is used.

Diagnostic Aids

Inspect for the following when diagnosing this part of the Antilock Brake System (ABS):

    • Open ABS fuse.
    • Open or high resistance in the solenoid input circuit (CKT 642).

Inspect the following harness connectors for the following conditions:

    • Backed-out terminals
    • Improper mating
    • Broken locks
    • Improperly formed or damaged terminals
    • Poor terminal to wiring connections or physical damage to the wiring harness before replacement of the following components:
       - Junction block electrical connectors
       - Electronic brake control module electrical connector.

Test Description

The number(s) below refer to the step number(s) on the diagnostic table.

  1. The Diagnostic System Check must be the starting point for any ABS related diagnosis.

  2. Determines if the condition that caused DTC to set is currently present.

  3. Confirms whether a valve relay circuit malfunction currently exists or the condition is intermittent.

  4. Tests for an open in the solenoid power input circuit (CKT 642).

Step

Action

Value(s)

Yes

No

1

Was the Diagnostic System Check performed?

--

Go to Step 2

Go to Diagnostic System Check

2

  1. Turn the ignition switch to the LOCK position.
  2. Connect a scan tool to the Data Link Connector (DLC).
  3. Turn the ignition switch to the ON position.
  4. Select Diagnostic Trouble Codes (DTC) on the scan tool.
  5. Select DTC Information on the scan tool.
  6. Select Current DTC on the scan tool.

Is DTC C0125 set as a Current DTC?

--

Go to Step 4

Go to Step 3

3

  1. Select Diagnostic Trouble Codes (DTC) on the scan tool.
  2. Select Clear DTC Information on the scan tool.
  3. Turn the ignition switch to the LOCK position.
  4. Disconnect the scan tool from the DLC.
  5. Test drive the vehicle at 24 km/h (15 mph) for 30 seconds.
  6. When driving conditions permit perform an ABS stop bringing the vehicle to a complete stop.
  7. Connect a scan tool to the Data Link Connector (DLC).
  8. Select Diagnostic Trouble Codes (DTCs) on the scan tool.
  9. Select Clear DTC Information on the scan tool.
  10. Select Current DTC on the scan tool.

Is DTC C0125 set as a Current DTC?

--

Go to Step 4

Go to Step 5

4

  1. Turn the ignition switch to the LOCK position.
  2. Disconnect the EBCM electrical connector.
  3. Connect J 39200 DMM between the EBCM electrical connector terminal B (harness side) and ground.
  4. Turn the ignition switch to ON position.
  5. Use J 39200 DMM in order to measure the voltage.

Is the voltage within the range specified in the Value(s) column?

Battery Voltage (10-14 V)

Go to Step 6

Go to Step 7

5

A malfunction is not present at this time. Refer to Diagnostic Aids for additional information regarding this DTC.

Is the action complete?

--

Go to Diagnostic System Check

--

6

Replace the brake pressure modulator valve assembly. Refer to Brake Pressure Modulator Valve Assembly Replacement .

Is the repair complete?

--

Go to Diagnostic System Check

--

7

Repair the open or a high resistance in CKT 642. Refer to Wiring Repairs in Wiring Systems.

Is the repair complete?

--

Go to Diagnostic System Check

--