GM Service Manual Online
For 1990-2009 cars only

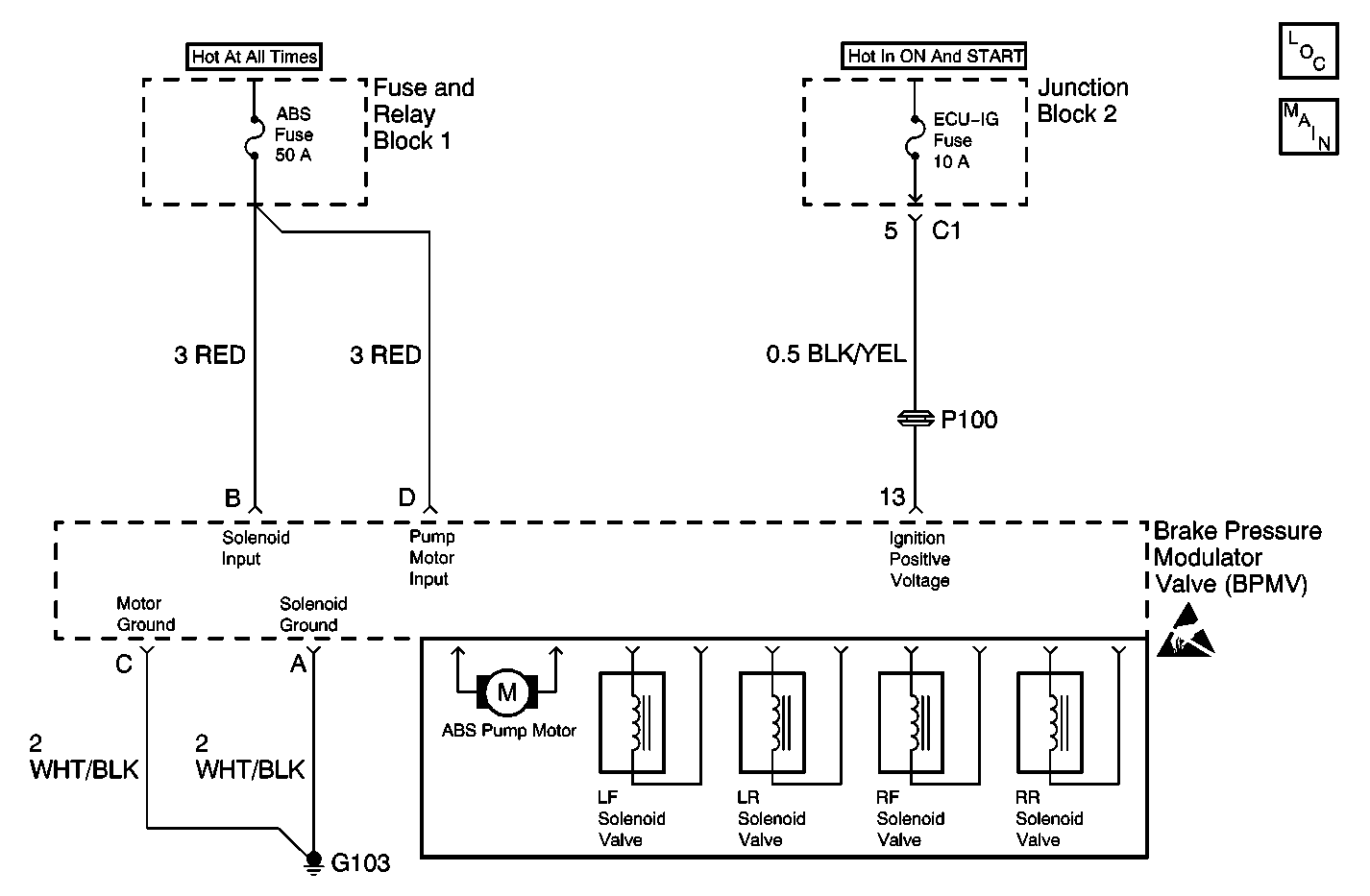
Object Number: 396371  Size: MF
ABS Components
Cell 44: ABS Pump Motor, BPMV, Solenoid Valves, and Stoplamp Switch
Handling ESD Sensitive Parts Notice

Circuit Description

This DTC is designed to detect high vehicle voltage levels and to protect the Antilock Brake System (ABS) system from high voltage damage.

Conditions for Setting the DTC

Power voltage level circuit is greater than 17.5 volts.

Action Taken When the DTC Sets

    • A malfunction DTC stores
    • The ABS disables
    • The ABS warning indicator turns ON

Conditions for Clearing the DTC

The condition responsible for setting the DTC no longer exists and the Scan Tool Clear DTCs function is used.

Diagnostic Aids

Use the enhanced diagnostic function of the Scan Tool in order to measure the frequency of the malfunction.

Ensure the vehicle's charging system is working properly.

Test Description

The number(s) below refer to the step number(s) on the diagnostic table.

  1. Tests for excessive generator output of the vehicle charging system.

  2. Tests if the Electronic Brake Control Module (EBCM) is malfunctioning.

  3. Confirms if the EBCM is faulty.

Step

Action

Value(s)

Yes

No

1

Was the Diagnostic System Check performed?

--

Go to Step 2

Go to Diagnostic System Check - ABS

2

Test the vehicles charging system. Refer to Charging System in Engine Electrical.

Is the vehicle's charging system output above specifications?

--

Go to Step 5

Go to Step 3

3

  1. Install a scan tool to the OBD2 Data Link Connector (DLC).
  2. Turn the ignition switch to the ON position.
  3. Use a scan tool to select Data Display.
  4. Start the engine.
  5. While running the engine at approximately 2,000 RPM, monitor the ignition voltage on the scan tool.

Is the voltage less than the specified value?

17 V

Go to Step 4

Go to Step 6

4

  1. Select Diagnostic Trouble Codes (DTCs) on the scan tool.
  2. Select Clear DTC Information on the scan tool.
  3. Turn the ignition switch to the LOCK position.
  4. Wait 30 seconds then turn the ignition switch to the ON position.
  5. Select Diagnostic Trouble Codes (DTCs) on the scan tool.
  6. Select DTC Information on the scan tool.
  7. Select Current DTC on the scan tool.

Is DTC C0900 set as a current DTC?

--

Go to Step 6

Go to Step 7

5

Repair the vehicle's charging system. Refer to Charging System in Engine Electrical.

Is the repair complete?

--

Go to Diagnostic System Check - ABS

--

6

Replace the brake pressure modulator valve assembly. Refer to Brake Pressure Modulator Valve Assembly Replacement .

Is the repair complete?

--

Go to Diagnostic System Check - ABS

--

7

Malfunction is not present at this time. Refer to Diagnostic Aids for more information regarding this DTC.

Is the action complete?

--

Go to Diagnostic System Check - ABS

--