GM Service Manual Online
For 1990-2009 cars only

Object Number: 629796  Size: MF
Engine Controls Component Views
Fuel Supply System
OBD II Symbol Description Notice
Handling ESD Sensitive Parts Notice
Powertrain Control Module Connector End Views
Powertrain Control Module Connector End Views
Ground Distribution Schematics
Power and Grounding Connector End Views

Circuit Description

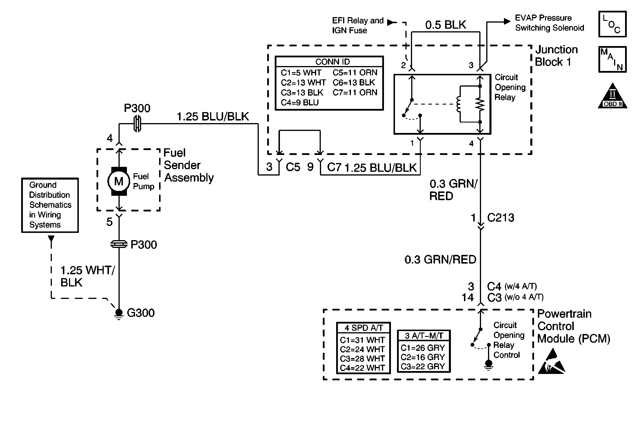
The circuit opening relay provides ignition positive voltage to the fuel pump. The circuit opening relay is controlled by the powertrian control module (PCM) and receives ignition positive voltage from the EFI relay. The PCM monitors the crank signal circuit, terminal C3-11, for voltage when the ignition switch is in the START (engine cranking) position. When the crank signal circuit indicates the engine is cranking the PCM energizes the circuit opening relay. The PCM also energizes the circuit opening relay whenever reference pulses from the CKP sensor circuit are detected. If the crank signal circuit does NOT indicate the engine is cranking the PCM will energize the circuit opening relay based only upon reference pulses.

Diagnostic Aids

Check for any of the following conditions:

    • Check the resistance of the circuit opening relay. The resistance across terminal 3 and terminal 4 is 85-95 ohms at 20°C (68°F). The resistance across terminal 1 and terminal 2 is infinite.
    • The circuit opening relays electrical contacts may be pitted or sticking. Replace the relay if tapping gently on the relay or wiggling the relay causes a change in the relays operation.
    • The performance of the circuit opening relay may be affected by temperature. Check the relay after sitting outside overnight and after running the engine 30 minutes.

An intermittent malfunction may be caused by a fault in the fuel pump electrical circuit. Refer to Intermittent Conditions .

Use the following relay cavity table in order to locate the correct cavities to probe during diagnosis. The table layout corresponds to the cavity layout of the relay block.

Relay Cavity Identification

Switch Load

Switch Power

Coil Power

Coil Ground

Test Description

The numbers below refer to the step numbers in the diagnostic table.

  1. The OBD System Check prompts the technician to complete some basic checks and store the freeze frame data on the scan tool if applicable. This creates an electronic copy of the data taken when the fault occurred. The information is then stored in the scan tool for later reference.

  2. This step checks for the operation of the fuel pump. Fuel pump operation is difficult to hear without seat cushion removal.

  3. This step checks for the operation of the circuit opening relay. The circuit opening relay is located just above the left side kick panel and makes an audible click when turning on and off.

  4. This step checks the control circuit of the fuel pump relay.

  5. The most likely location of an open circuit is between the splice and circuit opening relay terminal 2. An inoperative EFI relay would cause no MIL operation. The EFI relay is diagnosed in the No Malfunction Indicator Lamp diagnostic table.

  6. This step checks for a fault in the fuel pump or the circuit from the circuit opening relay to the fuel tank. The vehicle should start and run if the only fault was with the circuit opening relay.

Step

Action

Values

Yes

No

1

Did you perform the Powertrain On-Board Diagnostic (OBD) System Check?

--

Go to Step 2

Go to Powertrain On Board Diagnostic (OBD) System Check

2

  1. Install a scan tool.
  2. Remove the bottom cushion of the rear seat in order to gain access to the fuel sender assembly access panel. Refer to Rear Seat Cushion Replacement in Body and Accessories.
  3. Place a listening device against the fuel sender assembly access panel.
  4. Turn ON the ignition, with the engine OFF.
  5. Command the fuel pump ON and OFF with the scan tool.
  6. Listen for audible fuel pump operation.

Does the fuel pump operate as commanded?

--

Go to Step 3

Go to Step 4

3

The fuel pump electrical circuit is OK.

Do you want to inspect the fuel system for the correct operating pressure?

--

Go to Fuel System Diagnosis

Go to Intermittent Conditions in Wiring Systems

4

Is the fuel pump operating continuously when the ignition is ON and the engine is OFF?

--

Go to Step 15

Go to Step 5

5

Turn the fuel pump ON and OFF while listening carefully for the operation of the circuit opening relay at the left side kick panel.

Did you hear the circuit opening relay click when commanded ON and OFF by the scan tool?

--

Go to Step 10

Go to Step 6

6

  1. Turn OFF the ignition.
  2. Remove the circuit opening relay. Refer to Circuit Opening Relay Replacement .
  3. Turn ON the ignition, with the engine OFF.
  4. Probe the circuit opening relay cavity 2 and cavity 3 with a test lamp connected to ground. Refer to the Relay Cavity Identification table in Diagnostic Aids.

Did the test lamp illuminate at both cavities?

--

Go to Step 7

Go to Step 9

7

  1. Probe the circuit opening relay control circuit cavity 4 with a test lamp connected to B+.
  2. Command the fuel pump ON with the scan tool.

Does the test lamp illuminate?

--

Go to Step 19

Go to Step 8

8

  1. Check for an open in the circuit opening relay control circuit.
  2. Repair as necessary. Refer to Wiring Repairs in Wiring Systems.

Was a wiring fault found and repaired?

--

Go to Step 22

Go to Step 21

9

  1. Check for the cause of no ignition positive voltage to the circuit opening relay. Refer to the Test Description.
  2. Repair as necessary. Refer to Wiring Repairs in Wiring Systems.

Did you complete the repair?

--

Go to Step 22

--

10

  1. Remove the fuel sender assembly access panel.
  2. Disconnect the fuel sender assembly electrical connector.
  3. Probe the fuel pump ignition positive voltage circuit, terminal 4, with a test lamp connected to ground.
  4. Command the fuel pump ON with the scan tool.

Does the test lamp illuminate?

--

Go to Step 11

Go to Step 13

11

Connect the test lamp between the fuel pump ground circuit and B+.

Does the test lamp illuminate?

--

Go to Step 14

Go to Step 12

12

Repair the open fuel pump ground circuit. Refer to Wiring Repairs in Wiring Systems.

Did you complete the repair?

--

Go to Step 22

--

13

Repair the open fuel pump power circuit between the circuit opening relay and the fuel sender assembly. Refer to Wiring Repairs in Wiring Systems.

Did you complete the repair?

--

Go to Step 22

--

14

  1. Inspect the fuel sender assembly for an open or high resistance in the following circuits:
  2. • The fuel pump positive voltage circuit
    • The fuel pump ground circuit
  3. Repair or replace the fuel sender assembly as necessary. Refer to Fuel Sender Assembly Replacement .

Was a repair necessary?

Was a wiring fault found and repaired?

--

Go to Step 22

Go to Step 20

15

Remove the fuel pump relay. Refer to Circuit Opening Relay Replacement .

Is the fuel pump still operating?

--

Go to Step 16

Go to Step 17

16

Repair the short to voltage in the fuel pump supply circuit. Refer to Wiring Repairs in Wiring Systems.

Did you complete the repair?

--

Go to Step 22

--

17

  1. Turn OFF the ignition.
  2. Probe the control circuit, cavity 4 of the relay socket, with a test lamp connected to B+. Refer to the Relay Cavity Identification table in Diagnostic Aids.
  3. Command the circuit opening relay ON and OFF with the scan tool.

Did the test lamp stay illuminated even when the relay was commanded OFF?

--

Go to Step 18

Go to Step 19

18

  1. Inspect for a short to ground in the control circuit of the fuel pump relay between the relay and the PCM.
  2. Repair the wiring as necessary. Refer to Wiring Repairs in Wiring Systems.

Was a wiring short found and repaired?

--

Go to Step 22

Go to Step 21

19

Replace the circuit opening relay. Refer to Circuit Opening Relay Replacement .

Did you complete the repair?

--

Go to Step 22

--

20

Replace the fuel pump. Refer to Fuel Pump and Fuel Filter Assembly Replacement .

Did you complete the repair?

--

Go to Step 22

--

21

Replace the PCM. Refer to Powertrain Control Module Replacement .

Did you complete the repair?

--

Go to Step 22

--

22

Operate the vehicle within the conditions under which the original symptom was noted.

Does the system operate correctly now?

--

System OK

Go to Diagnostic Aids