GM Service Manual Online
For 1990-2009 cars only
Makes
🢒
Chevrolet
🢒
2000
🢒
S10 Pickup - 2WD
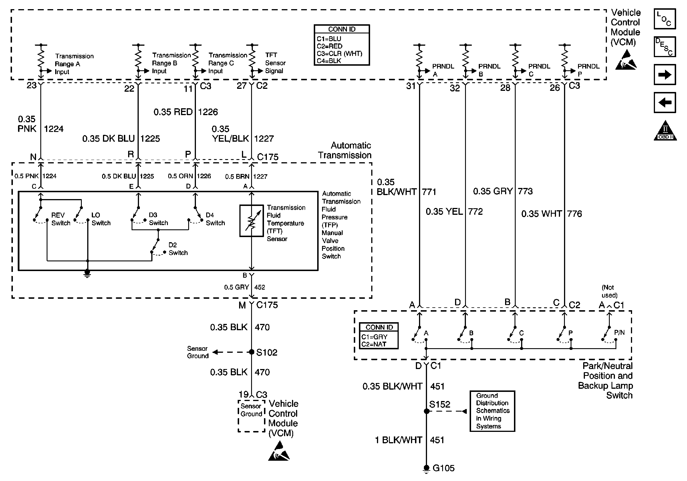
🢒 Automatic Transmission and PNP Switch Inputs
Automatic Transmission and PNP Switch Inputs
Automatic Transmission and PNP Switch Inputs
Engine Controls Components
Vehicle Control Module Description
Automatic Transmission Valve Controls
Vehicle Speed Signal, Transfer Case Shift Control Module and 4WD IndicAtor Switch
OBD II Symbol Description Notice
VCM Connector End Views
Handling ESD Sensitive Parts Notice
Engine Sensors (Pickup)
Handling ESD Sensitive Parts Notice
Shift Lock Control Connector End Views
G103 and G105 (4.3L)