GM Service Manual Online
For 1990-2009 cars only
Figure 1:

B+ Bus Bar


Object Number: 670589  Size: FS
Master Electrical Component List
Ign RUN and START Bus Bar
G100, G106, G107, G108, G110 and G118
Figure 2:

Ign RUN and START Bus Bar


Object Number: 670596  Size: FS
Master Electrical Component List
Ign ACC, RUN and RAP Bus Bar
B+ Bus Bar
B+ Bus Bar
Figure 3:

Ign ACC, RUN and RAP Bus Bar


Object Number: 670600  Size: FS
Master Electrical Component List
Stop, Turn and Hazard Bus Bar
Ign RUN and START Bus Bar
B+ Bus Bar
Figure 4:

Stop, Turn and Hazard Bus Bar


Object Number: 670605  Size: FS
Master Electrical Component List
STUD 2, ABS, TBC and RR W/W Fuses
Ign ACC, RUN and RAP Bus Bar
B+ Bus Bar
Ign RUN and START Bus Bar
Handling ESD Sensitive Parts Notice
Figure 5:

STUD 2, ABS, TBC and RR W/W Fuses


Object Number: 670607  Size: FS
Master Electrical Component List
INT BATT Fuse
Stop, Turn and Hazard Bus Bar
B+ Bus Bar
Figure 6:

INT BATT Fuse


Object Number: 670611  Size: FS
Master Electrical Component List
Inadvertent Power Lamp Relay
STUD 2, ABS, TBC and RR W/W Fuses
B+ Bus Bar
Inadvertent Power Lamp Relay
AUX PWR, RDO BATT and HDLP SW Fuses
Figure 7:

Inadvertent Power Lamp Relay


Object Number: 670621  Size: FS
Master Electrical Component List
AUX PWR, RDO BATT and HDLP SW Fuses
INT BATT Fuse
INT BATT Fuse
Handling ESD Sensitive Parts Notice
Figure 8:

AUX PWR, RDO BATT and HDLP SW Fuses


Object Number: 670624  Size: FS
Master Electrical Component List
HTD SEAT, ATC, HVAC and A/C Fuses
Inadvertent Power Lamp Relay
INT BATT Fuse
Figure 9:

HTD SEAT, ATC, HVAC and A/C Fuses


Object Number: 670629  Size: FS
Master Electrical Component List
MIR/LKS, FOG LP Fuses and DRL, Headlamp Power Relays
AUX PWR, RDO BATT and HDLP SW Fuses
B+ Bus Bar
Figure 10:

MIR/LKS, FOG LP Fuses and DRL, Headlamp Power Relays


Object Number: 670632  Size: FS
Master Electrical Component List
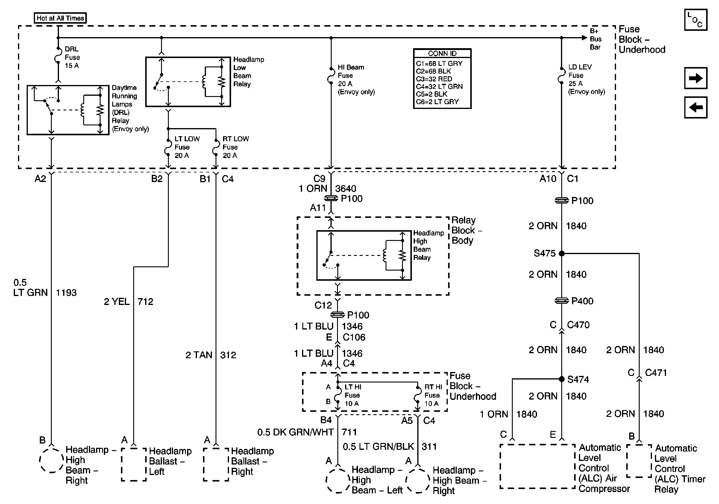
HI BEAM, LD LEV, DRL Fuses and Low Beam Relay (Envoy Only)
HTD SEAT, ATC, HVAC and A/C Fuses
B+ Bus Bar
Figure 11:

HI BEAM, LD LEV, DRL Fuses and Low Beam Relay (Envoy Only)


Object Number: 670635  Size: FS
Master Electrical Component List
ECM B Fuse and Horn, Rear Defogger Relays
MIR/LKS, FOG LP Fuses and DRL, Headlamp Power Relays
B+ Bus Bar
Figure 12:

ECM B Fuse and Horn, Rear Defogger Relays


Object Number: 670640  Size: FS
Master Electrical Component List
ILLUM and PARK LP Fuses
HI BEAM, LD LEV, DRL Fuses and Low Beam Relay (Envoy Only)
B+ Bus Bar
Handling ESD Sensitive Parts Notice
Figure 13:

ILLUM and PARK LP Fuses


Object Number: 670642  Size: FS
Master Electrical Component List
ILLUM Power (Pickup Except Crewcab)
ECM B Fuse and Horn, Rear Defogger Relays
B+ Bus Bar
Headlights/Daytime Running Lights (DRL) Schematics
ILLUM Power (Pickup Except Crewcab)
ILLUM Power (Utility)
FR PRK, LR PRK, RR PRK Fuses and Fog Lamp Relay (Pickup)
FR PRK, LR PRK, RR PRK, TRL PRK Fuses and Fog Lamp Relay (Utility)
FR PRK, LR PRK, RR PRK, TRL PRK Fuses and Fog Lamp Relay (Export)
Figure 14:

ILLUM Power (Pickup Except Crewcab)


Object Number: 670646  Size: FS
Master Electrical Component List
ILLUM Power (Utility)
ILLUM and PARK LP Fuses
ILLUM and PARK LP Fuses
SIR Handling Caution
Figure 15:

ILLUM Power (Utility)


Object Number: 670648  Size: FS
Master Electrical Component List
ILLUM Power (2-Door Utility, 4-Door Utility and Crew Cab)
ILLUM Power (Pickup Except Crewcab)
ILLUM and PARK LP Fuses
ILLUM Power (2-Door Utility, 4-Door Utility and Crew Cab)
Figure 16:

ILLUM Power (2-Door Utility, 4-Door Utility and Crew Cab)


Object Number: 670649  Size: FS
Master Electrical Component List
FR PRK, LR PRK, RR PRK Fuses and Fog Lamp Relay (Pickup)
ILLUM Power (Utility)
ILLUM Power (Utility)
Figure 17:

FR PRK, LR PRK, RR PRK Fuses and Fog Lamp Relay (Pickup)


Object Number: 670651  Size: FS
Master Electrical Component List
FR PRK, LR PRK, RR PRK, TRL PRK Fuses and Fog Lamp Relay (Utility)
ILLUM Power (2-Door Utility, 4-Door Utility and Crew Cab)
ILLUM and PARK LP Fuses
Figure 18:

FR PRK, LR PRK, RR PRK, TRL PRK Fuses and Fog Lamp Relay (Utility)


Object Number: 670658  Size: FS
Master Electrical Component List
FR PRK, LR PRK, RR PRK, TRL PRK Fuses and Fog Lamp Relay (Export)
FR PRK, LR PRK, RR PRK Fuses and Fog Lamp Relay (Pickup)
ILLUM and PARK LP Fuses
Figure 19:

FR PRK, LR PRK, RR PRK, TRL PRK Fuses and Fog Lamp Relay (Export)


Object Number: 670673  Size: FS
Master Electrical Component List
CRANK and CLSTR Fuses
FR PRK, LR PRK, RR PRK, TRL PRK Fuses and Fog Lamp Relay (Utility)
ILLUM and PARK LP Fuses
Figure 20:

CRANK and CLSTR Fuses


Object Number: 670683  Size: FS
Master Electrical Component List
TURN, SIR and GAUGES Fuses
FR PRK, LR PRK, RR PRK, TRL PRK Fuses and Fog Lamp Relay (Export)
Figure 21:

TURN, SIR and GAUGES Fuses


Object Number: 670691  Size: FS
Master Electrical Component List
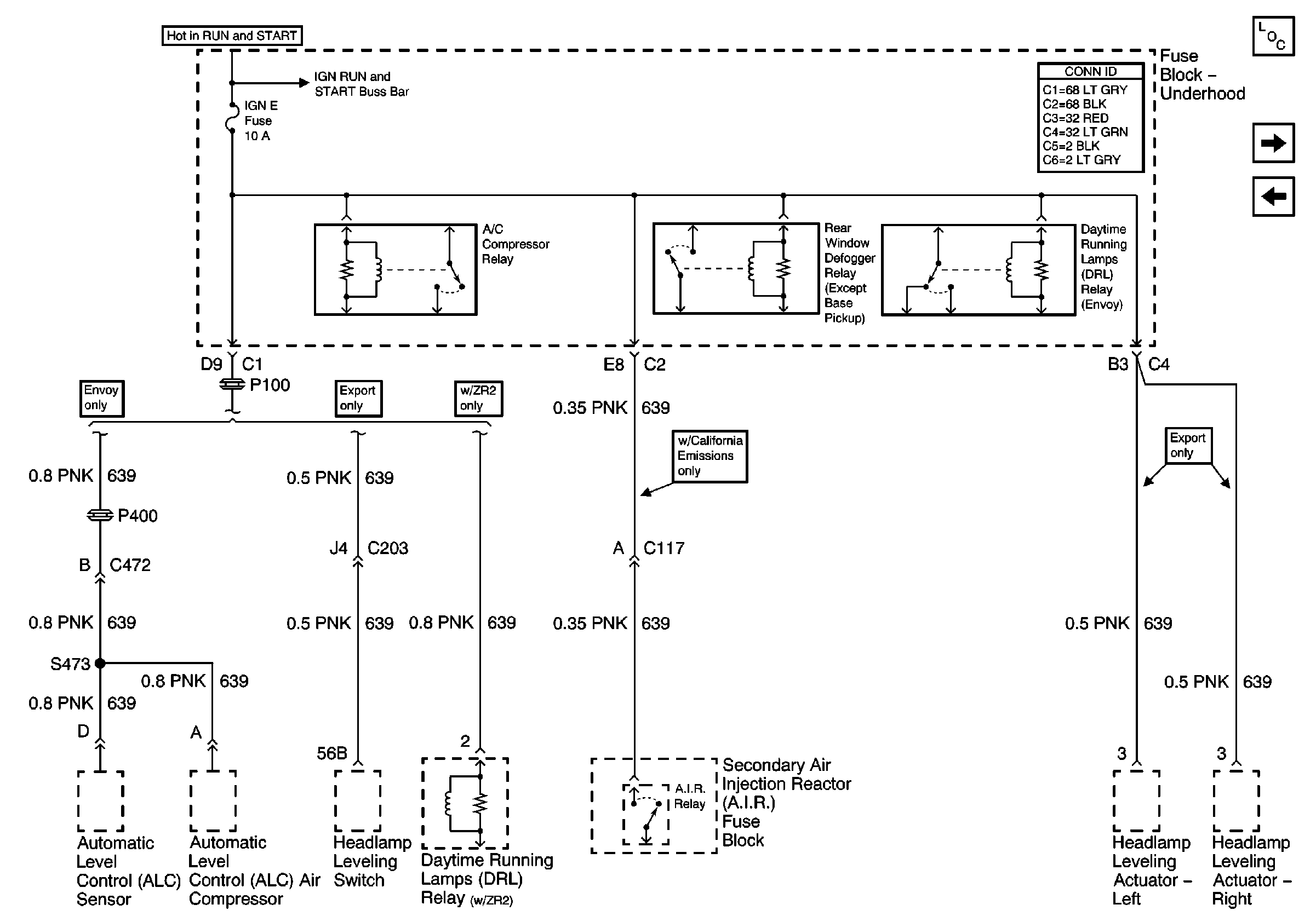
IGN E Fuse and A/C Compressor, Rear Defogger, DRL Relays
CRANK and CLSTR Fuses
SIR Handling Caution
SIR Handling Caution
Figure 22:

IGN E Fuse and A/C Compressor, Rear Defogger, DRL Relays


Object Number: 670694  Size: FS
Master Electrical Component List
B/U LP, TRL B/U and BTSI Fuses (Automatic Transmission)
TURN, SIR and GAUGES Fuses
Ign RUN and START Bus Bar
Figure 23:

B/U LP, TRL B/U and BTSI Fuses (Automatic Transmission)


Object Number: 670698  Size: FS
Master Electrical Component List
BTSI Fuse Power (Automatic Transmission)
IGN E Fuse and A/C Compressor, Rear Defogger, DRL Relays
Ign RUN and START Bus Bar
BTSI Fuse Power (Automatic Transmission)
Figure 24:

BTSI Fuse Power (Automatic Transmission)


Object Number: 670701  Size: FS
Master Electrical Component List
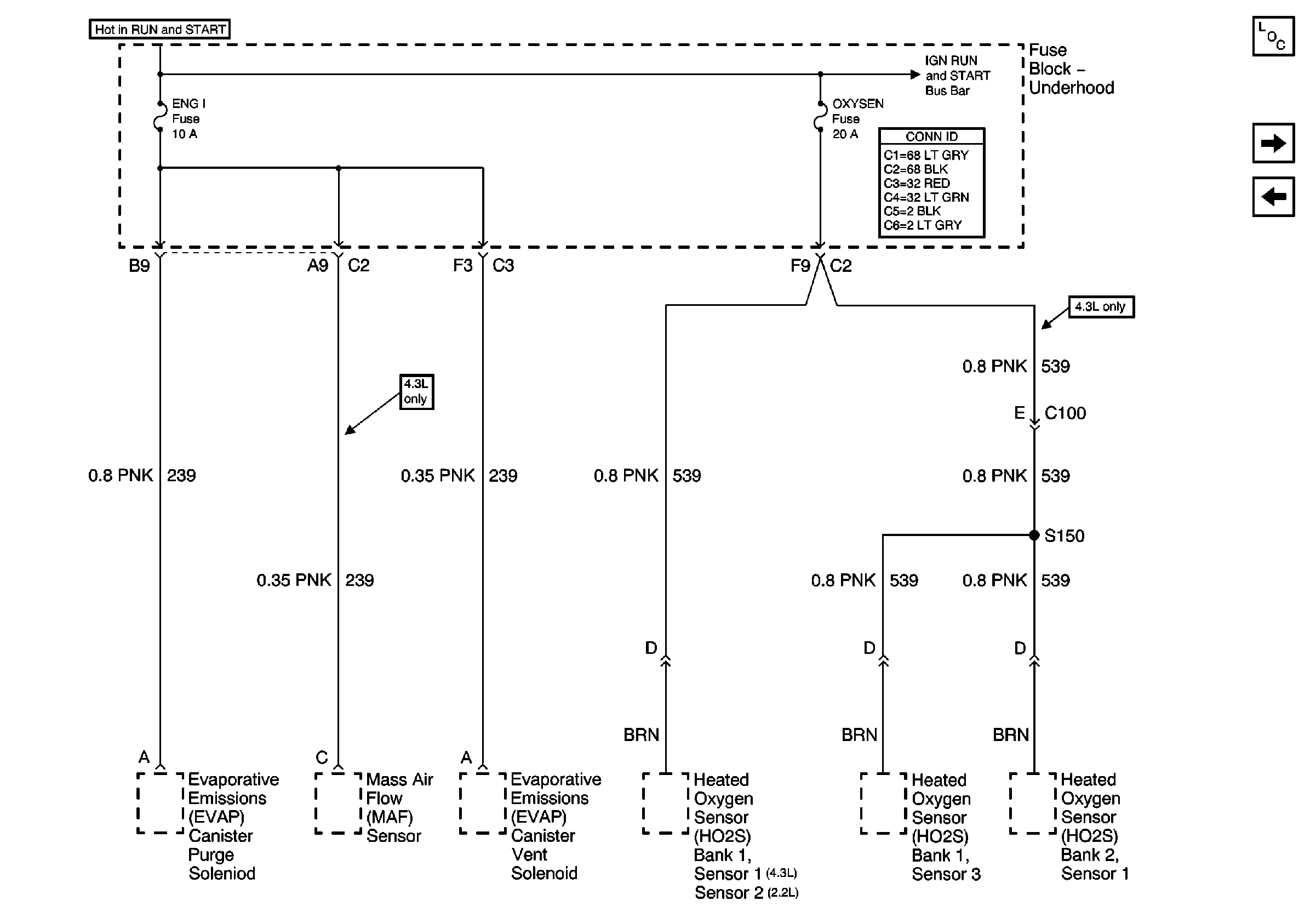
ENG I and OXYGEN Fuses
B/U LP, TRL B/U and BTSI Fuses (Automatic Transmission)
B/U LP, TRL B/U and BTSI Fuses (Automatic Transmission)
Figure 25:

ENG I and OXYGEN Fuses


Object Number: 670705  Size: FS
Master Electrical Component List
ECM I Fuse
BTSI Fuse Power (Automatic Transmission)
Ign RUN and START Bus Bar
Figure 26:

ECM I Fuse


Object Number: 670708  Size: FS
Master Electrical Component List
Power Seats, Power Windows Circuit Breakers and RAP Relay
ENG I and OXYGEN Fuses
Ign RUN and START Bus Bar
Figure 27:

Power Seats, Power Windows Circuit Breakers and RAP Relay


Object Number: 670712  Size: FS
Master Electrical Component List
RDO IGN and STR WHL RDO IGN Fuses
ECM I Fuse
Ign ACC, RUN and RAP Bus Bar
Figure 28:

RDO IGN and STR WHL RDO IGN Fuses


Object Number: 670714  Size: FS
Master Electrical Component List
RR WPR, FRT WPR and ABS Fuses
Power Seats, Power Windows Circuit Breakers and RAP Relay
Figure 29:

RR WPR, FRT WPR and ABS Fuses


Object Number: 670716  Size: FS
Master Electrical Component List
HVAC I Fuse
RDO IGN and STR WHL RDO IGN Fuses
Figure 30:

HVAC I Fuse


Object Number: 670720  Size: FS
Master Electrical Component List
4WD Fuse (4.3 L)
RR WPR, FRT WPR and ABS Fuses
Ign ACC, RUN and RAP Bus Bar
Figure 31:

4WD Fuse (4.3 L)


Object Number: 670722  Size: FS
Master Electrical Component List
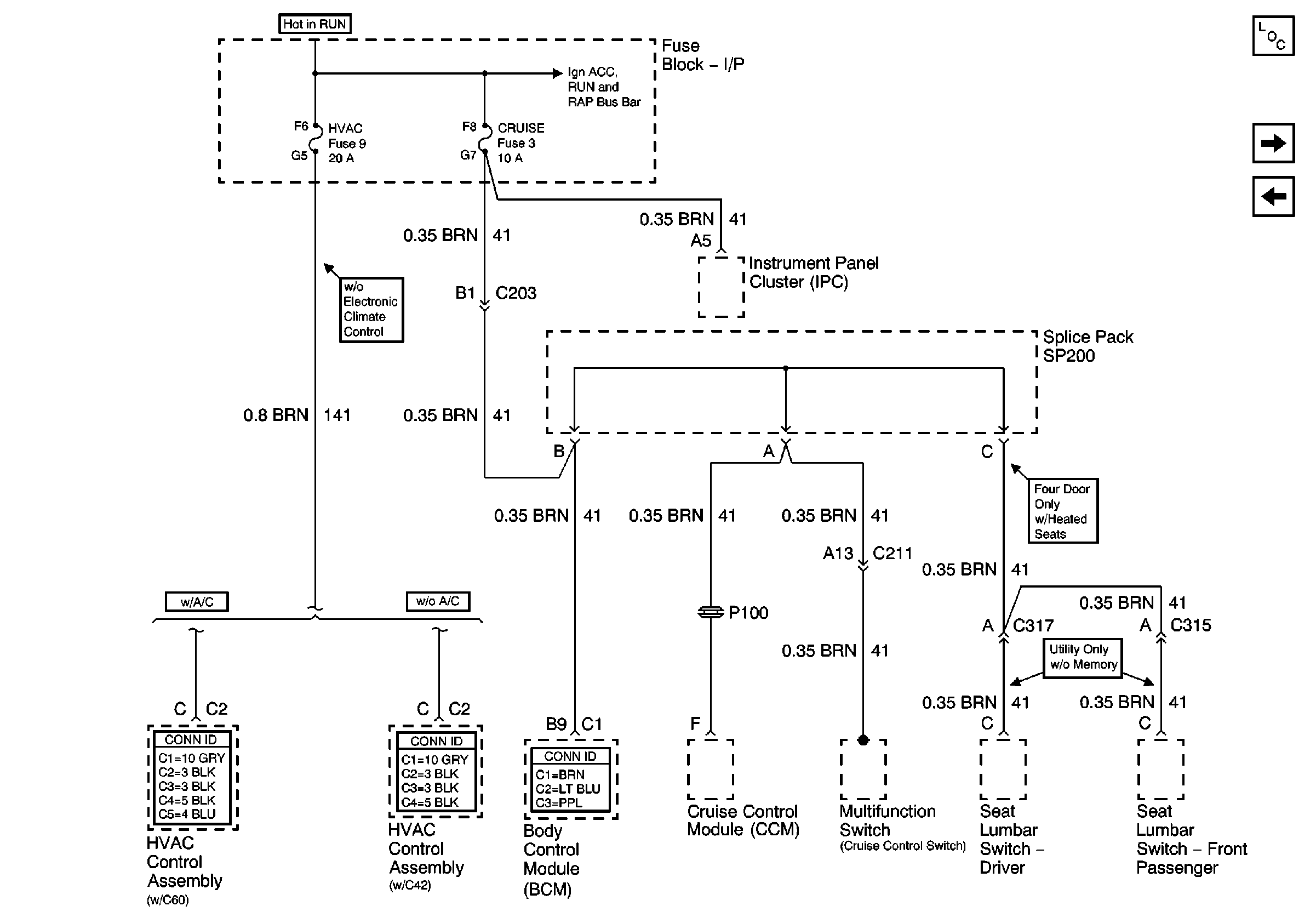
HVAC and CRUISE Fuses
HVAC I Fuse
Ign ACC, RUN and RAP Bus Bar
Figure 32:

HVAC and CRUISE Fuses


Object Number: 670724  Size: FS
Master Electrical Component List
VECHMSL, TRCHMSL Fuses and CHMSL Relay
4WD Fuse (4.3 L)
Ign ACC, RUN and RAP Bus Bar
Figure 33:

VECHMSL, TRCHMSL Fuses and CHMSL Relay


Object Number: 670729  Size: FS
Master Electrical Component List
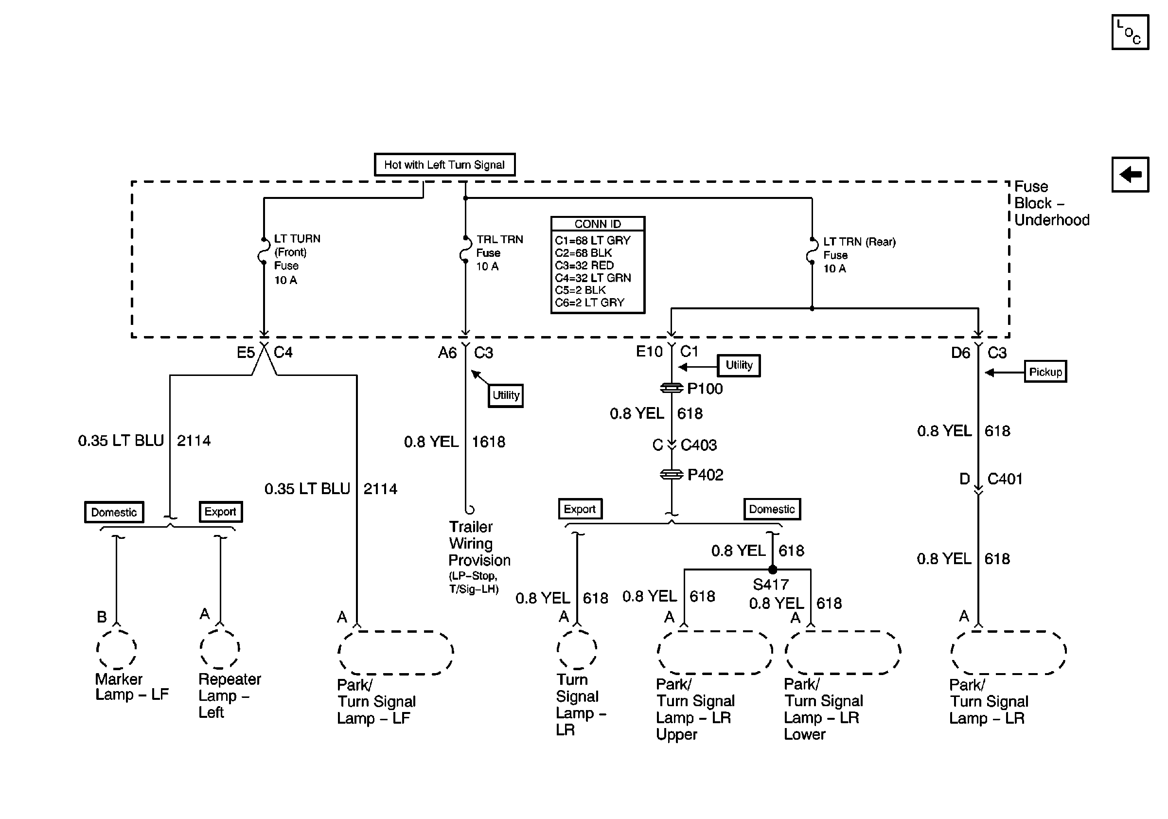
RT TURN, RT TRN and TRR TRN Fuses
HVAC and CRUISE Fuses
Figure 34:

RT TURN, RT TRN and TRR TRN Fuses


Object Number: 670737  Size: FS
Master Electrical Component List
LT TURN, LT TRN and TRL TRN Fuses
VECHMSL, TRCHMSL Fuses and CHMSL Relay
Figure 35:

LT TURN, LT TRN and TRL TRN Fuses


Object Number: 670741  Size: FS
Master Electrical Component List
RT TURN, RT TRN and TRR TRN Fuses