GM Service Manual Online
For 1990-2009 cars only

DTC P1810 TFP Valve Position Switch Circuit 2.2L

Table 1: TFP Manual Valve Position Switch Logic
Table 2: DTC P1810 Automatic Transmission Fluid Pressure Manual Valve Position Switch (TFP Val. Position Sw.) Circuit Malfunction

Object Number: 42332  Size: LF
Automatic Transmission Components 2.2L
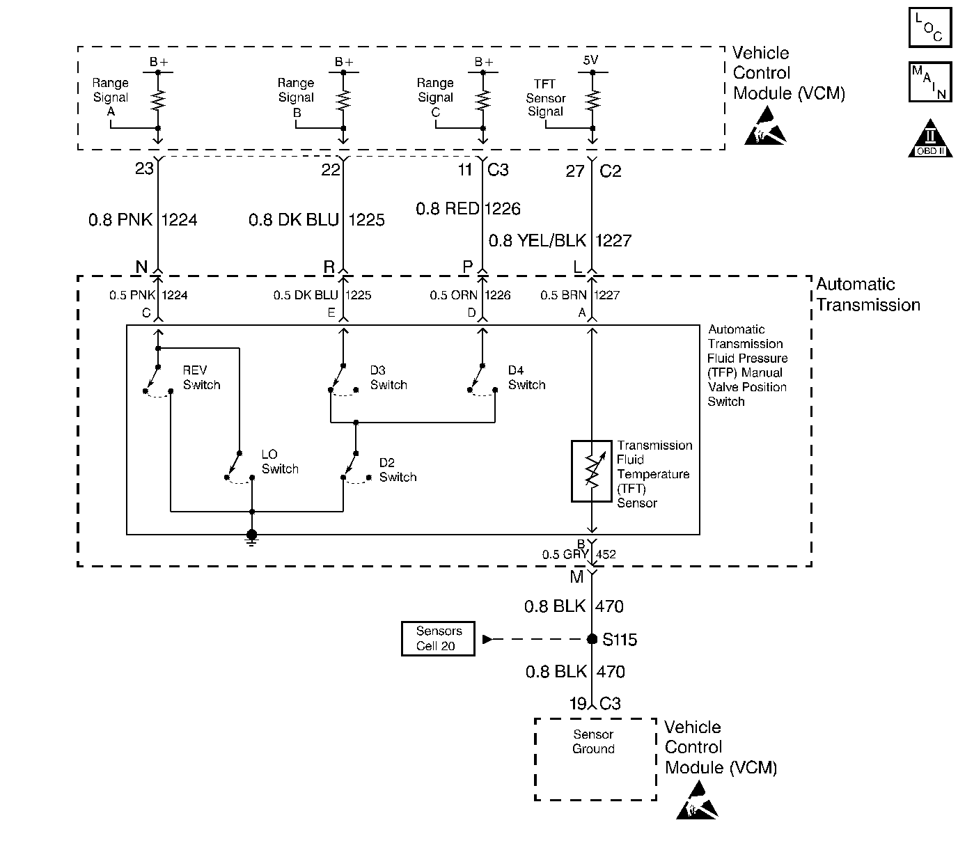
Automatic Transmission Controls Schematics 2.2L
OBD II Symbol Description Notice
Handling ESD Sensitive Parts Notice
Handling ESD Sensitive Parts Notice

Circuit Description

The Automatic Transmission Fluid Pressure Manual Valve Position Switch (TFP Val. Position Sw.) consists of five pressure switches (two normally-closed and three normally-open), and a Transmission Fluid Temperature (TFT) sensor combined into one unit. The combined unit mounts on the valve body.

The PCM supplies the battery voltage for each range signal. By grounding one or more of the circuits through various combinations of the pressure switches, the PCM detects which manual valve position you select. The PCM compares the actual voltage combination of the switches to a TFP Val. Position Sw. combination chart stored in memory.

The TFP Val. Position Sw. cannot distinguish between Park and Neutral because the monitored valve body pressures are identical. With the engine OFF, and the ignition switch in the RUN position, the TFP Val. Position Sw. indicates Park/Neutral. Disconnecting the transmission 20-way connector removes the ground potential for the three range signals to the PCM. In this case, with the engine OFF, and the ignition switch in the RUN position, D2 will be indicated.

When the PCM detects an invalid state of the TFP Val. Position Sw. or the TFP Val. Position Sw. circuit by deciphering the TFP Val. Position Sw. inputs, then DTC P1810 sets. DTC P1810 is a type B DTC.

Conditions for Setting the DTC

DTC P1810 sets if any of the following Conditions occurs two consecutive times:

Condition 1:

    • (This condition detects an illegal switch combination).
    • The system voltage is 10-17 volts.
    • The engine is running.
    • The PCM detects an illegal TFP Val. Position Sw. state.
    • All conditions met for 5 seconds

Condition 2:

    • (This condition detects D2, D4, or Rev during an engine start).
    • No VSS Assy. DTC P0502
    • The system voltage is 10-17 volts.
    • The engine speed is less than 100 RPM for 0.2 second; then
        the engine speed is 100-600 RPM for 0.3 second; then
        the engine speed is greater than 600 RPM for 4 seconds, and the vehicle speed is less than 8 km/h (5 mph).
    • The detected gear range is D2, D4, or Rev.
    • All conditions met for 4 seconds

Condition 3:

    • (This condition detects P/N when the vehicle should be in D4).
    • No VSS Assy. DTC P0502
    • The selected gear range is D4.
    • The engine speed is less than 2000 RPM.
    • The speed ratio is 0.39-0.8 (the speed ratio is the engine speed divided by the transmission output speed).
    • The engine vacuum is 35-70 kPa.
    • The TCC is locked ON.
    • The detected gear range is Park/Neutral.
    • All conditions met for 5 seconds

Action Taken When the DTC Sets

    • The PCM commands D2 line pressure.
    • The PCM commands a D4 shift pattern.
    • The PCM freezes shift adapts from being updated.
    • The PCM illuminates the Malfunction Indicator Lamp (MIL).

Conditions for Clearing the MIL/DTC

    • The PCM turns OFF the MIL after three consecutive ignition cycles without a failure reported.
    • A scan tool can clear the DTC from the PCM history. The PCM clears the DTC from the PCM history if the vehicle completes 40 warm-up cycles without a failure reported.
    • The PCM cancels the DTC default actions when the fault no longer exists and the ignition is OFF long enough in order to power down the PCM.

Diagnostic Aids

    • Refer to the TFP Val. Position Sw. Logic Table for the normal range signals and the illegal combinations.
    • Inspect the wiring for poor electrical connections at the PCM. Inspect the wiring for poor electrical connections at the transmission 20-way connector. Look for the following conditions:
       - A bent terminal
       - A backed out terminal
       - A damaged terminal
       - Poor terminal tension
       - A chafed wire
       - A broken wire inside the insulation
    • When diagnosing for an intermittent short or open condition, massage the wiring harness while watching the test equipment for a change.
    • Refer to Automatic Transmission Fluid Pressure Manual Valve Position Switch Resistance Check or Functional Test Procedure for further information.

TFP Manual Valve Position Switch Logic

Gear Position

Range Signal A

Range Signal B

Range Signal C

Park

OFF

ON

OFF

Reverse

ON

ON

OFF

Neutral

OFF

ON

OFF

D4

OFF

ON

ON

D3

OFF

OFF

ON

D2

OFF

OFF

OFF

D1

ON

OFF

OFF

Illegal

ON

OFF

ON

Illegal

ON

ON

ON

Test Description

The numbers below refer to the step numbers on the diagnostic chart.

  1. This step tests the indicated range signal to the manual valve actually selected.

  2. This step tests for correct voltage from the PCM to the transmission 20-way connector.

DTC P1810 Automatic Transmission Fluid Pressure Manual Valve Position Switch (TFP Val. Position Sw.) Circuit Malfunction

Step

Action

Value(s)

Yes

No

1

Was the Powertrain On-Board Diagnostic (OBD) System Check performed?

--

Go to Step 2

Go to Powertrain On Board Diagnostic (OBD) System Check

2

Perform the following inspections:

    • Ensure that the transmission linkage from the select lever to the manual valve is adjusted properly.
    • Perform the fluid checking procedure.

Did you perform the inspections?

--

Go to Step 3

--

3

  1. Install the scan tool (tech 1) ®.
  2. With the engine OFF, turn the ignition switch to the RUN position.
  3. Important: Before clearing the DTCs, use the scan tool in order to record the Freeze Frame and Failure Records for reference. The Clear Info function will erase the data.

  4. Record the DTC Freeze Frame and Failure Records.
  5. While the engine is idling at normal operating temperature, apply the parking brake.
  6. Select each transmission range: P, R, N, D4, D3, D2, and D1.

Does each selected transmission range match the scan tool TFP Switch A/B/C display?

(Refer to the TFP Val. Position Sw. Logic Table.)

--

Go to Diagnostic Aids

Go to Step 4

4

  1. Turn the ignition OFF.
  2. Disconnect the transmission 20-way connector (additional DTCs may set).
  3. Install the J 39775 Jumper Harness on the engine side of the transmission 20-way connector .
  4. With the engine OFF, turn the ignition switch to the RUN position.
  5. Using the J 39200 DVOM and J 35616-A Connector Test Adapter Kit, check the voltage at connector terminals N, R, and P.

Is B+ displayed on all three circuits?

--

Go to Step 6

Go to Step 5

5

  1. Inspect the circuits that did not indicate B+ for an open or short to ground.
  2. Repair the circuits if necessary.

Refer to Electrical Diagnosis, Section 8.

Did you find a problem?

--

Go to Step 9

Go to Step 7

6

In order to verify that circuit 1224, circuit 1225, and circuit 1226 are not shorted together, use a fused jumper to ground on each circuit while monitoring the scan tool TFP Switch A/B/C display.

When a range signal circuit is grounded, are any other range signal circuits affected?

--

Go to Step 8

Refer to the Pressure Switch Assembly Resistance Check

7

Replace the PCM.

Refer to Powertrain Control Module Replacement/Programming , Section 6.

Is the replacement complete?

--

Go to Step 9

--

8

Repair the affected wiring as necessary.

Refer to Electrical Diagnosis, Section 8.

Is the repair complete?

--

Go to Step 9

--

9

In order to verify your repair, perform the following procedure:

  1. Select DTC.
  2. Select Clear Info.
  3. Operate the vehicle under the following conditions:
  4. 3.1. With the engine OFF, turn the ignition switch to the RUN position for at least 2 seconds.
    3.2. Start the vehicle and idle for 5 seconds.
    3.3. Drive in D4 until the TCC locks for 20 seconds.
  5. Select Specific DTC. Enter DTC P1810.

Has the test run and passed?

--

System OK

Begin the diagnosis again. Go to Step 1

DTC P1810 TFP Valve Position Switch Circuit 4.3L

Table 1: TFP Manual Valve Position Switch Logic
Table 2: DTC P1810 Automatic Transmission Fluid Pressure Manual Valve Position Switch (TFP Val. Position Sw.) Circuit Malfunction

Object Number: 42333  Size: LF
Automatic Transmission Components 4.3L
Automatic Transmission Controls Schematics 4.3L
OBD II Symbol Description Notice
Handling ESD Sensitive Parts Notice
Handling ESD Sensitive Parts Notice

Circuit Description

The Automatic Transmission Fluid Pressure Manual Valve Position Switch (TFP Val. Position Sw.) consists of five pressure switches (two normally-closed and three normally-open), and a Transmission Fluid Temperature (TFT) sensor combined into one unit. The combined unit mounts on the valve body. The VCM supplies the battery voltage for each range signal. By grounding one or more of these circuits through various combinations of the pressure switches, the VCM detects which manual valve position you select. The VCM compares the actual voltage combination of the switches to a TFP Val. Position Sw. combination chart stored in memory.

The TFP Val. Position Sw. cannot distinguish between Park and Neutral because the monitored valve body pressures are identical. With the ignition switch in the RUN position and the engine OFF, The TFP Val. Position Sw. indicates Park/Neutral. Disconnecting the transmission 20-way connector removes the ground potential for the three range signals to the VCM. In this case, with the engine OFF, and the ignition switch in the RUN position, D2 will be indicated.

When the VCM detects an invalid state of the TFP Val. Position Sw. or the TFP Val. Position Sw. circuit by deciphering the TFP Val. Position Sw. inputs, then DTC P1810 sets. DTC P1810 is a type B DTC.

Conditions for Setting the DTC

DTC P1810 sets if any of the following fail cases occurs two consecutive times:

Case 1:

    • (This condition detects an illegal switch combination).
    • The system voltage is 10-17 volts.
    • The engine is running.
    • The VCM detects an illegal TFP Val. Position Sw. state.
    • All conditions met for 5 seconds

Case 2:

    • (This condition detects D2, D4, or Rev during an engine start).
    • No VSS Assy. DTC P0502
    • The system voltage is 10-17 volts.
    • The engine speed is less than 80 RPM for 0.1 second; then
        the engine speed is 80-600 RPM for 0.1 second; then
        the engine speed is greater than 600 RPM.
    • The vehicle speed is less than 3 km/h (2 mph).
    • The detected gear range is D2, D4, or Rev.
    • All conditions met for 5 seconds

Case 3:

    • (This condition detects Park or Neutral when the vehicle should be in D4).
    • No VSS Assy. DTC P0502
    • The speed ratio is 0.6-0.7 (speed ratio is engine speed divided by transmission output speed).
    • The TCC is locked ON.
    • The detected gear range is Park or Neutral.
    • All conditions met for 24 seconds

Action Taken When the DTC Sets

    • The VCM commands D2 line pressure.
    • The VCM commands a D4 shift pattern.
    • The VCM freezes shift adapts from being updated.
    • The VCM illuminates the Malfunction Indicator Lamp (MIL).

Conditions for Clearing the MIL/DTC

    • The VCM turns OFF the MIL after three consecutive ignition cycles without a failure reported.
    • A scan tool can clear the DTC from the VCM history. The VCM clears the DTC from the VCM history if the vehicle completes 40 warm-up cycles without a failure reported.
    • The VCM cancels the DTC default actions when the fault no longer exists and the ignition is OFF long enough in order to power down the VCM.

Diagnostic Aids

    • Refer to TFP Val. Position Sw. Logic table for the normal range signals and the illegal combinations. On the chart, ON is 0 volts, OFF is B+.
    • Inspect the wiring for poor electrical connections at the VCM. Inspect the wiring for poor electrical connections at the transmission 20-way connector. Look for the following conditions:
      • A bent terminal
      • A backed out terminal
      • A damaged terminal
      • Poor terminal tension
      • A chafed wire
      • A broken wire inside the insulation
    • When diagnosing for an intermittent short or open condition, massage the wiring harness while watching the test equipment for a change.
    • Refer to Automatic Transmission Fluid Pressure Manual Valve Position Switch Resistance Check or Functional Test Procedure for further information.

TFP Manual Valve Position Switch Logic

Gear Position

Range Signal A

Range Signal B

Range Signal C

Park

OFF

ON

OFF

Reverse

ON

ON

OFF

Neutral

OFF

ON

OFF

D4

OFF

ON

ON

D3

OFF

OFF

ON

D2

OFF

OFF

OFF

D1

ON

OFF

OFF

Illegal

ON

OFF

ON

Illegal

ON

ON

ON

Test Description

The numbers below refer to the step numbers on the diagnostic table.

  1. This step compares the indicated range signal to the selected manual valve.

  2. This step tests for correct voltage from the VCM to the transmission 20-way connector.

DTC P1810 Automatic Transmission Fluid Pressure Manual Valve Position Switch (TFP Val. Position Sw.) Circuit Malfunction

Step

Action

Value(s)

Yes

No

1

Was the Powertrain On-Board Diagnostic (OBD) System Check performed?

--

Go to Step 2

Go to Powertrain On Board Diagnostic (OBD) System Check

2

Perform the following inspections:

    • Ensure the transmission linkage from the select lever to the manual valve is adjusted properly.
    • Perform the fluid checking procedure.

Did you perform the inspections?

--

Go to Step 3

--

3

  1. Install the scan tool (tech 1) ®.
  2. With the engine OFF, turn the ignition switch to the RUN position.
  3. Important: Before clearing the DTCs, use the scan tool in order to record the Freeze Frame and Failure Records for reference. The Clear Info function will erase the data.

  4. Record the DTC Freeze Frame and Failure Records.
  5. While the engine is idling at the normal operating temperature, apply the brake pedal.
  6. Select each transmission range: P, R, N, D4, D3, D2, and D1.

Does each selected transmission range match the scan tool TFP Switch A/B/C display?

(Refer to TFP Val. Position Sw. Logic table.)

--

Go to Diagnostic Aids

Go to Step 4

4

  1. Turn the ignition OFF.
  2. Disconnect the transmission 20-way connector (additional DTCs may set).
  3. Install the J 39775 Jumper Harness on the engine side of the transmission 20-way connector .
  4. With the engine OFF, turn the ignition switch to the RUN position.
  5. Using the J 39200 DVOM and J 35616-A Connector Test Adapter Kit, check the voltage at connector terminals N, R, and P.

Is B+ displayed on all three circuits?

--

Go to Step 6

Go to Step 5

5

Inspect the circuits that did not indicate B+ for an open or short to ground.

Refer to Electrical Diagnosis, Section 8.

Did you find a problem?

--

Go to Step 9

Go to Step 7

6

To verify that circuits 1224, 1225, and 1226 are not shorted together, use a fused jumper to ground on each circuit while monitoring the scan tool TFP Switch A/B/C display.

When a range signal circuit is grounded, are any other range signal circuits affected?

--

Go to Step 8

Refer to Pressure Switch Assembly Resistance Check

7

Replace the VCM.

Refer to VCM Replacement/Programming , Section 6.

Is the replacement complete?

--

Go to Step 9

--

8

Repair the affected wiring as necessary.

Refer to Electrical Diagnosis, Section 8.

Is the repair complete?

--

Go to Step 9

--

9

In order to verify your repair, perform the following procedure:

  1. Select DTC.
  2. Select Clear Info.
  3. Operate the vehicle under the following conditions:
  4. 3.1. With the engine OFF, turn the ignition switch to the RUN position for at least 2 seconds.
    3.2. Start the vehicle and idle for 5 seconds.
    3.3. Drive in D4 until the TCC locks for 20 seconds.
  5. Select Specific DTC. Enter DTC P1810.

Has the test run and passed?

--

System OK

Begin the diagnosis again. Go to Step 1