GM Service Manual Online
For 1990-2009 cars only

DTC P1886 3-2 SS Valve Assembly CKT Electrical 2.2L


Object Number: 42350  Size: MF
Automatic Transmission Components 2.2L
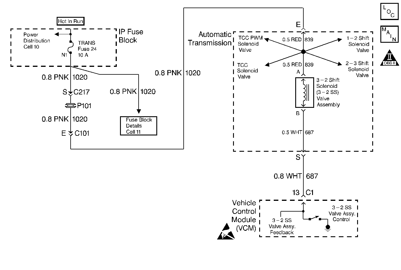
Automatic Transmission Controls Schematics 2.2L
OBD II Symbol Description Notice
Handling ESD Sensitive Parts Notice

Circuit Description

The 3-2 Shift Solenoid Valve Assembly (3-2 SS Valve Assy.) is a normally-closed, 3-port, on/off device that controls the 3-2 downshift. The solenoid attaches to the control valve body within the transmission. The solenoid receives ignition voltage through circuit 1020. The PCM controls the solenoid by providing a ground path on circuit 687. During a 3-2 downshift, the 2-4 band applies as the 3-4 clutch releases. The PCM varies the timing between the 3-4 clutch release and the 2-4 band apply depending on the vehicle speed and the throttle position.

When the PCM detects a continuous open or short to ground in the 3-2 SS Valve Assy. circuit or the 3-2 SS Valve Assy., then DTC P1886 sets. DTC P1886 is a type A DTC.

Conditions for Setting the DTC

    • The system voltage is 10-17 volts.
    • The engine is running.
    • All of the above conditions are met for 5 seconds, and either of the following fail conditions occurs for 5 seconds:
       - The PCM commands the solenoid ON and the voltage remains high (B+).
       - The PCM commands the solenoid OFF and the voltage remains low (0 volts).

Action Taken When the DTC Sets

    • The PCM commands a soft landing to third gear.
    • The PCM commands maximum line pressure.
    • The PCM freezes shift adapts from being updated.
    • The PCM inhibits TCC engagement.
    • The PCM inhibits fourth gear if the transmission is in hot mode.
    • The PCM illuminates the Malfunction Indicator Lamp (MIL).

Conditions for Clearing the MIL/DTC

    • The PCM turns OFF the MIL after three consecutive ignition cycles without a failure reported.
    • A scan tool can clear the DTC from the PCM history. The PCM clears the DTC from the PCM history if the vehicle completes 40 warm-up cycles without a failure reported.
    • The PCM cancels the DTC default actions when the fault no longer exists and the ignition is OFF long enough in order to power down the PCM.

Diagnostic Aids

    • Inspect the wiring for poor electrical connections at the PCM. Inspect the wiring for poor electrical connections at the transmission 20-way connector. Look for the following conditions:
       - A bent terminal
       - A backed out terminal
       - A damaged terminal
       - Poor terminal tension
       - A chafed wire
       - A broken wire inside the insulation
    • When diagnosing for an intermittent short or open condition, massage the wiring harness while watching the test equipment for a change.

Test Description

The numbers below refer to the step numbers on the diagnostic chart.

  1. This step tests the ability of the PCM to control the solenoid.

  2. This step tests for power to the 3-2 SS Valve Assy.

  3. This step tests the ability of the PCM and wiring to control the ground circuit.

  4. This step tests the resistance of the Automatic Transmission Wiring Harness Assembly and the 3-2 SS Valve Assy.

DTC P1886 3-2 Shift Solenoid Valve Assembly (3-2 SS Valve Assy.) Circuit - Electrical

Step

Action

Value(s)

Yes

No

1

Was the Powertrain On-Board Diagnostic (OBD) System Check performed?

--

Go to Step 2

Go to Powertrain On Board Diagnostic (OBD) System Check

2

  1. Install the scan tool (tech 1) ®.
  2. With the engine OFF, turn the ignition switch to the RUN position.
  3. Important:: Before clearing the DTCs, use the scan tool in order to record the Freeze Frame and Failure Records for reference. The Clear Info function will erase the data.

  4. Record the DTC Freeze Frame and Failure Records.

Were DTCs P0753, P0758, P1860, and P1864 also set?

--

Go to Step 3

Go to Step 4

3

  1. Inspect the TRANS fuse.
  2. If the fuse is open, inspect circuit 1020, the solenoid, and the Automatic Transmission Wiring Harness Assembly for a short to ground. Repair the circuit, the solenoid, and the harness if necessary.

Refer to Electrical Diagnosis, Section 8.

Did you find and correct a problem?

--

Go to Step 16

--

4

Command the 3-2 SS Valve Assy. ON and OFF three times, while listening to the bottom of the transmission pan (a stethoscope may be necessary).

Does the solenoid click when commanded?

--

Go to Diagnostic Aids

Go to Step 5

5

  1. Turn the ignition OFF.
  2. Disconnect the transmission 20-way connector (additional DTCs will be set).
  3. Install the J 39775 Jumper Harness on the engine harness connector .
  4. With the engine OFF, turn the ignition switch to the RUN position.
  5. Connect a test lamp from J 39775 Jumper Harness connector cavity E to ground.

Is the test lamp ON?

--

Go to Step 7

Go to Step 6

6

Repair the open or short to ground in ignition feed circuit 1020 to the 3-2 SS Valve Assy.

Refer to Electrical Diagnosis, Section 8.

Is the repair complete?

--

Go to Step 16

--

7

  1. Install a test lamp from cavity E to cavity S of the J 39775 Jumper Harness connector .
  2. Command the 3-2 SS Valve Assy. ON and OFF three times.

Is the test lamp ON when the solenoid is commanded ON, and OFF when the solenoid is commanded OFF?

--

Go to Step 9

Go to Step 8

8

  1. Inspect circuit 687 for an open or short to ground.
  2. Repair the circuit if necessary.

Refer to Electrical Diagnosis, Section 8.

Did you find a problem?

--

Go to Step 16

Go to Step 10

9

  1. Install the J 39775 Jumper Harness on the (Connector End View ) 20-way connector.
  2. Using the J 39200 DVOM and J 35616-A Connector Test Adapter Kit, measure the resistance between terminal E and terminal S.

Is the resistance within the specified range?

20-32ohms

Go to Step 12

Go to Step 11

10

Replace the PCM.

Refer to Powertrain Control Module Replacement/Programming , Section 6.

Is the replacement complete?

--

Go to Step 16

--

11

  1. Disconnect the Automatic Transmission Wiring Harness Assembly from the 3-2 SS Valve Assy.
  2. Measure the resistance of the 3-2 SS Valve Assy.

Is the resistance within the specified range?

20-32ohms

Go to Step 14

Go to Step 15

12

Measure the resistance between terminal S and ground, and between terminal E and ground.

Are both measurements greater than the specified value?

250kohms

Go to Diagnostic Aids

Go to Step 13

13

  1. Disconnect the Automatic Transmission Wiring Harness Assembly from the 3-2 SS Valve Assy.
  2. Measure the resistance from the component's terminals to ground.

Are both measurements greater than the specified value?

250kohms

Go to Step 14

Go to Step 15

14

Replace the A/T Wiring Harness Assy.

Refer to Automatic Transmission Wiring Harness Assembly Replacement, in On-Vehicle Service.

Is the replacement complete?

--

Go to Step 16

--

15

Replace the 3-2 SS Valve Assy.

Refer to 3-2 Shift Solenoid Valve Assembly Replacement, in On-Vehicle Service.

Is the replacement complete?

--

Go to Step 16

--

16

In order to verify your repair, perform the following procedure:

  1. Select DTC.
  2. Select Clear Info.
  3. Operate the vehicle under the following conditions:
  4. • The PCM commands the 3-2 SS Valve Assy. ON and the voltage drops to zero.
    • The PCM commands the 3-2 SS Valve Assy. OFF and the voltage increases to B+.
    • All conditions are met for 5 seconds.
  5. Select Specific DTC. Enter DTC P1886.

Has the test run and passed?

--

System OK

Begin the diagnosis again. Go to Step 1

DTC P1886 3-2 SS Valve Assembly CKT Electrical 4.3L


Object Number: 42351  Size: MF
Automatic Transmission Components 4.3L
Automatic Transmission Controls Schematics 4.3L
OBD II Symbol Description Notice
Handling ESD Sensitive Parts Notice

Circuit Description

The 3-2 Shift Solenoid Valve Assembly (3-2 SS Valve Assy.) is a normally-closed, 3-port, on/off device that controls the 3-2 downshift. The solenoid attaches to the control valve body within the transmission. The solenoid receives ignition voltage through circuit 1020. The VCM controls the solenoid by providing a ground path on circuit 687. During a 3-2 downshift, the 2-4 band applies as the 3-4 clutch releases. The VCM varies the timing between the 3-4 clutch release and the 2-4 band apply depending on the vehicle speed and the throttle position.

When the VCM detects a continuous open or short to ground in the 3-2 SS Valve Assy. circuit or the 3-2 SS Valve Assy, then DTC P1886 sets. DTC P1886 is a type A DTC.

Conditions for Setting the DTC

    • The system voltage is 10-17 volts.
    • The engine is running.
    • All of the above conditions are met for 5 seconds, and either of the following fail conditions occurs for 5 seconds:
       - The VCM commands the solenoid ON and the voltage remains high (B+).
       - The VCM commands the solenoid OFF and the voltage remains low (0 volts).

Action Taken When the DTC Sets

    • The VCM commands a soft landing to third gear.
    • The VCM commands maximum line pressure.
    • The VCM freezes shift adapts from being updated.
    • The VCM inhibits TCC engagement.
    • The VCM inhibits 4th gear if the transmission is in hot mode.
    • The VCM illuminates the Malfunction Indicator Lamp (MIL).

Conditions for Clearing the MIL/DTC

    • The VCM turns OFF the MIL after three consecutive ignition cycles without a failure reported.
    • A scan tool can clear the DTC from the VCM history. The VCM clears the DTC from the VCM history if the vehicle completes 40 warm-up cycles without a failure reported.
    • The VCM cancels the DTC default actions when the fault no longer exists and the ignition is OFF long enough in order to power down the VCM.

Diagnostic Aids

    • Inspect the wiring for poor electrical connections at the VCM. Inspect the wiring for poor electrical connections at the transmission 20-way connector. Look for the following conditions:
      • A bent terminal
      • A backed out terminal
      • A damaged terminal
      • Poor terminal tension
      • A chafed wire
      • A broken wire inside the insulation
    • When diagnosing for an intermittent short or open condition, massage the wiring harness while watching the test equipment for a change.

Test Description

The item numbers below refer to the step numbers on the diagnostic table.

  1. This step tests the ability of the VCM to control the solenoid.

  2. This step tests for voltage to the solenoid.

  3. This step tests the ability of the VCM and the wiring to control the ground circuit.

  4. This step measures the resistance of the Automatic Transmission Wiring Harness Assembly, and the 3-2 SS Valve Assy.

DTC P1886 3-2 Shift Solenoid Valve Assembly (3-2 SS Valve Assy.) Circuit - Electrical

Step

Action

Value(s)

Yes

No

1

Were you sent here from the Powertrain On-Board Diagnostic (OBD) System Check?

--

Go to Step 2

Go to Powertrain On Board Diagnostic (OBD) System Check

2

  1. Install the scan tool (tech 1) ®.
  2. With the engine OFF, turn the ignition switch to the RUN position.
  3. Important: Before clearing the DTCs, use the scan tool in order to record the Freeze Frame and Failure Records for reference. The Clear Info function will erase the data.

  4. Record the DTC Freeze Frame and Failure Records.

Are DTCs P0753, P0758, P1860, and P1864 also set?

--

Go to Step 3

Go to Step 4

3

  1. Inspect the TRANS fuse.
  2. If the fuse is open, inspect the following components for a short to ground.
  3. Refer to Electrical Diagnosis, Section 8.

    • Circuit 1020
    • The solenoid
    • The Automatic Transmission Wiring Harness Assembly
  4. Repair the circuit, the solenoid, and the harness if necessary.

Did you find and correct a problem?

--

Go to Step 16

--

4

Command the 3-2 SS Valve Assy. ON and OFF three times, while listening to the bottom of the transmission pan (a stethoscope may be necessary).

Does the solenoid click when commanded?

--

Go to Diagnostic Aids

Go to Step 5

5

  1. Turn the ignition OFF.
  2. Disconnect the transmission 20-way connector (additional DTCs will set).
  3. Install the J 39775 Jumper Harness on the engine harness connector .
  4. With the engine OFF, turn the ignition switch to the RUN position.
  5. Connect a test lamp from J 39775 Jumper Harness cavity E to ground.

Does the test lamp illuminate?

--

Go to Step 7

Go to Step 6

6

Repair the open or short to ground in ignition feed circuit 1020 to the 3-2 SS Valve Assy.

Refer to Electrical Diagnosis, Section 8.

Is the repair complete?

--

Go to Step 16

--

7

  1. Install a test lamp between cavity E and cavity S of the J 39775 Jumper Harness.
  2. Command the 3-2 SS Valve Assy. ON and OFF three times.

Does the test lamp illuminate when you command the shift solenoid ON, and turn OFF when you command OFF?

--

Go to Step 9

Go to Step 8

8

  1. Inspect circuit 687 for an open or short to ground.
  2. Repair the circuit if necessary.

Refer to Electrical Diagnosis, Section 8.

Did you find a problem?

--

Go to Step 16

Go to Step 10

9

  1. Install the J 39775 Jumper Harness on the (Connector End View ) 20-way connector.
  2. Using the J 39200 DVOM and J 35616-A Connector Test Adapter Kit, measure the resistance between the terminal E and terminal S of the J 39775 Jumper Harness.

Is the resistance within the specified range?

20-32ohms

Go to Step 12

Go to Step 11

10

Replace the VCM.

Refer to VCM Replacement/Programming , Section 6.

Is the replacement complete?

--

Go to Step 16

--

11

  1. Disconnect the Automatic Transmission Wiring Harness Assembly from the 3-2 SS Valve Assy.
  2. Measure the resistance of the 3-2 SS Valve Assy.

Is the resistance within the specified range?

20-32ohms

Go to Step 14

Go to Step 15

12

    • Measure the resistance between terminal S and ground.
    • Measure the resistance between terminal E and ground.

Are both measurements greater than the specified value?

250kohms

Go to Diagnostic Aids

Go to Step 13

13

  1. Disconnect the Automatic Transmission Wiring Harness Assembly from the 3-2 SS Valve Assy.
  2. Measure the resistance between the component's terminals and ground.

Are both readings greater than the specified value?

250kohms

Go to Step 14

Go to Step 15

14

Replace the A/T Wiring Harness Assy.

Refer to Automatic Transmission Wiring Harness Assembly Replacement, in On-Vehicle Service.

Is the replacement complete?

--

Go to Step 16

--

15

Replace the 3-2 SS Valve Assy. Refer to 3-2 Shift Solenoid Valve Assembly Replacement, in On-Vehicle Service.

Is the replacement complete?

--

Go to Step 16

--

16

In order to verify your repair, perform the following procedure:

  1. Select DTC.
  2. Select Clear Info.
  3. Operate the vehicle. Ensure that the following conditions are met:
  4. • The VCM commands the 3-2 shift solenoid ON, and the voltage drops to zero.
    • The VCM commands the 3-2 shift solenoid OFF, and the voltage increases to B+.
    • All conditions are met for 5 seconds.
  5. Select Specific DTC. Enter DTC P1886.

Has the test run and passed?

--

System OK

Begin the diagnosis again. Go to Step 1