GM Service Manual Online
For 1990-2009 cars only
Makes
🢒
Chevrolet
🢒
1999
🢒
S10 Pickup - 4WD
🢒 Cell 20: Automatic Transmission Valve Controls
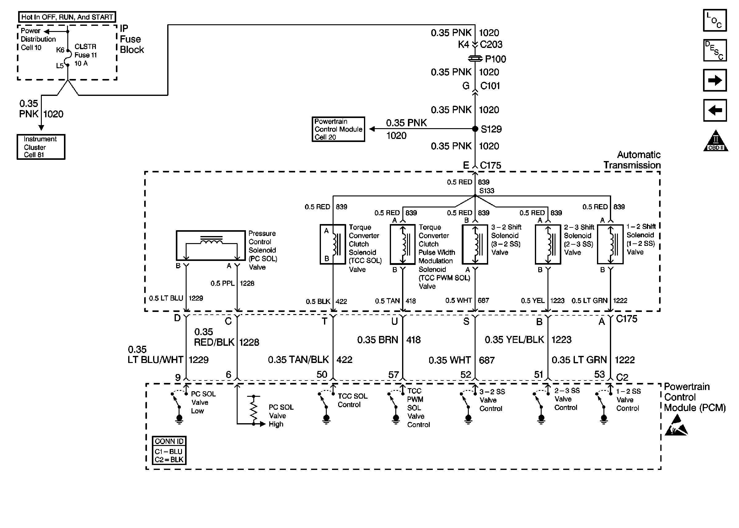
Cell 20: Automatic Transmission Valve Controls
Cell 20: Automatic Transmission Valve Controls
Cell 10: CRANK and CLSTR Fuses
Cell 81: ILLUM, CLSTR and GAUGES Fuses and Instrument Cluster
Cell 20: Power, Grounding, Generator and MIL
Powertrain Control Module Connector End Views
Handling ESD Sensitive Parts Notice
Engine Controls Components
Powertrain Control Module Description
Cell 20: Automatic Transmission Switch Inputs
Cell 20: Brake Switch Input
OBD II Symbol Description Notice