GM Service Manual Online
For 1990-2009 cars only
Makes
🢒
Chevrolet
🢒
2004
🢒
S10 Pickup - 4WD
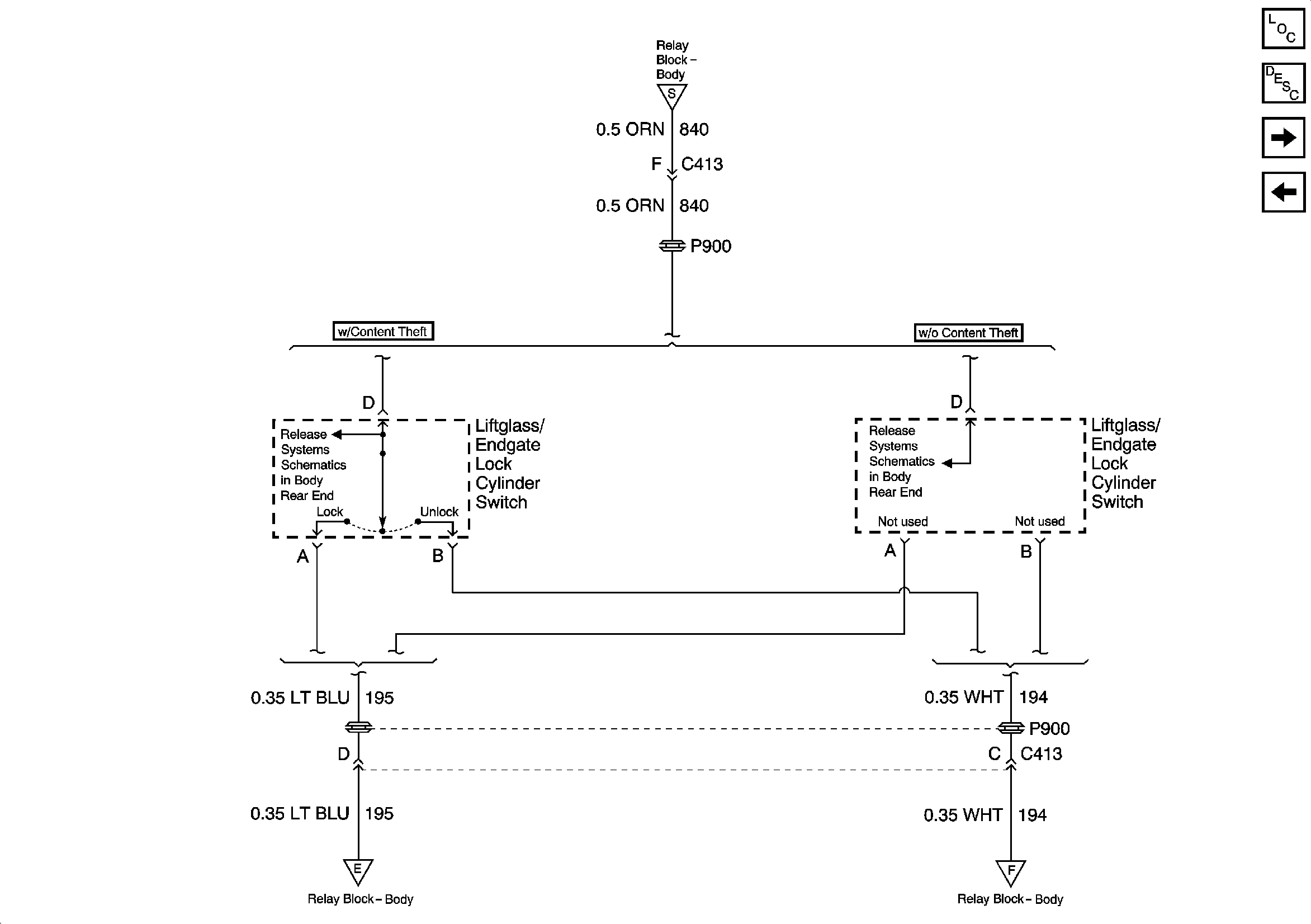
🢒 Endgate Lock Cylinder Switch Inputs - Utility
Endgate Lock Cylinder Switch Inputs - Utility
Endgate Lock Cylinder Switch Inputs - Utility
Master Electrical Component List
Power Door Locks Description and Operation
BCM Inputs and Outputs
Door Lock Switch Inputs
Door Lock Switch Inputs
Output
Output
Relay Control
Relay Control