GM Service Manual Online
For 1990-2009 cars only
Makes
🢒
Chevrolet
🢒
2004
🢒
S10 Pickup - 4WD
🢒 Output
Output
Output
Master Electrical Component List
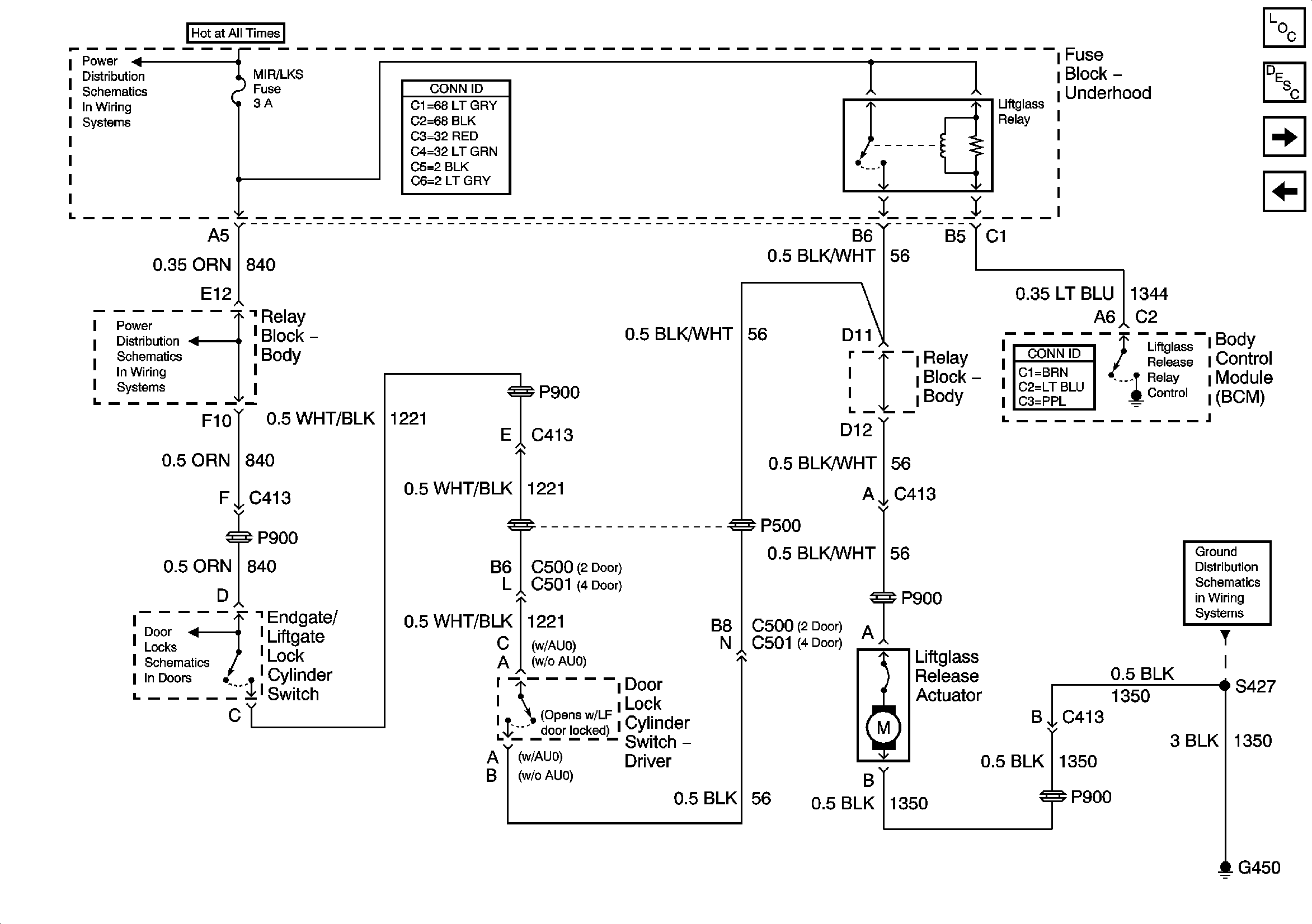
Rear Hatch/Gate Description and Operation General
Gate Ajar Indicator
Input
B+ Bus Bar
MIR/LKS, FOG LP Fuses and DRL, Headlamp Power Relays
Endgate Lock Cylinder Switch Inputs - Utility
G420, G450 and S427 - Utility and Crew Cab