GM Service Manual Online
For 1990-2009 cars only

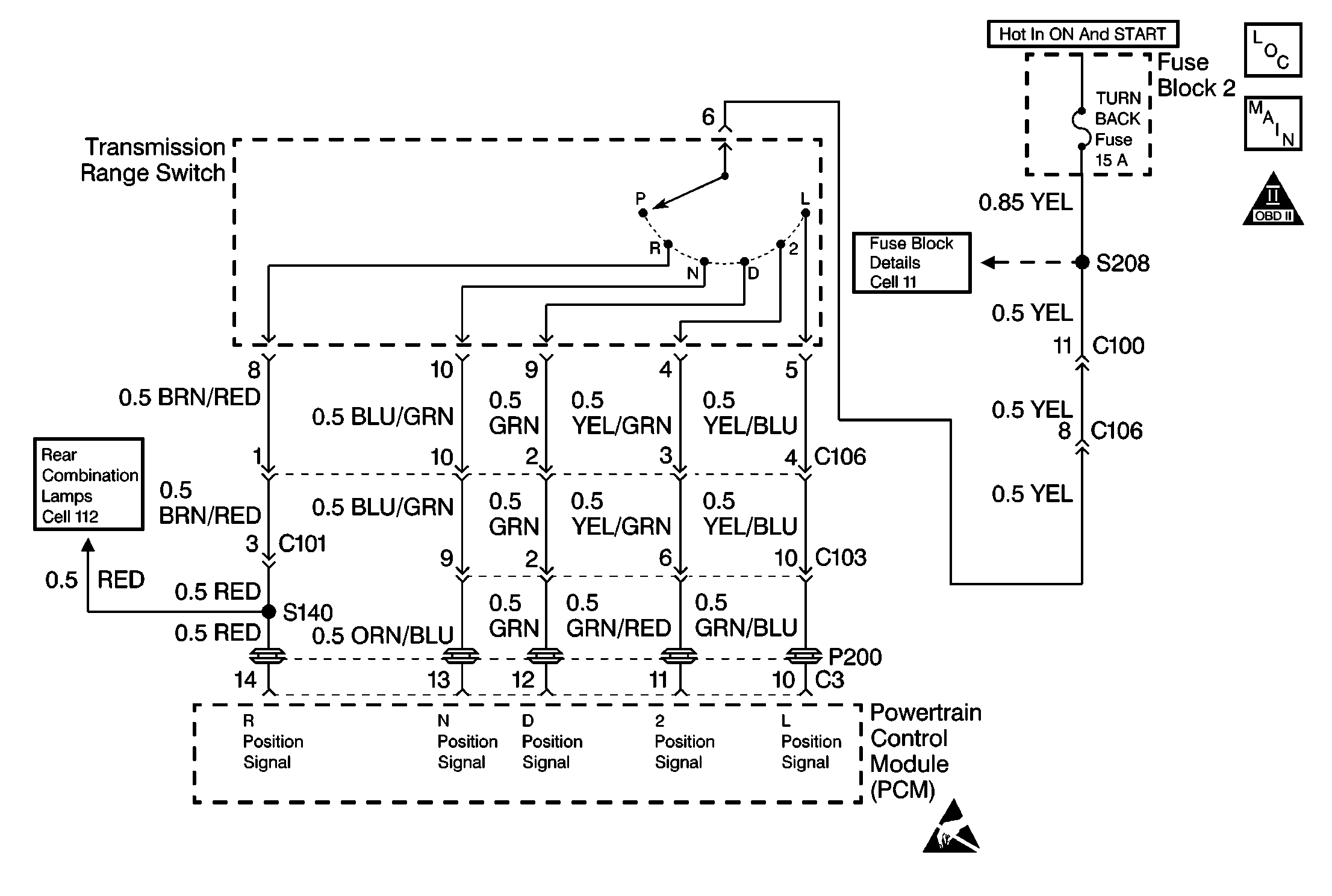
Object Number: 209194  Size: MF

Circuit Description

The transmission range switch sends gear position signals to the Powertrain Control Module (PCM) according to the manual selector range position. The PCM uses this information in order to manage transmission operation.

Conditions for Setting the DTC

    • The transmission range switch signal (R, N, D, 2 or L) does not input for 25 seconds at 60 km/h (38 mph) or higher vehicle speed in DRIVE range.
    • Multiple signals input simultaneously for 25 seconds.
    • Two driving cycle detection logic

Action Taken When the DTC Sets

    •  DTC P0705 stores.
    • The PCM enters fail-safe mode.
    • The Malfunction Indicator Lamp (MIL) turns ON.

During fail-safe mode operation, the PCM controls the shift solenoids and the Torque Converter Clutch (TCC) solenoid based on the DRIVE range when no signal inputs from the transmission range switch are seen.

Diagnostic Aids

Inspect for the following conditions:

    • The transmission range switch is out of adjustment.
    • A transmission range switch malfunction exists.
    • The following faulty electrical circuits exist between the transmission range switch and the PCM:
      • An open
      • A short to voltage
      • A short to ground
    • A faulty PCM exists.

The following conditions may cause an intermittent condition:

    • A reduced connection
    • Rubbed through wire insulation
    • A broken wire inside the insulation

Inspect the PCM harness connectors for the following conditions:

    • Backed out terminals
    • Improper mating
    • Broken locks
    • Improperly formed or damaged terminals
    • Reduced terminal-to-wire connections

If DTC P0705 cannot duplicate, the information included in the Freeze Frame data may be useful in determining the vehicle operating conditions when the DTC set.

Refer to the figure for cavity terminal identification when inspecting the transmission range switch.

Refer to Wiring Repairs in Wirng Systems when repairing any wiring.


Object Number: 207837  Size: SH

Test Description

The numbers below refer to the step numbers on the diagnostic table.

  1. The Powertrain OBD System Check prompts the technician to complete some basic checks and store the freeze frame data on the Scan Tool if applicable. The scan tool creates an electronic copy of the data taken when the fault occurred. The information then stores in the Scan Tool for later reference.

  2. This step tests the transaxle range switch in the D range.

  3. This step tests the transaxle range switch in the L range.

  4. This step tests the transaxle range switch in the N range.

  5. This step tests the transaxle range switch in the 2 range.

  6. This step tests the transaxle range switch in the R range.

  7. This step inspects for reduced terminal contact at the PCM.

  8. This step tests for a faulty PCM.

  9. This step tests for a short to voltage in the D position.

  10. This step tests for a short to ground in the D position.

  11. This step tests for an open in the D position.

  12. This step tests for an open in the YEL wire.

  13. This step tests for a short to voltage in the L position.

  14. This step tests for a short to ground in the L position.

  15. This step tests for an open in the L position.

  16. This step tests for a short to voltage in the N position.

  17. This step tests for a short to ground in the N position.

  18. This step tests for an open in the N position.

  19. This step tests for a short to voltage in the 2 position.

  1. This step tests for a short to ground in the 2 position.

  2. This step tests for an open in the 2 position.

  3. This step tests for a short to voltage in the R position.

  4. This step tests for a short to ground in the R position.

  5. This step tests for an open in the R position.

Step

Action

Value(s)

Yes

No

1

Was the On-Board Diagnostic (OBD) System Check performed?

--

Go to Step 2

Refer to Powertrain On Board Diagnostic (OBD) System Check in Engine Controls

2

  1. Turn the ignition switch to the LOCK position.
  2. Disconnect the PCM connector C3.
  3. Turn the ignition switch to the ON position.
  4. Use J 39200 in order to measure the voltage between ground and the PCM harness connector C3 terminal 12 when shifting the manual selector from Park P) to Low (L) range.

Is the voltage within the specified range?

10-14 V in Drive (D) range

0-2 V in all other ranges

Go to Step 3

Go to Step 9

3

Use J 39200 in order to measure the voltage between ground and the PCM harness connector C3 terminal 10 with the manual selector in Low (L) range.

Is the voltage within the specified range?

10-14 V in Low (L) range

Go to Step 4

Go to Step 13

4

Use J 39200 in order to measure the voltage between ground and the PCM harness connector C3 terminal 13 when shifting the manual selector from Low (L) to Neutral (N) range.

Is the voltage within the specified range?

10-14 V in Low (L) range

Go to Step 5

Go to Step 16

5

Use J 39200 in order to measure the voltage between ground and the PCM harness connector C3 terminal 11 when shifting the manual selector from Neutral (N) to Second (2) range.

Is the voltage within the specified range?

10-14 V in Second (2) range

Go to Step 6

Go to Step 19

6

Use J 39200 in order to measure the voltage between ground and the PCM harness connector C3 terminal 14 when shifting the manual selector from Second (2) to Reverse (R) range.

Is the voltage within the specified range?

10-14 V in Reverse (R) range

Go to Step 7

Go to Step 22

7

Inspect the PCM harness connector C3 for reduced terminal contact.

Does reduced terminal contact exist?

--

Go to Step 26

Go to Step 8

8

  1. Shift the manual selector to the Park (P) range.
  2. Turn the ignition switch to the LOCK position.
  3. Install a known-good PCM
  4. Perform the DTC Confirmation Procedure.

Does DTC P0705 reset?

--

Go to Step 27

Go to Step 25

9

  1. Turn the ignition switch to the RUN position.
  2. Disconnect the transmission range switch electrical connector.
  3. Turn the ignition switch to the ON position.
  4. Use the J 39200 in order to measure the voltage between ground and the PCM harness connector C3 terminal 12.

Is the voltage within the specified range?

0.5-14.0 V

Go to Step 29

Go to Step 10

10

Use J 39200 in order to measure the resistance between ground and the PCM harness connector C3 terminal 12.

Is the resistance within the specified range?

Infinite

Go to Step 11

Go to Step 30

11

Use J 39200 in order to measure the resistance between the PCM harness connector C3 terminal 12 and the transmission range switch connector terminal 9 (harness side).

Is the resistance less than the specified value?

2 ohms

Go to Step 12

Go to Step 31

12

Use J 39200 in order to measure the voltage between ground and the transmission range switch connector terminal 6 (harness side).

Is the voltage within the specified range?

10-14 V

Go to Step 28

Go to Step 32

13

  1. Turn the ignition switch to the LOCK position.
  2. Disconnect the transmission range switch electrical connector.
  3. Turn the ignition switch to the ON position.
  4. Use J 39200 in order to measure the voltage between ground and the PCM harness connector C3 terminal 10.

Is the voltage within the specified range?

0.5-14.0 V

Go to Step 33

Go to Step 14

14

Use J 39200 in order to measure the resistance between ground and the PCM harness connector C3 terminal 10.

Is the resistance within the specified range?

Infinite

Go to Step 15

Go to Step 34

15

Use J 39200 in order to measure the resistance between the PCM harness connector C3 terminal 10 and the transmission range switch connector terminal 5 (harness side).

Is the resistance less than the specified value?

2 ohms

Go to Step 12

Go to Step 35

16

  1. Turn the ignition switch to the LOCK position.
  2. Disconnect the transmission range switch electrical connector.
  3. Turn the ignition switch to the ON position.
  4. Use J 39200 in order to measure the voltage between ground and the PCM harness connector C3 terminal 13.

Is the voltage within the specified range?

0.5-14.0 V

Go to Step 36

Go to Step 17

17

Use the J 39200 in order to measure the resistance between ground and the PCM harness connector C3 terminal 13.

Is the resistance within the specified range?

Infinite

Go to Step 18

Go to Step 37

18

Use J 39200 in order to measure the resistance between the PCM harness connector C3 terminal 13 and the transmission range switch connector terminal 10 (harness side).

Is the resistance less than the specified value?

2 ohms

Go to Step 12

Go to Step 38

19

  1. Turn the ignition switch to the LOCK position.
  2. Disconnect the transmission range switch electrical connector.
  3. Turn the ignition switch to the ON position.
  4. Use J 39200 in order to measure the voltage between ground and the PCM harness connector C3 terminal 11.

Is the voltage within the specified range?

0.5-14.0 V

Go to Step 39

Go to Step 20

20

Use J 39200 in order to measure the resistance between ground and the PCM harness connector C3 terminal 11.

Is the resistance within the specified range?

Infinite

Go to Step 21

Go to Step 40

21

Use J 39200 in order to measure the resistance between the PCM harness connector C3 terminal 11 and the transmission range switch connector terminal 4 (harness side).

Is the resistance less than the specified value?

2 ohms

Go to Step 12

Go to Step 41

22

  1. Turn the ignition switch to the LOCK position.
  2. Disconnect the transmission range switch electrical connector.
  3. Turn the ignition switch to the ON position.
  4. Use J 39200 in order to measure the voltage between ground and the PCM harness connector C3 terminal 14.

Is the voltage within the specified range?

0.5-14.0 V

Go to Step 42

Go to Step 23

23

Use J 39200 in order to measure the resistance between ground and the PCM harness connector C3 terminal 14.

Is the resistance within the specified range?

Infinite

Go to Step 24

Go to Step 43

24

Use J 39200 in order to measure the resistance between the PCM harness connector C3 terminal 14 and the transmission range switch connector terminal 8 (harness side).

Is the resistance within the specified range?

2 ohms or Less

Go to Step 12

Go to Step 44

25

Refer to Diagnostic Aids for a possible intermittent condition. If OK, replace the Powertrain Control Module (PCM). Refer to Powertrain Control Module Replacement in Engine Controls.

Is the procedure complete?

--

Go to Step 45

--

26

Repair any terminal that exhibits reduced contact.

Is the repair complete?

--

Go to Step 45

--

27

Refer to Diagnostic Aids for additional information about DTC P0705.

Is the action complete?

--

Go to Step 45

--

28

Inspect the transmission range switch for proper alignment. If the alignment is OK, then replace the transmission range switch.

Is the procedure complete?

--

Go to Step 45

--

29

Repair the short to voltage in the GRN wire between the transmission range switch and the PCM.

Is the repair complete?

--

Go to Step 45

--

30

Repair the short to ground in the GRN wire between the transmission range switch and the PCM.

Is the repair complete?

--

Go to Step 45

--

31

Repair the open or the high resistance in the GRN wire between the transmission range switch and the PCM.

Is the repair complete?

--

Go to Step 45

--

32

Repair the open or the high resistance in the YEL wire between the transmission range switch and the TURN BACK fuse. Refer to Automatic Transmission Controls Schematics .

Is the repair complete?

--

Go to Step 45

--

33

Repair the short to voltage in the GRN/BLU wire and/or the YEL/BLU wire between the transmission range switch and the PCM.

Is the repair complete?

--

Go to Step 45

--

34

Repair the short to ground in the GRN/BLU wire and/or the YEL/BLU wire between the transmission range switch and the PCM.

Is the repair complete?

--

Go to Step 45

--

35

Repair the open or the high resistance in the GRN/BLU wire and/or the YEL/BLU wire between the transmission range switch and the PCM.

Is the repair complete?

--

Go to Step 45

--

36

Repair the short to voltage in the ORN/BLU wire and/or the BLU/GRN wire between the transmission range switch and the PCM.

Is the repair complete?

--

Go to Step 45

--

37

Repair the short to ground in the ORN/BLU wire and/or the BLU/GRN wire between the transmission range switch and the PCM.

Is the repair complete?

--

Go to Step 45

--

38

Repair the open or the high resistance in the ORN/BLU wire and/or the BLU/GRN wire between the transmission range switch and the PCM.

Is the repair complete?

--

Go to Step 45

--

39

Repair the short to voltage in the GRN/RED wire and/or the YEL/GRN wire between the transmission range switch and the PCM.

Is the repair complete?

--

Go to Step 45

--

40

Repair the short to ground in the GRN/RED wire and/or the YEL/GRN wire between the transmission range switch and the PCM.

Is the repair complete?

--

Go to Step 45

--

41

Repair the open or the high resistance in the GRN/RED wire and/or the YEL/GRN wire between the transmission range switch and the PCM.

Is the repair complete?

--

Go to Step 45

--

42

Repair the short to voltage in the RED wire and/or the BRN/RED wire between the transmission range switch and the PCM.

Is the repair complete?

--

Go to Step 45

--

43

Repair the short to ground in the RED wire and/or the BRN/RED wire between the transmission range switch and the PCM.

Is the repair complete?

--

Go to Step 45

--

44

Repair the open or the high resistance in the RED wire and/or the BRN/RED wire between the transmission range switch and the PCM.

Is the repair complete?

--

Go to Step 45

--

45

  1. Turn the ignition switch to the LOCK position.
  2. Reconnect the connector(s).
  3. Perform the DTC Confirmation Procedure.

Does the scan tool display any DTC(s)?

--

Refer to the applicable DTC table

System OK