GM Service Manual Online
For 1990-2009 cars only

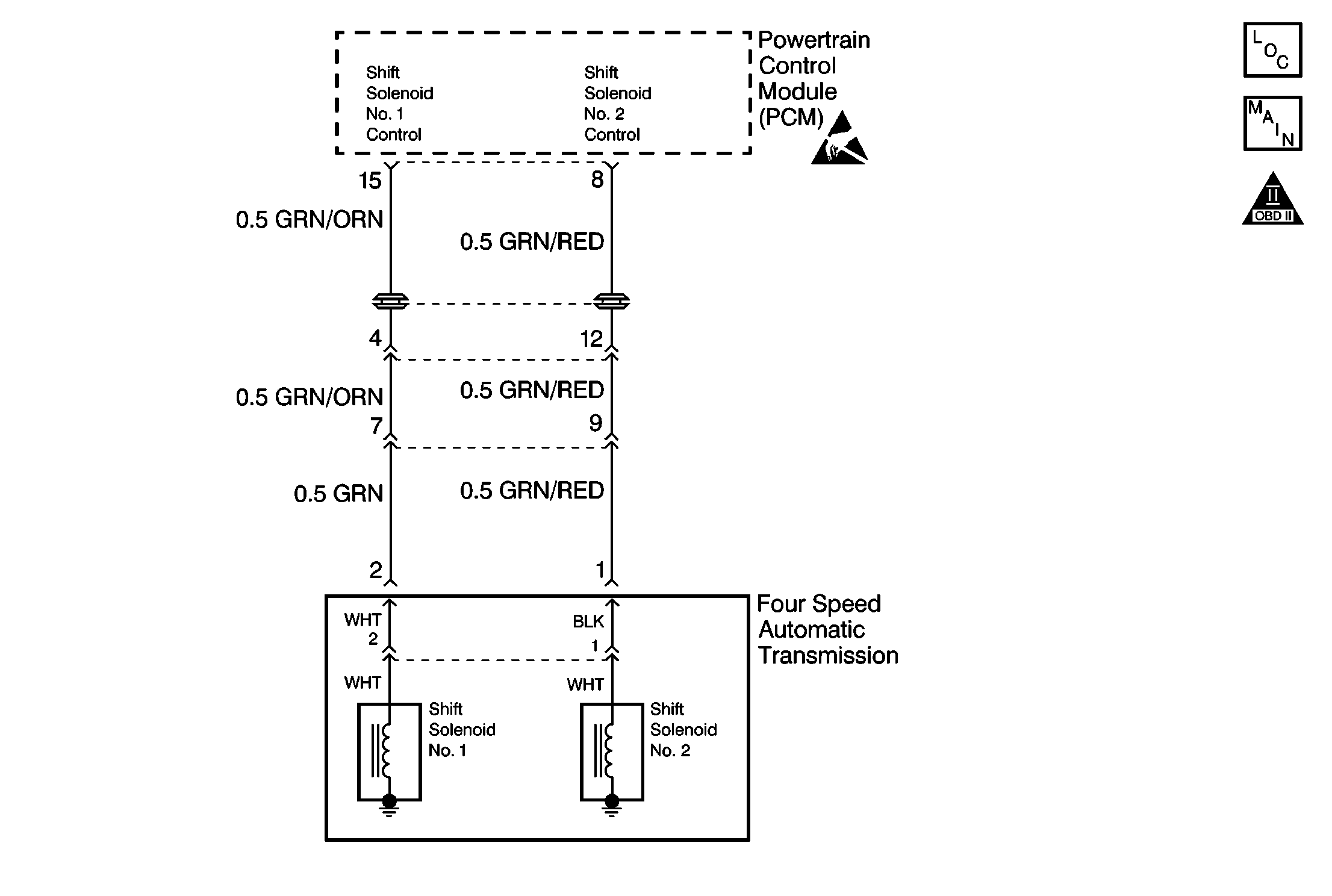
Object Number: 209204  Size: MF

Circuit Description

The shift solenoid #1 and the shift solenoid #2 operate together in order to electronically control the shifting of the transmission from 1st gear to 4th gear (overdrive). The Power Control Module (PCM) outputs the system voltage in order to perform the following actions:

    • Turn on (energize) either solenoid.
    • Turn off (de-energize) either solenoid.
        The PCM performs the above actions when necessary.

The transmission shifts with the combination of both solenoids turning on and off. The shift solenoid #1 is normally ON in the 1st and the 2nd gears. The shift solenoid #1 does not operate in the 3rd and the 4th gears. The shift solenoid #2 is normally ON in the 2nd and the 3rd gears. The shift solenoid #2 does not operate in the 1st and the 4th gears. The 4th gear (overdrive) is obtained when both of the shift solenoids are not operating.

Conditions for Setting the DTC

    • The voltage detected at terminal 15 is 2.0V or lower when the PCM commands the shift solenoid #1 ON.
    • The voltage detected at terminal 15 is 5.5V or higher when the PCM commands the shift solenoid #1 OFF.
    • Two driving cycle detection logic.

Action Taken When the DTC Sets

    • DTC P0753 stores.
    • The PCM enters the fail-safe mode.
    • The Malfunction Indicator Lamp (MIL) turns on.

During the fail-safe mode operation, 3rd gear operates instead of the 1st and the 2nd gears when the manual selector is in DRIVE range. The torque converter clutch does not engage.

Diagnostic Aids

Inspect for the following conditions:

    • An open or shorted shift solenoid #1
    • Faulty electrical circuits (open or short to ground) between the shift solenoid #1 and the PCM
    • A faulty PCM

The following conditions may cause an intermittent:

    • A reduced connection
    • Rubbed through wire insulation
    • A broken wire inside the insulation

Inspect the PCM harness connectors for the following conditions:

    • Backed out terminals
    • Improper mating
    • Broken locks
    • Improperly formed or damaged terminals
    • Reduced terminal-to-wire connections

If DTC P0753 cannot duplicate, the information included in the Freeze Frame data may be useful in determining the vehicle operating conditions when the DTC set.

Refer to Wiring Repairs in Wirng Systems when repairing any wiring.

DTC Confirmation Procedure

  1. Turn the ignition switch to the LOCK position.
  2. Connect the scan tool to the Data Link Connector (DLC).
  3. Turn the ignition switch ON.
  4. Use the scan tool in order to clear the following items:
  5. • DTC P0753
    • Any pending DTCs
  6. Start the engine.
  7. Apply the brake pedal firmly
  8. Shift the manual selector to DRIVE range.
  9. Remain in DRIVE range for 10 seconds.

  10. Accelerate the vehicle in DRIVE range.
  11. Continue driving for 10 seconds at 40 km/h (25 mph).

  12. Stop the vehicle.
  13. Use the scan tool in order to test for a pending DTC.

Object Number: 207913  Size: SH

Test Description

The numbers below refer to the step numbers on the diagnostic table.

  1. The Powertrain OBD System Check prompts the technician to complete some basic checks and store the freeze frame data on the scan tool if applicable. The scan tool creates an electronic copy of the data taken when the fault occurred. The information then stores in the scan tool for later reference.

  2. This step tests the shift solenoid internal coil resistance.

  3. This step tests for a short to ground in the GRN/ORN wire.

    Refer to the above figure.

  4. This step tests for an open in the GRN/ORN wire.

  5. This step inspects the condition of the transmission internal electrical harness for damage.

  6. This step tests for a short to voltage in the GRN/ORN wire.

  7. This step tests for a reduced electrical connection that may have set DTC P0753.

  8. This step tests for a faulty PCM.

Step

Action

Value(s)

Yes

No

1

Was the On-Board Diagnostic (OBD) System Check performed?

--

Go to Step 2

Refer to Powertrain On Board Diagnostic (OBD) System Check in Engine Controls

2

  1. Turn the ignition switch to the LOCK position.
  2. Disconnect the PCM connector C3.
  3. Use J 39200 in order to measure the resistance between ground and the PCM harness connector C3 terminal 15.

Is the resistance within the specified range?

11-16.6 ohms at 24°C (75°F)

Go to Step 6

Go to Step 3

3

  1. Disconnect the transmission connector at the transmission.
  2. Use the J 39200 in order to measure the resistance between ground and the PCM harness connector C3 terminal 15.

Is the resistance equal to the specified value?

Infinite

Go to Step 4

Go to Step 9

4

Use J 39200 in order to measure the resistance between the PCM harness connector C3 terminal 15 and the transmission connector cavity 2 GRN.

Is the resistance less than the specified value?

2 ohms

Go to Step 5

Go to Step 10

5

  1. Remove the transmission oil pan.
  2. Inspect the terminals and internal harness for damage.
  3. Replace the shift solenoid if no damage exists.

Is the procedure complete?

--

Go to Step 15

--

6

  1. Turn the ignition switch to the ON position.
  2. Use J 39200 in order to measure the voltage between ground and the PCM connector C3 terminal 15.

Is the voltage less than the specified value?

2 V

Go to Step 7

Go to Step 11

7

Inspect all of the electrical connections for reduced terminal contact or a reduced connection.

Do reduced terminal contact or reduced connections exist?

--

Go to Step 12

Go to Step 8

8

  1. Install a known-good PCM. Refer to Powertrain Control Module Replacement in Engine Controls.
  2. Perform the DTC Confirmation Procedure.

Does DTC P0753 reset?

--

Go to Step 14

Go to Step 13

9

Repair the short to ground in the GRN/ORN wire and/or the GRN wire between the PCM and the shift solenoid #1.

Is the repair complete?

--

Go to Step 15

--

10

Repair the open or the high resistance in the GRN/ORN wire and/or the GRN wire between the PCM and the shift solenoid #1.

Is the repair complete?

--

Go to Step 15

--

11

Repair the short to voltage in the GRN/ORN wire and/or the GRN wire between the PCM and the shift solenoid #1.

Is the repair complete?

--

Go to Step 15

--

12

Repair any terminals or connections that exhibit reduced contact.

Is the repair complete?

--

Go to Step 15

--

13

Refer to Diagnostic Aids for a possible intermittent condition. If OK, replace the PCM. Refer to Powertrain Control Module Replacement in Engine Controls.

Is the procedure complete?

--

Go to Step 15

--

14

Refer to Diagnostic Aids for additional information about DTC P0753.

Is the action complete?

--

Go to Step 15

--

15

  1. Turn the ignition switch to the LOCK position.
  2. Reconnect all the connector(s).
  3. Perform the DTC Confirmation Procedure.

Does the scan tool display any DTCs?

--

Refer to the applicable DTC table

System OK