GM Service Manual Online
For 1990-2009 cars only
Figure 1:

Door Lock Switches


Object Number: 600897  Size: FS
Power Door Systems Components
Power Door Locks Circuit Description
Key Cylinder Switches
Underhood Accessory Wiring Junction Block, Relay Center, PWR WDO and PWR OTR Vent Fuses
IGN, SIR, T/S/G, Cruise, and PCM/Pass Key 1 Cluster Fuses
IGN, SIR, T/S/G, Cruise, and PCM/Pass Key 1 Cluster Fuses
Cluster BATT, RR PWR SCKT, PWR Lock, Rap Relay, CTSY Lamp, FRT PWR SCKT, Cigar/DLC and PWR Mirror Fuses
Ignition Switch, IGN Main 2, BCM PRORM, RR WPR/WSHR, MALL/Cluster and FRT/WPR/WSHR Fuses
Interior Lights Dimming Schematics (Cell 117: Rear Window Wiper/Washer and Multifunction Switch, Window Switches, Door Lock Switches)
Cell 14: G302
Cell 14: G302
Interior Lights Dimming Schematics (Cell 117: Rear Window Wiper/Washer and Multifunction Switch, Window Switches, Door Lock Switches)
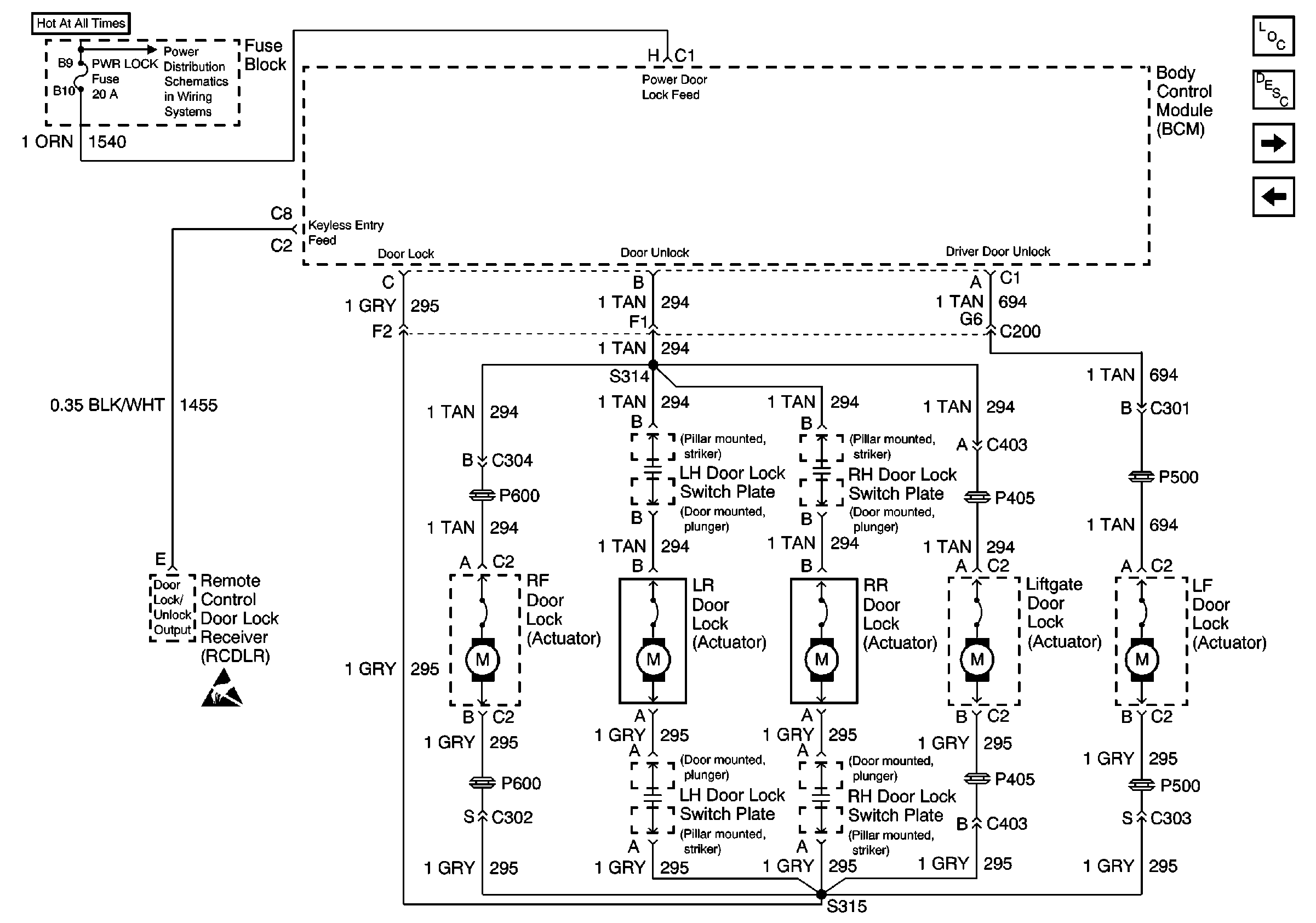
PSD Switches, Transaxle Range Switch, RKE
OBD II Symbol Description Notice
Handling ESD Sensitive Parts Notice
Figure 2:

Key Cylinder Switches


Object Number: 600898  Size: FS
Power Door Systems Components
Power Door Locks Circuit Description
Door Lock Actuators
Door Lock Switches
Cell 14: G302
Cell 14: G302
Cell 14: G401
Figure 3:

Door Lock Actuators


Object Number: 600900  Size: FS
Power Door Systems Components
Power Door Locks Circuit Description
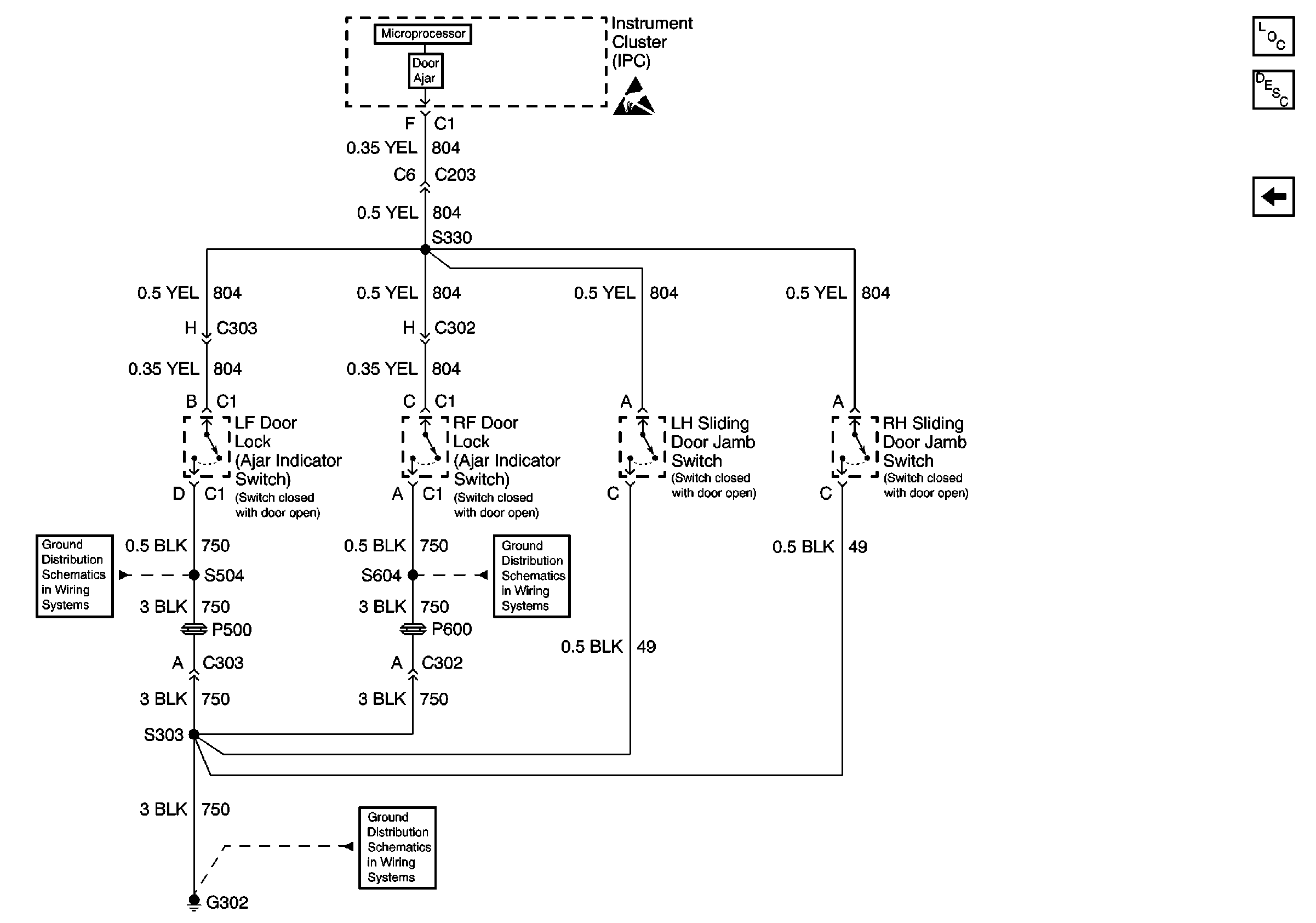
IP DOOR AJAR Telltale
Key Cylinder Switches
Handling ESD Sensitive Parts Notice
Cluster BATT, RR PWR SCKT, PWR Lock, Rap Relay, CTSY Lamp, FRT PWR SCKT, Cigar/DLC and PWR Mirror Fuses
Figure 4:

IP DOOR AJAR Telltale


Object Number: 602088  Size: FS
Power Door Systems Components
Door Ajar Indicator Circuit Description
Door Lock Actuators
Cell 14: G302
Cell 14: G302
Cell 14: G302
Handling ESD Sensitive Parts Notice