GM Service Manual Online
For 1990-2009 cars only
Makes
🢒
Chevrolet
🢒
1998
🢒
Venture
🢒
Body and Accessories
🢒
Entertainment
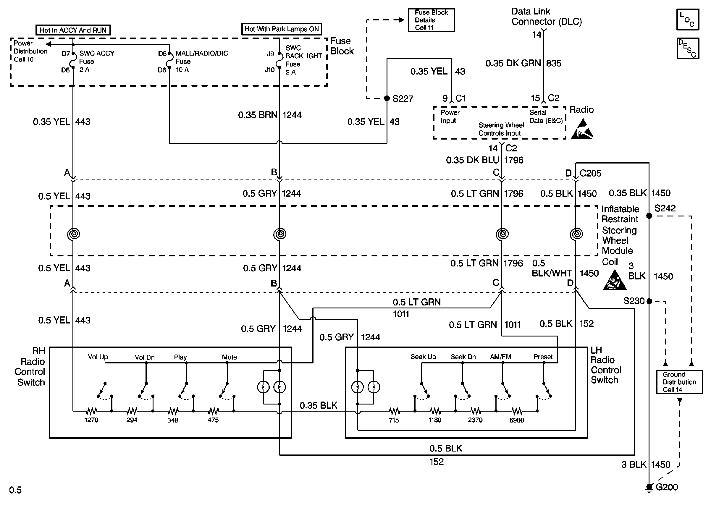
🢒 Steering Wheel Controls Schematics
Cell 152: G200
Entertainment Components
Steering Wheel Controls System Circuit Description
Handling ESD Sensitive Parts Notice
SIR Caution
Power Distribution Schematics
Fuse Block Schematics
Ground Distribution Schematics