GM Service Manual Online
For 1990-2009 cars only
Figure 1:

Cell 11: UH: A/C CLU, ELEK, IGN, TCC Fuses


Object Number: 478908  Size: FS
Power and Grounding Components
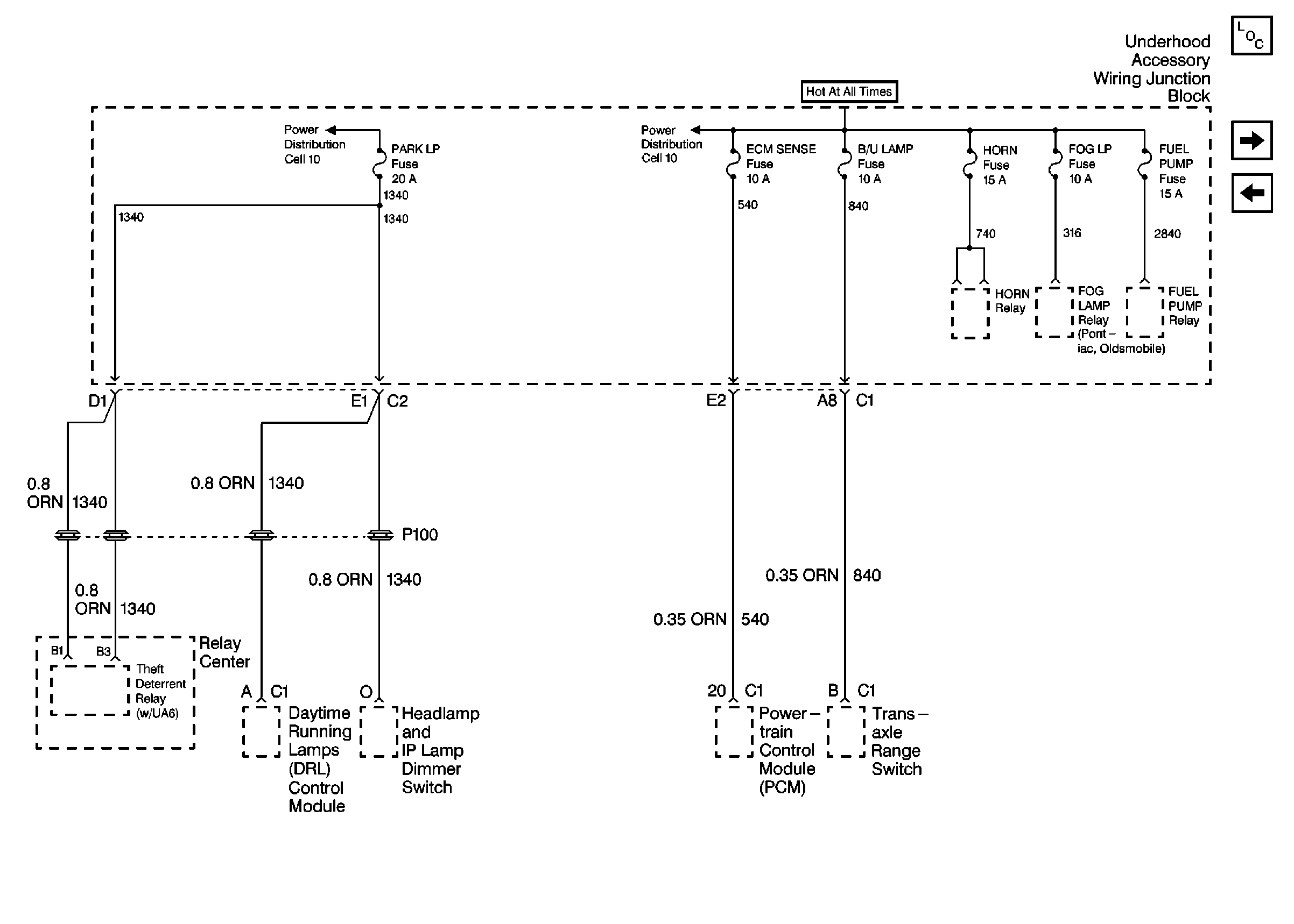
Cell 11: UH: Ignition-UH Fuse
Cell 11: UH: Ignition-UH Fuse
Figure 2:

Cell 11: UH: Ignition-UH Fuse


Object Number: 478912  Size: FS
Power and Grounding Components
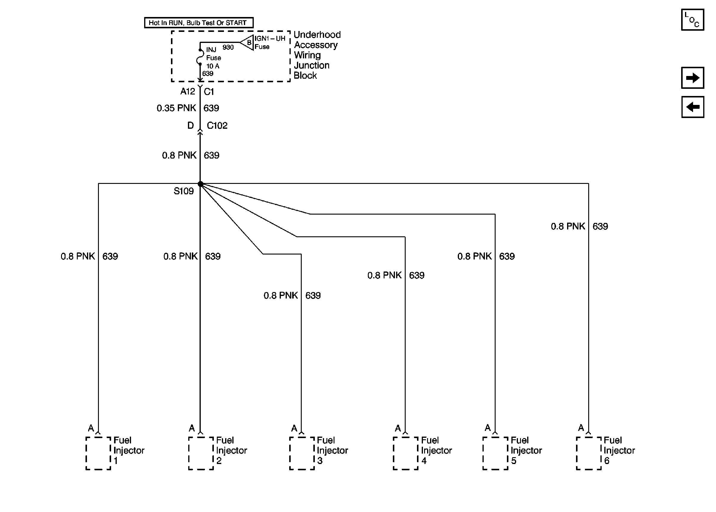
Cell 11: UH: Injector Fuse
Cell 11: UH: A/C CLU, ELEK, IGN, TCC Fuses
Cell 11: UH: A/C CLU, ELEK, IGN, TCC Fuses
Cell 11: UH: Injector Fuse
Figure 3:

Cell 11: UH: Injector Fuse


Object Number: 478914  Size: FS
Power and Grounding Components
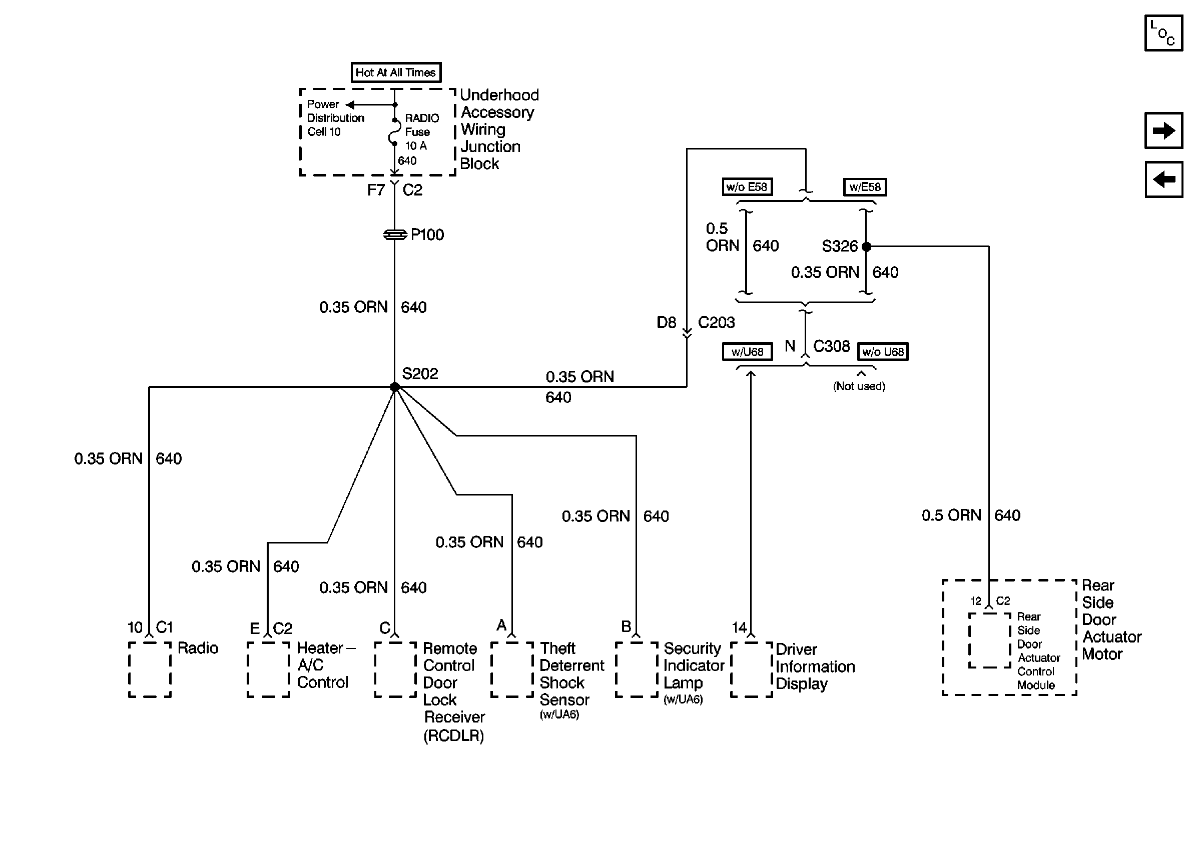
Cell 11: UH: Radio Fuse
Cell 11: UH: Ignition-UH Fuse
Cell 11: UH: Ignition-UH Fuse
Figure 4:

Cell 11: UH: Radio Fuse


Object Number: 478917  Size: FS
Power Distribution Schematics
Power and Grounding Components
Cell 11: UH: ALT Sensor, B/U Lamp, ECM Sensor, Fog Lamps, Fuel Pump, Horn
Cell 11: UH: Injector Fuse
Figure 5:

Cell 11: UH: ALT Sensor, B/U Lamp, ECM Sensor, Fog Lamps, Fuel Pump, Horn


Object Number: 478919  Size: FS
Power Distribution Schematics
Power Distribution Schematics
Power and Grounding Components
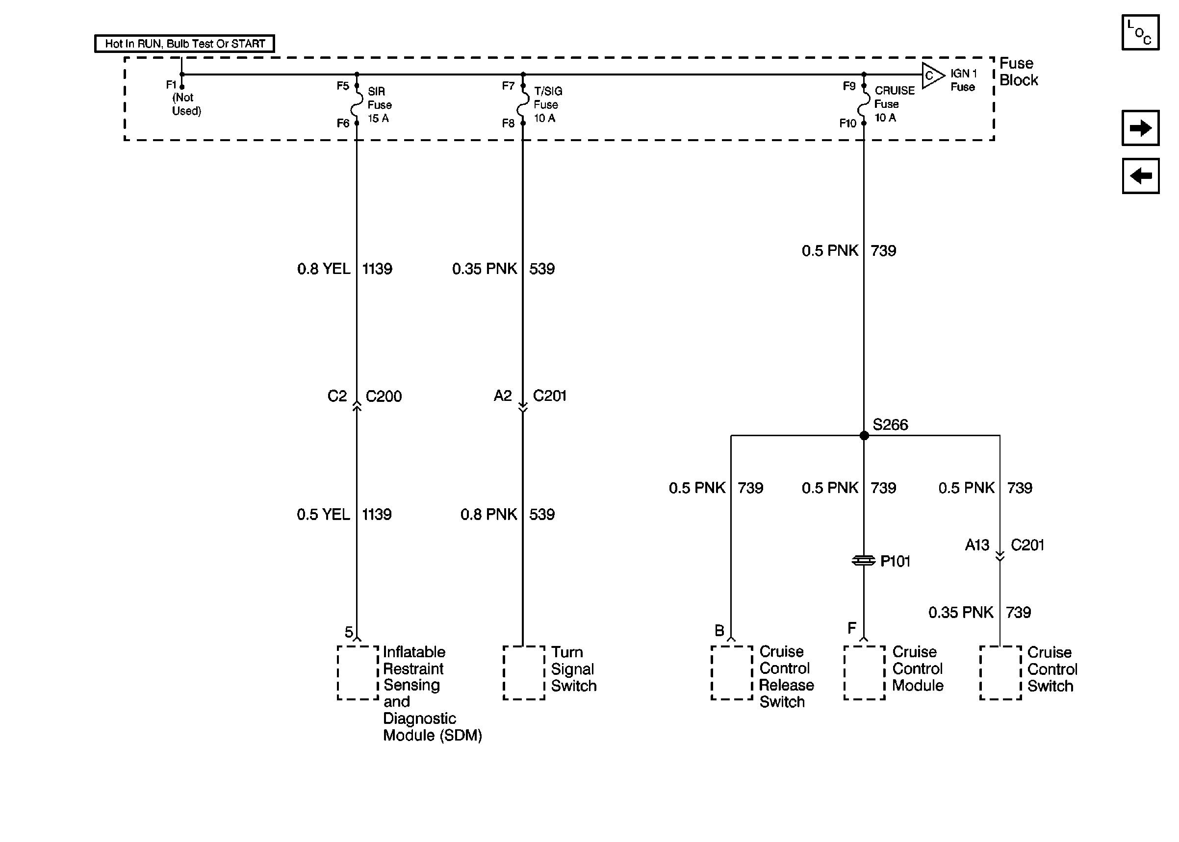
Cell 11: Cruise, SIR and Turn Signal Fuses
Cell 11: UH: Radio Fuse
Figure 6:

Cell 11: Cruise, SIR and Turn Signal Fuses


Object Number: 478924  Size: FS
Power and Grounding Components
Cell 11: Ignition Fuse
Cell 11: UH: ALT Sensor, B/U Lamp, ECM Sensor, Fog Lamps, Fuel Pump, Horn
Cell 11: Ignition Fuse
Figure 7:

Cell 11: Ignition Fuse


Object Number: 478927  Size: FS
Power and Grounding Components
Cell 11: Front HVAC Low/Medium Blower, HVAC/DRL, PWR QTR Vent, RR HVAC
Cell 11: Cruise, SIR and Turn Signal Fuses
Cell 11: Cruise, SIR and Turn Signal Fuses
Figure 8:

Cell 11: Front HVAC Low/Medium Blower, HVAC/DRL, PWR QTR Vent, RR HVAC


Object Number: 450870  Size: FS
Power and Grounding Components
Cell 11: Cigar/DLC, Courtesy Lamp, Front Power Socket, Power Mirror
Cell 11: Ignition Fuse
Figure 9:

Cell 11: Cigar/DLC, Courtesy Lamp, Front Power Socket, Power Mirror


Object Number: 478932  Size: FS
Power and Grounding Components
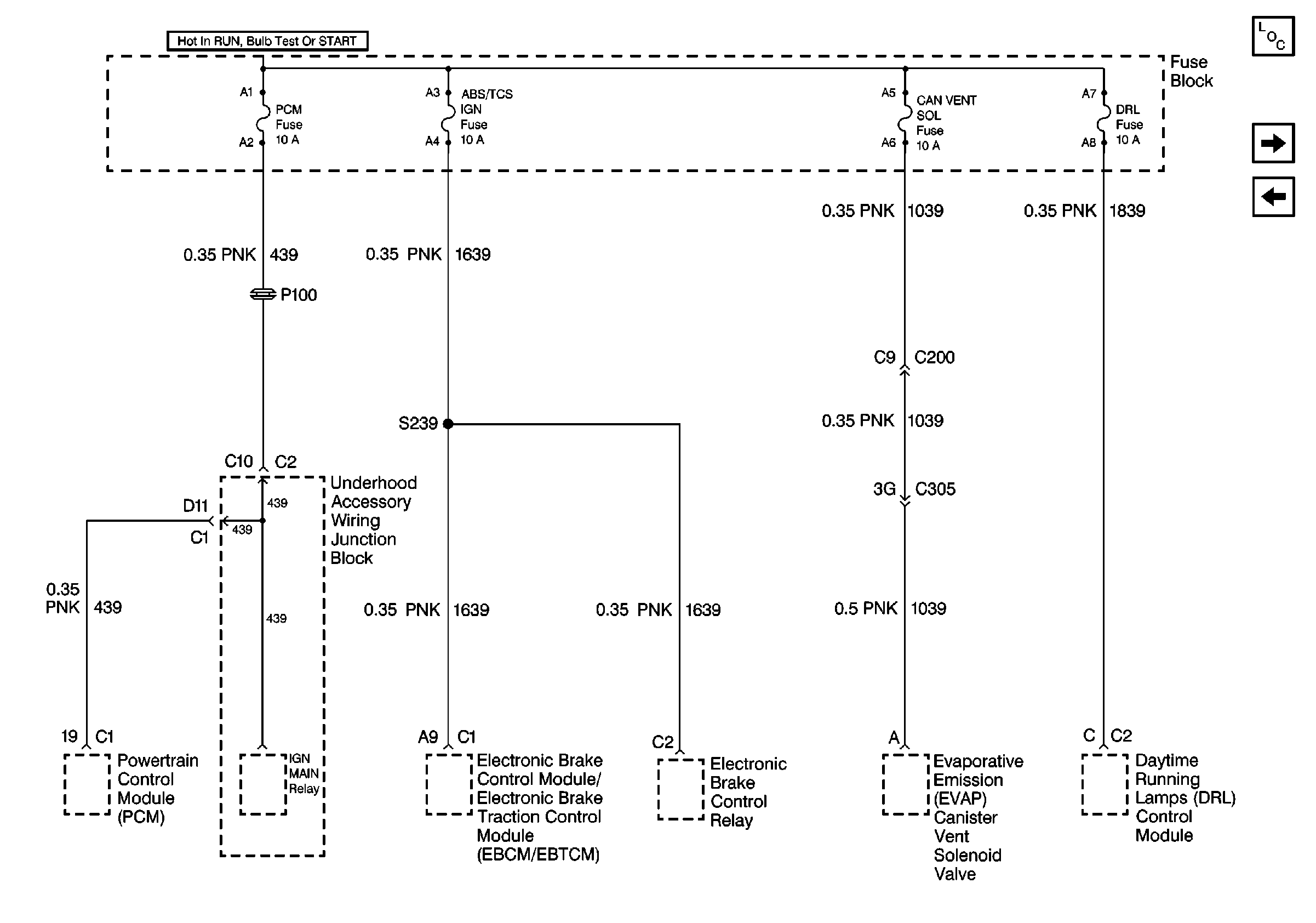
Cell 11: PCM, ABS/TCS, DRL Fuses
Cell 11: Front HVAC Low/Medium Blower, HVAC/DRL, PWR QTR Vent, RR HVAC
Figure 10:

Cell 11: PCM, ABS/TCS, DRL Fuses


Object Number: 451052  Size: FS
Power and Grounding Components
Cell 11: ABS Battery, Hazard, Power Lock, Stop Lamp Fuses
Cell 11: Cigar/DLC, Courtesy Lamp, Front Power Socket, Power Mirror
Figure 11:

Cell 11: ABS Battery, Hazard, Power Lock, Stop Lamp Fuses


Object Number: 451049  Size: FS
Power and Grounding Components
Fuse Block: BCM Program, Front and Rear Wiper/Washer, and Accessory Fuses
Cell 11: PCM, ABS/TCS, DRL Fuses
Figure 12:

Fuse Block: BCM Program, Front and Rear Wiper/Washer, and Accessory Fuses


Object Number: 323901  Size: FS
Power and Grounding Components
Cell 11: ABS Solenoid, Backlight Fuses
Cell 11: ABS Battery, Hazard, Power Lock, Stop Lamp Fuses
Figure 13:

Cell 11: ABS Solenoid, Backlight Fuses


Object Number: 478940  Size: FS
Power and Grounding Components
Cell 11: Front HVAC High Blower, Headlamp, PWR Seat/PSD, Pwr Window CKT Breaker
Fuse Block: BCM Program, Front and Rear Wiper/Washer, and Accessory Fuses
Defogger Schematics
Figure 14:

Cell 11: Front HVAC High Blower, Headlamp, PWR Seat/PSD, Pwr Window CKT Breaker


Object Number: 478942  Size: FS
Power and Grounding Components
Cell 11: ABS Solenoid, Backlight Fuses