GM Service Manual Online
For 1990-2009 cars only

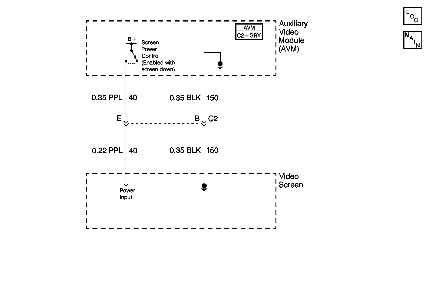
Object Number: 417107  Size: MF
Entertainment Connector End Views
Entertainment Components
Video System Schematics

Circuit Description

The video screen is of a Liquid Crystal Display (LCD) type, and it uses backlighting when the video screen power is on. The video screen turns on when the ignition switch is on and the video screen is in the down position.

The video screen produces images based on this video signal, either coming from the VCP or the auxiliary source of video.

The Video Cassette Player (VCP) plays pre-recorded VHS tapes. The Auxiliary Video Module (AVM) receives the video signal generated by the VCP. When the AVM switch is set to VCP, the AVM routes the VCP video signal to the video screen.

The AVM also allows the user to connect an auxiliary source of video and audio through RCA-style input jacks. When the AVM switch is set to AUX, the AVM routes the video signal from the auxiliary source of video to the video screen.

When the AVM detects that the operating temperature is out-of-range, below 0°C (32°F) or above 65°C (149°F), the AVM power indicator lamp glows in red color, and also turns off the video display. The AVM power indicator lamp glows in green color when the VES operating temperature is within range.

Diagnostic Aids

    • Check for the following conditions:
       - An open in CKT 150 (ground) between the AVM and the video screen
       - An open in CKT 40 (power feed) between the AVM and the video screen
    • An intermittent failure may be very difficult to detect and to diagnose accurately. Faulty electrical connections or wiring causes most intermittent problems. When an intermittent condition is suspected, check the suspected circuits for the following conditions:
       - Poor mating of connector halves or backed out terminals
       - Improperly formed or damaged terminals
       - Wire chafing
       - Poor wire to terminal connections
       - Dirty or corroded terminals
       - Damage to connector bodies
       - Wire broken inside the insulation

Test Description

The number(s) below refer to the step number(s) on the diagnostic table.

  1. Checks if the VES operating temperature is within range.

  2. Checks the integrity of the video screen backlighting control CKTs 40 and 150.

  3. Verifies repairs made to the VES.

Step

Action

Value(s)

Yes

No

1

  1. Turn the ignition switch on.
  2. Lower the video screen.
  3. Observe the Auxiliary Video Module (AVM) power indicator lamp.

Does the AVM power indicator lamp glow in red color?

--

Go to Step 2

Go to Step 3

2

    • The Video Entertainment System (VES) operating temperature is out-of-range: below 0°C (32°F) or above 65°C (149°F).
    • The AVM will disable VES operation when the operating temperature is out-of-range. When the operating temperature is within range, the AVM power indicator lamp glows in green color.
    • Wait for the VES system to be within temperature range before performing diagnostics.

Is the action complete?

--

Go to Video System System Check

--

3

Check CKT 40 and 150 between the Auxiliary Video Module (AVM) and the video screen.

Are these circuits in good condition? (no sign of open, short to ground, or shorted together)

--

Go to Step 5

Go to Step 4

4

Repair CKT 40 and/or 150 between the AVM and the video screen.

Is the repair complete?

--

Go to Step 6

--

5

Replace the video screen. Refer to Video Display Replacement .

Is the repair complete?

--

Go to Step 6

--

6

  1. Turn the ignition switch off.
  2. Reconnect connectors/components removed.
  3. Verify the operation of the Video Entertainment System (VES).

Does the VES operate normally?

--

System OK

Go to Video System System Check