GM Service Manual Online
For 1990-2009 cars only

Auxiliary Video Module Inoperative first design


Object Number: 417120  Size: MF
Power Distribution Schematics
Entertainment Connector End Views
Ground Distribution Schematics
Entertainment Components
Video System Schematics

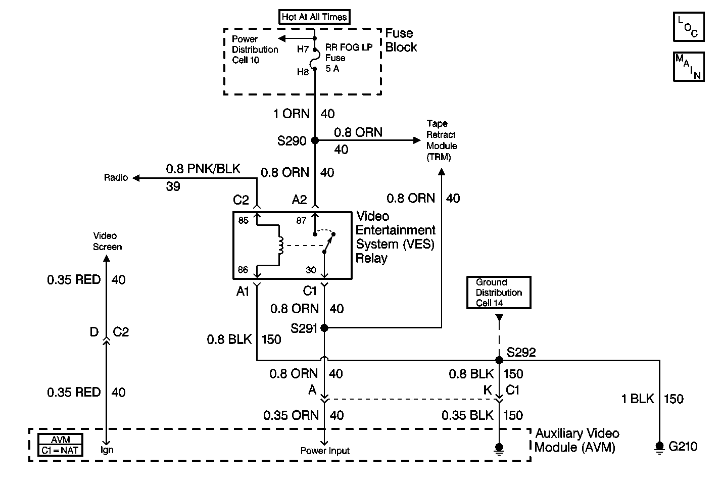
Circuit Description

The Auxiliary Video Module (AVM) controls the operation of the Video Entertainment System (VES). The AVM turns on the VES when the video screen is placed in the down position. When the VES relay is energized, the AVM receives voltage through circuit 40. The AVM receives ground through circuit 150. The AVM determines when the video screen is in the down position by means of a screen position switch located in the video screen. When the VES relay is energized, the AVM sends a voltage signal to the screen position switch. When the video screen is moved from the up (stored) to the down position, the screen position switch closes and sends a voltage signal back to the AVM. Then, the AVM turns on the VES.

Diagnostic Aids

    • Check for the following conditions:
       - An open in circuit 40 between S291 and the AVM.
       - An open in circuit 150 between S292 and the AVM.
       - An open in circuit 40 between the AVM and the video screen.
       - A faulty video screen.
       - A faulty AVM.
    • An intermittent failure may be very difficult to detect and to diagnose accurately. Faulty electrical connections or wiring causes most intermittent problems. When an intermittent condition is suspected, check the suspected circuits for the following conditions:
       - Poor mating of connector halves or backed out terminals.
       - Improperly formed or damaged terminals.
       - Wire chafing.
       - Poor wire to terminal connections.
       - Dirty or corroded terminals.
       - Damage to connector bodies.
       - Wire broken inside the insulation.

Test Description

The number(s) below refer to the step number(s) on the diagnostic table.

  1. Tests if the VES relay is operating correctly.

  2. Tests for an open in CKT 40 (voltage supply to the AVM).

  3. Tests for an open in CKT 150 (ground circuit to the AVM).

  4. Tests voltage output to the video display screen position switch.

  5. Tests the operation of the video display screen position switch.

  6. Verifies repairs made to the VES.

Step

Action

Value(s)

Yes

No

DEFINITION: The video display screen does not turn on when placing the screen in the down position. No video audio is available. However, the Video Cassette Player (VCP) can be turned on.

1

  1. Turn the ignition switch on.
  2. Attempt to turn on the Video Cassette Player (VCP).

Does the VCP turn on?

--

Go to Step 3

Go to Step 2

2

Refer to the Video Entertainment System Inoperative for further diagnosis and repair of the VES.

Is the action complete?

--

Go to Step 11

--

3

  1. Ensure that the ignition switch remains in the ON position.
  2. Using a test light, backprobe between the AVM harness connector C1 terminal A and ground.

Does the test light illuminate?

--

Go to Step 5

Go to Step 4

4

Repair the poor connection or the open in CKT 40 between S291 and the Auxiliary Video Module (AVM) harness connector C1 terminal A.

Is the repair complete?

--

Go to Step 11

--

5

  1. Ensure that the ignition switch remains in the ON position.
  2. Using a test light, backprobe between the AVM harness connector C1 terminals A and K.

Does the test light illuminate?

--

Go to Step 7

Go to Step 6

6

Repair the poor connection or the open in CKT 150 between the AVM harness connector C1 terminal K and ground.

Is the repair complete?

--

Go to Step 11

--

7

  1. Ensure that the ignition switch remains in the on position.
  2. Using a J 39200 digital multimeter (DMM), measure the voltage by backprobing between the AVM harness connector C2 terminal D and ground.

Does the voltage measure in the specified range?

B+ (10-14 V)

Go to Step 9

Go to Step 8

8

  1. Test for a poor connection at the AVM harness connector C2 terminals C and D and repair as necessary.
  2. If the connection is OK, then replace the Auxiliary Video Module (AVM). Refer to Audio/Video Interface Module Replacement .

Is the repair complete?

--

Go to Step 11

--

9

  1. Ensure that the ignition switch remains in the on position.
  2. Pull down the video display screen.
  3. Using a J 39200 digital multimeter (DMM) measure the voltage by backprobing between the AVM harness connector C2 terminal C and ground.

Does the voltage measure in the specified range?

B+ (10-14 V)

Go to Step 8

Go to Step 10

10

  1. Test for a poor connection at the AVM harness connector C2 terminal C and repair as necessary.
  2. If the connection is OK, then replace the video screen. Refer to Video Display Replacement .

Is the repair complete?

--

Go to Step 11

--

11

  1. Turn the ignition switch off.
  2. Reconnect the connectors or the components that were previously removed.
  3. Verify that the Video Entertainment System (VES) operates properly.

Does the VES operate normally?

--

System OK

Go to Video System System Check

Auxiliary Video Module Inoperative second design


Object Number: 566208  Size: MF
Entertainment Components
Video System Schematics
Ground Distribution Schematics
Entertainment Connector End Views
Power Distribution Schematics

Circuit Description

The Auxiliary Video Module (AVM) controls the operation of the Video Entertainment System (VES). The AVM turns on the VES when the video screen is placed in the down position. When the ignition is on, the Tape Retract Module (TRM) supplies battery voltage, power ground, and an ignition on signal to the AVM. The AVM determines when the video screen is in the down position by means of a screen position switch located in the video screen. When the video screen is moved from the up (stored) to the down position, the screen position switch closes and sends a voltage signal back to the AVM. Then, the AVM turns on the VES.

Diagnostic Aids

    • Check for the following conditions:
       - An open in the backlight power circuit between the TRM and the AVM.
       - An open in the AVM power circuit between the TRM and the AVM.
       - An open in the ignition on circuit between the TRM and the AVM.
       - An open in the power ground circuit between the TRM and the AVM.
       - An open in the backlight power ground circuit between the TRM and the AVM.
       - A faulty TRM.
    • An intermittent failure may be very difficult to detect and to diagnose accurately. Faulty electrical connections or wiring causes most intermittent problems. When an intermittent condition is suspected, check the suspected circuits for the following conditions:
       - Poor mating of connector halves or backed out terminals
       - Improperly formed or damaged terminals
       - Wire chafing
       - Poor wire to terminal connections
       - Dirty or corroded terminals
       - Damage to connector bodies
       - Wire broken inside the insulation

Test Description

The number(s) below refer to the step number(s) on the diagnostic table.

  1. Tests if the TRM and the AVM are operating correctly.

  2. Tests for an open in the backlight power circuit to the AVM.

  3. Tests for an open in the AVM power circuit to the AVM.

  4. Tests for an open in the IGN ON circuit to the AVM.

  5. Tests for an open in the power ground circuit to the AVM.

  6. Tests for an open in the backlight power ground circuit to the AVM.

  7. Tests to ensure that all disconnected components are re-connected.

Step

Action

Value(s)

Yes

No

DEFINITION: The video display screen does not turn on when placing the screen in the down position. No video audio is available. However, the Video Cassette Player (VCP) can be turned on.

1

  1. Turn the ignition switch on.
  2. Lower the video display screen.
  3. Attempt to turn on the Video Cassette Player (VCP).

Does the VCP turn on?

--

Go to Step 3

Go to Step 2

2

Refer to the Video Entertainment System Inoperative for further diagnosis and repair of the VES.

Is the action complete?

--

Go to Step 14

--

3

  1. Ensure that the ignition switch remains in the ON position.
  2. Backprobe the AVM harness connector  C1 and test for battery voltage on the backlight power circuit.

Is there battery voltage at the test point?

--

Go to Step 5

Go to Step 4

4

Repair the poor connection or the open in the backlight power circuit to the AVM.

If an open or poor connection does not exist, then replace the Tape Retract Module.

Refer to Tape Retract Module Replacement

Is the repair complete?

--

Go to Step 14

--

5

  1. Ensure that the ignition switch remains in the ON position.
  2. Backprobe the AVM harness connector  C1 and test for battery voltage on the AVM power circuit.

Is there battery voltage at the test point?

--

Go to Step 7

Go to Step 6

6

Repair the poor connection or the open in the AVM power circuit to the AVM.

If an open or poor connection does not exist, then replace the Tape Retract Module.

Refer to Tape Retract Module Replacement

Is the repair complete?

--

Go to Step 14

--

7

  1. Ensure that the ignition switch remains in the on position.
  2. Using a J 39200 digital multimeter (DMM), measure the voltage on the IGN on circuit by backprobing the AVM harness connector C1.

Does the voltage measure in the specified range?

4-6V.

Go to Step 9

Go to Step 8

8

Repair the poor connection or the open in the IGN on circuit to the AVM.

If an open or poor connection does not exist, then replace the Tape Retract Module.

Refer to Tape Retract Module Replacement

Is the repair complete?

--

Go to Step 14

--

9

  1. Ensure that the ignition switch remains in the on position.
  2. Using a J 39200 digital multimeter (DMM), measure the voltage on the power ground circuit by backprobing the AVM harness connector C1.

Does the voltage measured indicate a good ground?

--

Go to Step 11

Go to Step 10

10

Repair the poor connection or the open in the power ground circuit to the AVM.

If an open or poor connection does not exist, then replace the Tape Retract Module.

Refer to Tape Retract Module Replacement

Is the repair complete?

--

Go to Step 14

--

11

  1. Ensure that the ignition switch remains in the on position.
  2. Using a J 39200 digital multimeter (DMM), measure the voltage on the backlight power ground circuit by backprobing the AVM harness connector C1.

Does the voltage measured indicate a good ground?

--

Go to Step 13

Go to Step 12

12

Repair the poor connection or the open in the backlight power ground circuit to the AVM.

If an open or poor connection does not exist, then replace the Tape Retract Module.

Refer to Tape Retract Module Replacement

Is the repair complete?

--

Go to Step 14

--

13

Inspect the connectors at the TRM module and the AVM for poor connections.

If a poor connection does not exist , then replace the AVM. Refer to Audio/Video Interface Module Replacement

Is the repair complete?

----

Go to Step 14

--

14

  1. Turn the ignition switch off.
  2. Reconnect the connectors or the components that were previously removed.
  3. Verify that the Video Entertainment System (VES) operates properly.

Does the VES operate normally?

--

System OK

Go to Video System System Check