GM Service Manual Online
For 1990-2009 cars only

Video Cassette Player (VCP) Inoperative first design


Object Number: 417125  Size: MF
Entertainment Components
Video System Schematics
Ground Distribution Schematics

Circuit Description

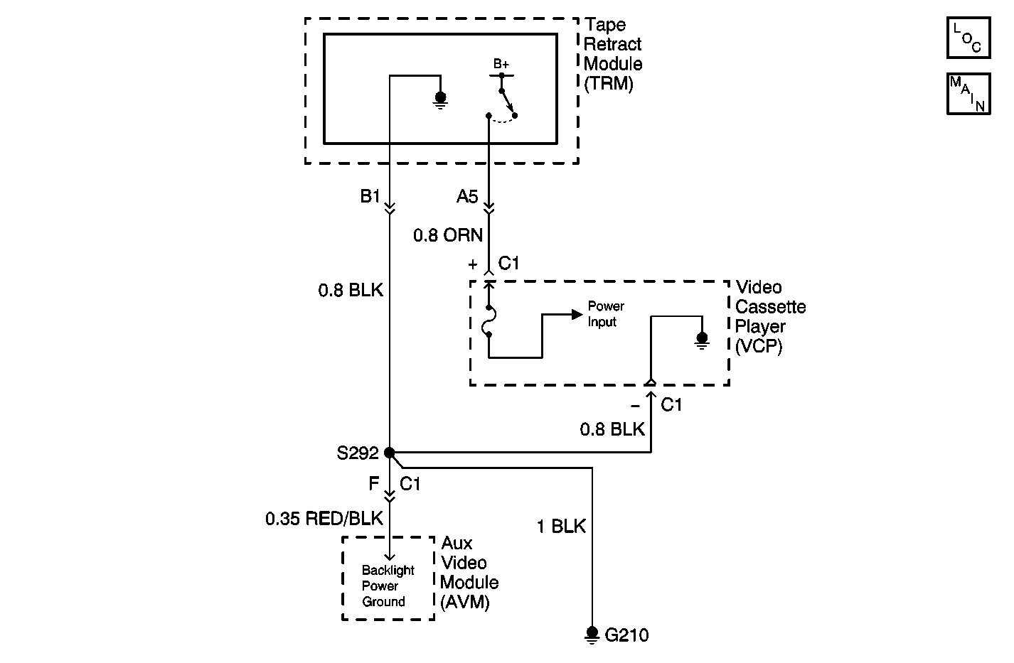
The Video Cassette Player (VCP) plays pre-recorded VHS cassettes. The VCP voltage supply is controlled by the Tape Retract Module (TRM). The TRM supplies the VCP with voltage from the fuse block through circuit 40 when the VES relay is energized. When the ignition switch is off, the system relay de-energizes. This action removes the voltage signal coming into the TRM through circuit 40. The TRM then removes voltage supply momentarily to the VCP, causing the VCP to turn off. Then, the TRM restores the voltage back to the VCP for 12 seconds, even with the ignition switch off. If the VCP was playing and the ignition switch was turned off, the TRM allows the VCP to retract the cassette tape from the playback head, thus preventing cassette damage. The VCP and TRM receive ground through circuit 150. Note that the cassette in indicator lamp in the VCP turns on during the 12 second period (when the VHS tape is loaded in the VCP).

Diagnostic Aids

    • Check for the following conditions:
       - An open in circuit 40 (voltage supply) to the TRM and/or the VCP.
       - An open in circuit 150 (ground supply) to the TRM and/or the VCP.
       - An open fuse at the VCP unit.
       - A faulty TRM.
       - A faulty VCP.
    • An intermittent failure may be very difficult to detect and to diagnose accurately. Faulty electrical connections or wiring causes most intermittent problems. When an intermittent condition is suspected, check the suspected circuits for the following conditions:
       - Poor mating of connector halves or backed out terminals.
       - Improperly formed or damaged terminals.
       - Wire chafing.
       - Poor wire to terminal connections.
       - Dirty or corroded terminals.
       - Damage to connector bodies.
       - Wire broken inside the insulation.

Test Description

The number(s) below refer to the step number(s) on the diagnostic table.

  1. Tests if the VES relay is operating correctly.

  2. Tests if the VCP power supply connector is backed out.

  3. Tests if the VCP fuse is open.

  4. Tests if the VCP fuse is open due to an internal short in the VCP or overload condition.

  5. Tests for power at the VCP power supply connector.

  6. Tests for an open in CKT 150 (ground supply).

  7. Tests for an open in CKT 40 (voltage supply to the TRM).

  8. Tests for an open in CKT 150 (ground supply to the TRM).

  9. Tests for an open in CKT 40 (ignition voltage supply to the TRM).

  10. Verifies repairs made to the VES.

Step

Action

Value(s)

Yes

No

DEFINITION: The Video Cassette Player (VCP) does not turn on when the ignition switch is on. However, the video display screen turns on when the screen is in the down position with the ignition switch on.

1

  1. Turn the ignition switch on.
  2. Pull down the video display screen.

Does the video display screen turn on?

--

Go to Step 3

Go to Step 2

2

Refer to Video Entertainment System Inoperative table for further diagnosis and repair of the VES.

Is the action complete?

--

Go to Step 18

--

3

Test the Video Cassette Player (VCP) connector C1 (power supply). Ensure that the connector is fully seated into the VCP.

Is the connection OK?

--

Go to Step 5

Go to Step 4

4

Reconnect the VCP connector C1.

Is the action complete?

--

Go to Step 18

--

5

Test the VCP fuse located in the back of the VCP unit.

Is the VCP fuse open?

--

Go to Step 6

Go to Step 8

6

  1. Disconnect the VCP connector C1.
  2. Replace the VCP fuse.
  3. Reconnect the VCP connector C1.
  4. Turn the ignition switch on.
  5. Turn on the VCP.

Does the VCP turn on?

--

Go to Step 18

Go to Step 7

7

Replace the VCP. Refer to Video Cassette Player Replacement .

Is the repair complete?

--

Go to Step 18

--

8

  1. Disconnect the VCP connector C1 (power supply).
  2. Turn the ignition switch on.
  3. Using a test light, connect between the positive (+) and negative (-) terminals of the VCP harness connector C1.

Does the test light illuminate?

--

Go to Step 7

Go to Step 9

9

Using a test light, connect between B+ and negative (-) terminal of the VCP harness connector C1.

Does the test light illuminate?

--

Go to Step 11

Go to Step 10

10

Repair the poor connection or the open in CKT 150.

Is the repair complete?

--

Go to Step 18

--

11

Using a test light, backprobe between the Tape Retract Module (TRM) connector terminal A and ground.

Does the test light illuminate?

--

Go to Step 13

Go to Step 12

12

Repair the poor connection or the open in CKT 40 between the fuse block and the TRM.

Is the repair complete?

--

Go to Step 18

--

13

Using a test light, backprobe between the TRM connector terminals A and B.

Does the test light illuminate?

--

Go to Step 15

Go to Step 14

14

Repair the poor connection or the open in CKT 150 between the TRM and ground.

Is the repair complete?

--

Go to Step 18

--

15

  1. Turn the ignition switch on.
  2. Using a test light, backprobe between the TRM connector terminals B and C.

Does the test light illuminate?

--

Go to Step 16

Go to Step 17

16

  1. Test the TRM for a poor connection and repair as necessary.
  2. If the connection is OK, the replace the TRM. Refer to Tape Retract Module Replacement

Is the repair complete?

--

Go to Step 18

--

17

Repair the poor connection or the open in CKT 40 between S291 and the TRM.

Is the repair complete?

--

Go to Step 18

--

18

  1. Turn the ignition switch off.
  2. Reconnect the connectors or components that were previously removed.
  3. Verify that the Video Entertainment System (VES) operates properly.

Does the VES operate normally?

--

System OK

Go to Video System System Check

Video Cassette Player (VCP) Inoperative second design


Object Number: 566221  Size: MF
Entertainment Components
Video System Schematics
Ground Distribution Schematics

Circuit Description

The Video Cassette Player (VCP) plays pre-recorded VHS cassettes. The Tape Retract Module (TRM) supplies the VCP with voltage when the ignition is on and the LCD display screen is pulled down in the viewing position. When the ignition is turned off, the TRM and the VCP lose power at the same time. The TRM has a timer function that allows battery voltage to be restored to the VCP for 12 seconds to retract the cassette tape from the playback head, thus preventing cassette damage. Note that the "cassette in" indicator lamp in the VCP turns on during the 12 second period when the VHS tape is unloaded in the VCP.

Diagnostic Aids

    • Check for the following conditions:
       - An open in the voltage supply from the TRM to the VCP.
       - An open in the ground circuit between the TRM and the VCP.
       - A faulty TRM.
       - A faulty VCP.
    • An intermittent failure may be very difficult to detect and to diagnose accurately. Faulty electrical connections or wiring causes most intermittent problems. When an intermittent condition is suspected, check the suspected circuits for the following conditions:
       - Poor mating of connector halves or backed out terminals.
       - Improperly formed or damaged terminals.
       - Wire chafing.
       - Poor wire to terminal connections.
       - Dirty or corroded terminals.
       - Damage to connector bodies.
       - Wire broken inside the insulation.

Test Description

The number(s) below refer to the step number(s) on the diagnostic table.

  1. Tests if the video display screen turns on correctly.

  2. Tests if the VCP power supply connector is backed out.

  3. Tests if the VCP fuse is open.

  4. Tests if the VCP fuse is open due to an internal short in the VCP or overload condition.

  5. Tests for power at the VCP power supply connector.

  6. Tests for an open in the ground circuit to the VCP connector.

  7. Tests for an open in the B+ circuit to the VCP connector.

  8. Verifies repairs made to the VES.

Step

Action

Value(s)

Yes

No

DEFINITION: The Video Cassette Player (VCP) does not turn on when the ignition switch is on. However, the video display screen turns on when the screen is in the down position with the ignition switch on.

1

  1. Turn the ignition switch on.
  2. Pull down the video display screen.

Does the video display screen turn on?

--

Go to Step 3

Go to Step 2

2

Refer to Video Entertainment System Inoperative table for further diagnosis and repair of the VES.

Is the action complete?

--

Go to Step 12

--

3

Test the Video Cassette Player (VCP) connector C1 (power supply). Ensure that the connector is fully seated into the VCP.

Is the connection OK?

--

Go to Step 5

Go to Step 4

4

Reconnect the VCP connector C1.

Is the action complete?

--

Go to Step 12

--

5

Test the VCP fuse located in the back of the VCP unit.

Is the VCP fuse open?

--

Go to Step 6

Go to Step 8

6

  1. Disconnect the VCP connector C1.
  2. Replace the VCP fuse.
  3. Reconnect the VCP connector C1.
  4. Turn the ignition switch on.
  5. Turn on the VCP.

Does the VCP turn on?

--

Go to Step 12

Go to Step 7

7

Replace the VCP. Refer to Video Cassette Player Replacement .

Is the repair complete?

--

Go to Step 12

--

8

  1. Disconnect the VCP connector C1 (power supply).
  2. Turn the ignition switch on.
  3. Using a test light, connect between the positive (+) and negative (-) terminals of the VCP harness connector C1.

Does the test light illuminate?

--

Go to Step 7

Go to Step 9

9

Using a test light, connect between B+ and negative (-) terminal of the VCP harness connector C1.

Does the test light illuminate?

--

Go to Step 11

Go to Step 10

10

Repair the poor connection or the open in the ground circuit to the VCP connector C1.

Is the repair complete?

--

Go to Step 12

--

11

Repair the poor connection or the open in the B+ circuit to the VCP connector C1.

If a poor connection or an open is not found, replace the TRM. Refer to Tape Retract Module Replacement

Is the repair complete?

--

Go to Step 12

--

12

  1. Turn the ignition switch off.
  2. Reconnect the connectors or components that were previously removed.
  3. Verify that the Video Entertainment System (VES) operates properly.

Does the VES operate normally?

--

System OK

Go to Video System System Check