GM Service Manual Online
For 1990-2009 cars only

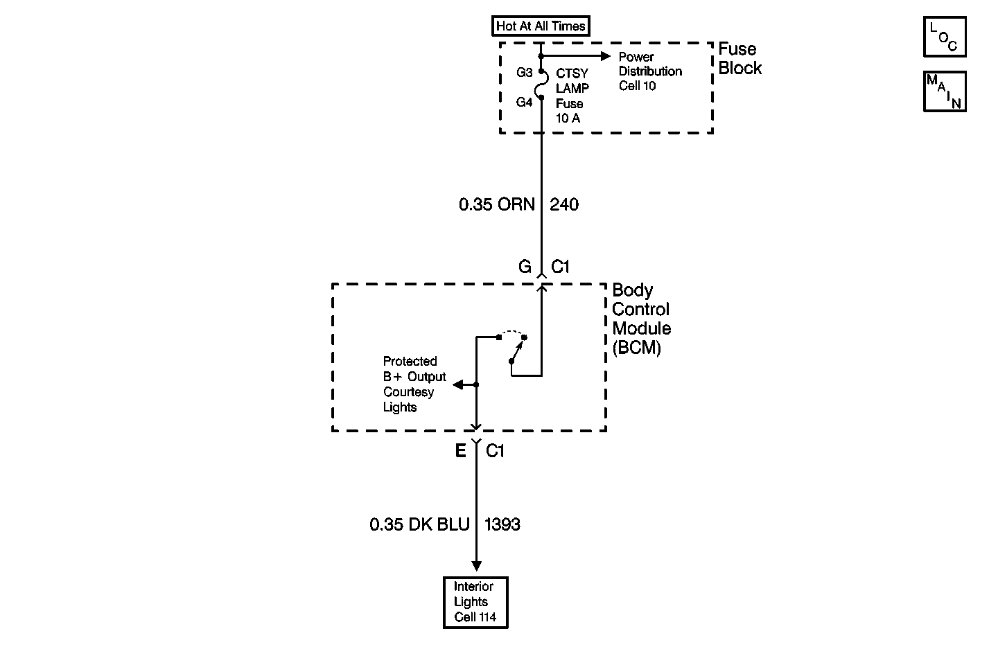
Object Number: 323117  Size: MF
Body Control Module Components
Cell 51: BCM: Interior Lamps On Request, Horn Control, Fuel Enable Output
Cell 114: Headlamp and IP Lamp Dimmer Switch

Circuit Description

The Body Control Module (BCM) controls the inadvertent load (battery rundown) protection feature. The BCM de-energizes CKT 1393 and CKT 328 nine to eleven minutes after the ignition switch has been turned from the ACC position or the RUN position to the LOCK position or the OFF position.

The BCM restores power to CKT 1393 and CKT 328 when the following actions occur:

    • Turn the ignition switch from the LOCK position or the OFF position to the ACC position or the RUN position.
    • Remove the key from the ignition.
    • Open any vehicle door.
    • Turn the instrument panel dimmer switch to the DOME position.
    • Turn on any interior courtesy light connected to CKT 1393 and CKT 328.
    • The BCM receives a message to unlock the doors from the Remote Control Door Lock Receiver (BCM type 3 or type 4 only).
    • Unlock a door using a key (BCM type 4 only).

The inadvertent load (battery rundown) protection feature is mileage-sensitive. Vehicles with less than 15 total driven miles have a time-out of 162-198 seconds instead of 10 minutes.

Conditions for Setting the DTC

The BCM detects a short to B+ or ground in CKT 1393 and CKT 328.

Action Taken When the DTC Sets

    • The BCM sets the Diagnostic Trouble Code (DTC) 2.
    • The inadvertent load (battery rundown) protection feature is disabled when CKT 1393 and CKT 328 is shorted to B+.
    • The interior courtesy lights do not turn on when CKT 1393 and CKT 328 are shorted to ground.

Conditions for Clearing the MIL/DTC

    • A short to B+ or ground in CKT 1393 and CKT 328 is no longer present.
    • After you complete the repairs, perform the Clearing Diagnostic Trouble Codes (DTCs) procedure in order to clear the DTC.

Diagnostic Aids

    • Inspect for a short to B+ in CKT 1393 and CKT 328.
    • Inspect for a short to ground in CKT 1393 and CKT 328.
    • Attempt to perform the tests shown while moving wiring and connectors. This can cause the malfunction to appear.

BCM Input/Output Test Procedure

  1. Turn off the instrument panel dimmer switch.
  2. Turn the ignition switch to the LOCK position.
  3. Remove the BCM PRGRM Fuse.
  4. Turn the ignition switch to the ACC position.
  5. The BCM sounds the chime a number of times equal to the BCM type installed on the vehicle.

  6. Within 1 second, turn the ignition switch from the ACC position to the LOCK position, then back to the ACC position.
  7. The BCM sounds any DTCs stored.

  8. Turn the instrument panel dimmer switch to the DOME position.
  9. Turn on the interior lamps override switch (enabling the interior lights).

The BCM Input/Output test includes the following steps:

    • Test 1 de-energizes CKT 1393 and CKT 328 (protected courtesy light output).
    • Test 2 energizes CKT 1393 and CKT 328.
    • Test 3 grounds CKT 690 (courtesy lights control).
    • Test 4 energizes the theft deterrent relay for 1 second by grounding CKT 301 turning on the exterior lights (BCM type 4 only).
    • Test 5 energizes the horn relay for 25 ms by grounding CKT 28, sounding the horn (BCM type 4 only).
    • Test 6 turns on the security indicator lamp by grounding CKT 749 (BCM type 4 only).
    • Test 7 turns off the security indicator lamp by opening CKT 749 (BCM type 4 only).

The BCM runs the Input/Output test in numerical order.

In order to move to the next test, cycle the instrument panel dimmer switch from the DOME position to the OFF position, then back to the DOME position. The BCM sounds the chime a number equal to the Input/Output test number above. The Input/Output test sequence repeats until the ignition switch is turned to the LOCK position.

Test Description

The numbers below refer to the step numbers on the diagnostic table.

  1. Always perform the BCM diagnostic system check before attempting to diagnose the DTC.

  2. Perform the BCM Input/Output test. This test energizes and de-energizes CKT 1393 and CKT 328. During this test, the technician can monitor the courtesy lights. If the courtesy lights turn off during this test, CKT 1393 and CKT 328 are in good condition and no short to B+ or ground is present.

  3. Test for a short to B+ in CKT 1393 and CKT 328.

  4. Test for a short to ground in CKT 1393 and CKT 328.

Step

Action

Value(s)

Yes

No

1

Did you perform the BCM diagnostic system check?

--

Go to Step 2

Go to Diagnostic System Check - Body Control System

2

Perform the BCM Input/Output test. Refer to Diagnostic Aids.

Do all the lights connected to CKT 1393 and CKT 328 turn off when the BCM Input/Output performs test 1 and turn on when performing test 2?

--

Go to Step 5

Go to Step 3

3

  1. Turn the ignition switch to the LOCK position.
  2. Disconnect the BCM connector C1.
  3. Turn the ignition switch to the RUN position.
  4. Turn on the interior lamps override switch (enabling the interior lights).
  5. Use a J 39200 in order to measure the voltage between the BCM harness connector C1 terminal E and ground.

Is the voltage less than the specified value?

2 V

Go to Step 4

Go to Step 6

4

  1. Ensure that all of the following lamps are off:
  2. • The roof rail reading lamps
    • The windshield header lamps
    • The underhood lamp
    • The sunshade illuminated mirror lamps
    • The IP compartment lamp
  3. Use a J 39200 in order to measure the resistance between the BCM harness connector C1 terminal E and ground.

Is the resistance equal to the specified value?

Infinite

Go to Step 8

Go to Step 7

5

The malfunction is intermittent or not present at this time. Refer to Diagnostic Aids.

Is the action complete?

--

Go to Step 9

--

6

Repair short to B+ in CKT 1393 and CKT 328.

Is the repair complete?

--

Go to Step 9

--

7

Repair short to ground in CKT 1393 and CKT 328.

Is the repair complete?

--

Go to Step 9

--

8

    • Inspect the BCM connector C1 for a short to B+ or ground in terminal E, and repair as needed.
    • If the connector is OK, replace the BCM. Refer to Body Control Module Replacement

Is the repair complete?

--

Go to Step 9

--

9

  1. Turn the ignition switch to the LOCK position.
  2. Connect all of the connectors.
  3. Install all of the components.
  4. Open any vehicle door for 10 seconds.
  5. Close all the vehicle doors.
  6. Remove the BCM PRGRM Fuse.
  7. Turn the ignition switch to the ACC position. (The BCM sounds the chime a number of times equivalent to the BCM type installed on the vehicle).
  8. Within 1 second, turn the ignition switch from the ACC position, to the LOCK position, back to the ACC position. (The BCM sounds any DTCs stored.).

Are any BCM DTCs present?

--

Go to Diagnostic System Check - Body Control System

System OK