GM Service Manual Online
For 1990-2009 cars only
Figure 1:

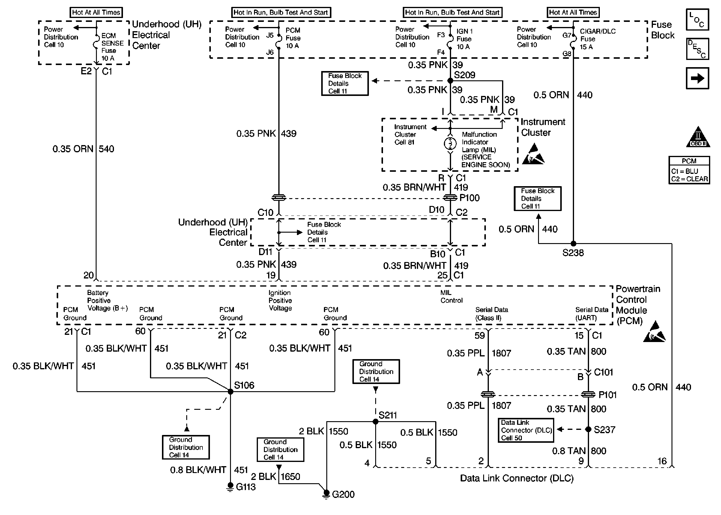
Power, Ground, MIL, DLC


Object Number: 42394  Size: FS
Handling ESD Sensitive Parts Notice
Handling ESD Sensitive Parts Notice
Information Sensors
Engine Controls Components
OBD II Symbol Description Notice
Ignition System, Knock Sensor
Figure 2:

Ignition System, Knock Sensor


Object Number: 42401  Size: FS
Handling ESD Sensitive Parts Notice
OBD II Symbol Description Notice
Power, Ground, MIL, DLC
Fuel Control
Information Sensors
Engine Controls Components
Figure 3:

Fuel Control


Object Number: 42407  Size: FS
Handling ESD Sensitive Parts Notice
Handling ESD Sensitive Parts Notice
Fuel Injectors
Ignition System, Knock Sensor
Information Sensors
Engine Controls Components
OBD II Symbol Description Notice
Figure 4:

Fuel Injectors


Object Number: 42410  Size: FS
Handling ESD Sensitive Parts Notice
Fuel Control
Engine Data Sensors-A/C Refrig Press, TP, MAP, ECT, IAT
Information Sensors
Engine Controls Components
OBD II Symbol Description Notice
Figure 5:

Engine Data Sensors-A/C Refrig Press, TP, MAP, ECT, IAT


Object Number: 42412  Size: FS
Handling ESD Sensitive Parts Notice
Handling ESD Sensitive Parts Notice
Fuel Injectors
Engine Data Sensors-MAF, EVAP Sw, EVAP Valve, EGR
Information Sensors
Engine Controls Components
OBD II Symbol Description Notice
Figure 6:

Engine Data Sensors-MAF, EVAP Sw, EVAP Valve, EGR


Object Number: 42414  Size: FS
Handling ESD Sensitive Parts Notice
Engine Data Sensors-A/C Refrig Press, TP, MAP, ECT, IAT
Engine Data Sensors-HO2S-1, HO2S-2
Information Sensors
Engine Controls Components
Figure 7:

Engine Data Sensors-HO2S-1, HO2S-2


Object Number: 42417  Size: FS
Handling ESD Sensitive Parts Notice
Engine Data Sensors-MAF, EVAP Sw, EVAP Valve, EGR
IAC Valve, EBTCM, Engine Oil Level Sensor
Information Sensors
Engine Controls Components
OBD II Symbol Description Notice
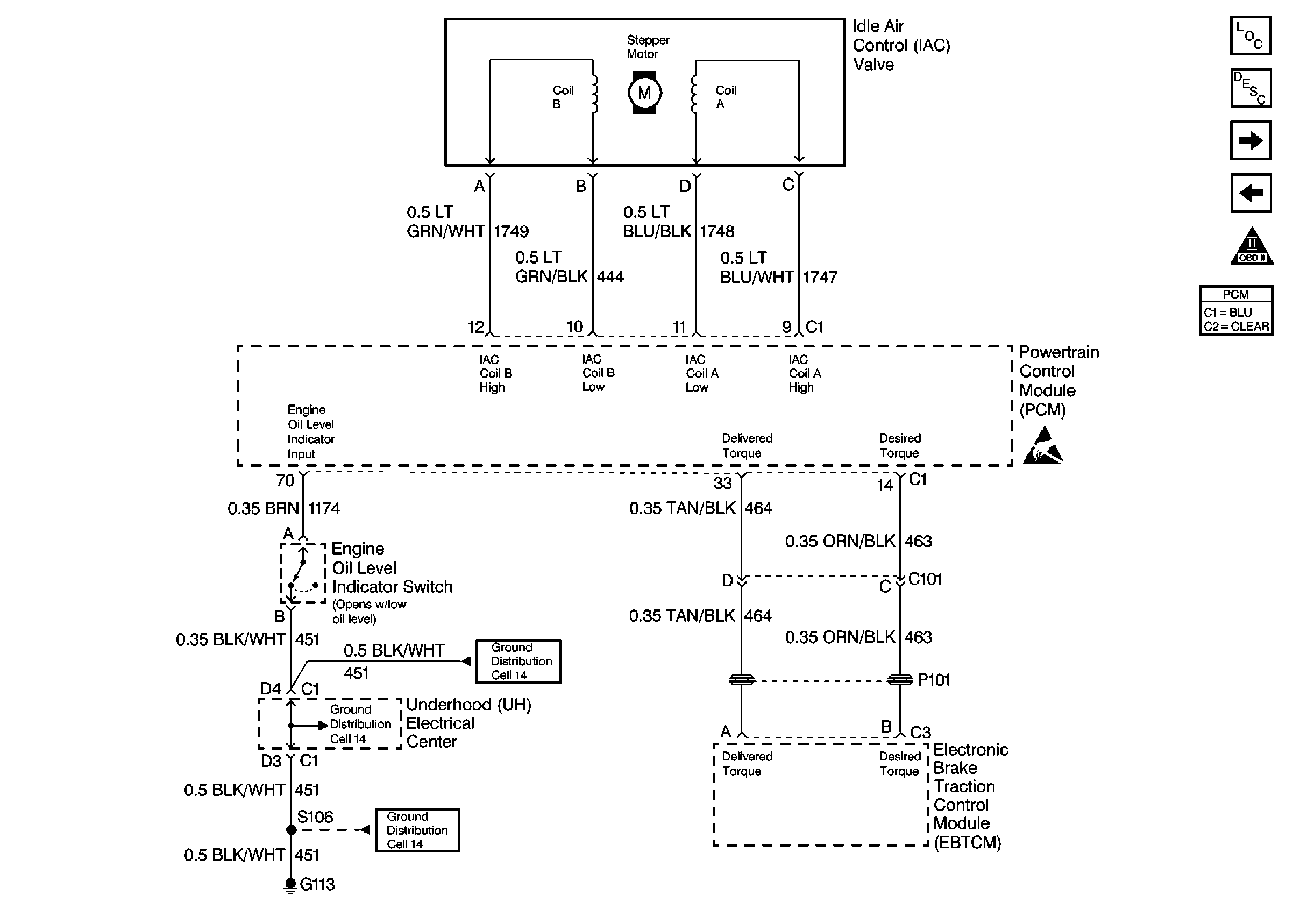
Figure 8:

IAC Valve, EBTCM, Engine Oil Level Sensor


Object Number: 42420  Size: FS
Handling ESD Sensitive Parts Notice
Engine Data Sensors-HO2S-1, HO2S-2
Vehicle Speed Sensor
Information Sensors
Engine Controls Components
OBD II Symbol Description Notice
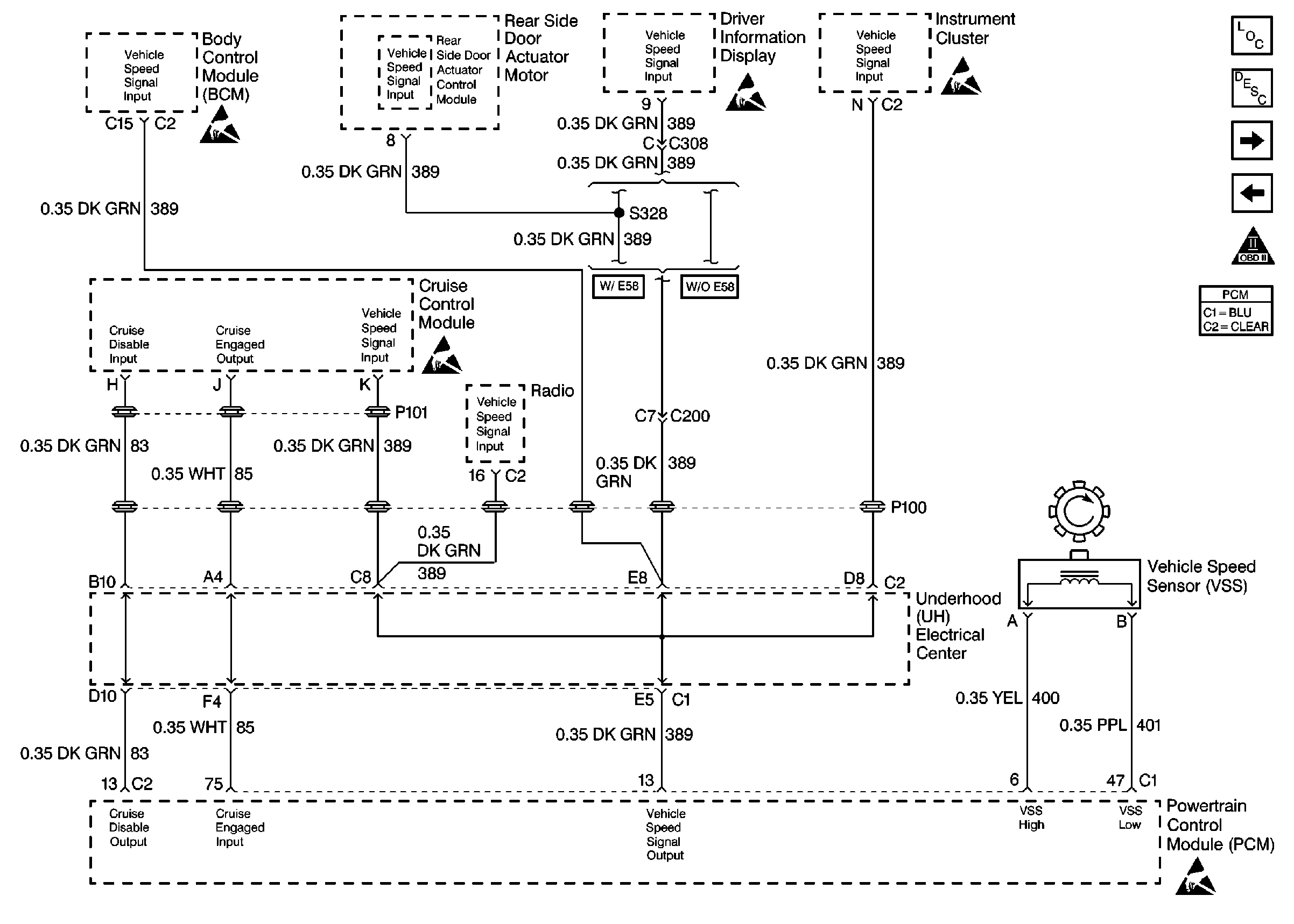
Figure 9:

Vehicle Speed Sensor


Object Number: 42421  Size: FS
Handling ESD Sensitive Parts Notice
Handling ESD Sensitive Parts Notice
Handling ESD Sensitive Parts Notice
Handling ESD Sensitive Parts Notice
Handling ESD Sensitive Parts Notice
IAC Valve, EBTCM, Engine Oil Level Sensor
4-Speed Automatic Transaxle, TCC Sw.
Information Sensors
Engine Controls Components
OBD II Symbol Description Notice
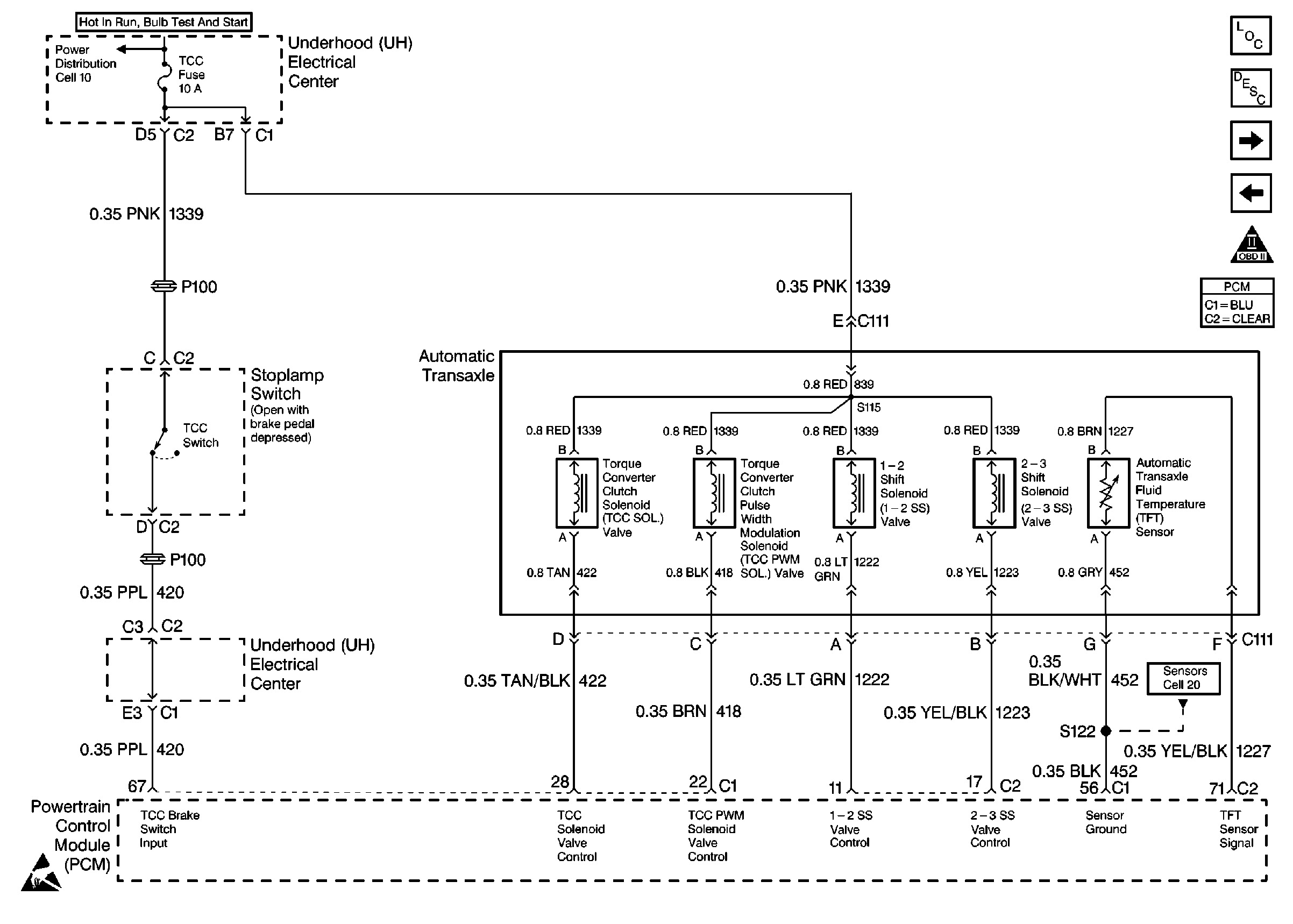
Figure 10:

4-Speed Automatic Transaxle, TCC Sw.


Object Number: 42422  Size: FS
Handling ESD Sensitive Parts Notice
Vehicle Speed Sensor
Indicator Lamps
Information Sensors
Engine Controls Components
OBD II Symbol Description Notice
Figure 11:

Indicator Lamps


Object Number: 42423  Size: FS
Handling ESD Sensitive Parts Notice
Handling ESD Sensitive Parts Notice
4-Speed Automatic Transaxle, TCC Sw.
A/C Compressor Controls
Information Sensors
Engine Controls Components
OBD II Symbol Description Notice
Figure 12:

A/C Compressor Controls


Object Number: 42424  Size: FS
Handling ESD Sensitive Parts Notice
Indicator Lamps
Coolant Fans
Information Sensors
Engine Controls Components
OBD II Symbol Description Notice
Figure 13:

Coolant Fans


Object Number: 42425  Size: FS
Handling ESD Sensitive Parts Notice
Handling ESD Sensitive Parts Notice
OBD II Symbol Description Notice
A/C Compressor Controls
Transaxle Range Sw.
Information Sensors
Engine Controls Components
Figure 14:

Transaxle Range Sw.


Object Number: 42427  Size: FS
Handling ESD Sensitive Parts Notice
Handling ESD Sensitive Parts Notice
Handling ESD Sensitive Parts Notice
OBD II Symbol Description Notice
Coolant Fans
Information Sensors
Engine Controls Components