GM Service Manual Online
For 1990-2009 cars only
Makes
🢒
Chevrolet
🢒
1999
🢒
Venture Ext.
🢒
Body and Accessories
🢒
Doors
🢒 Sliding Door Schematics
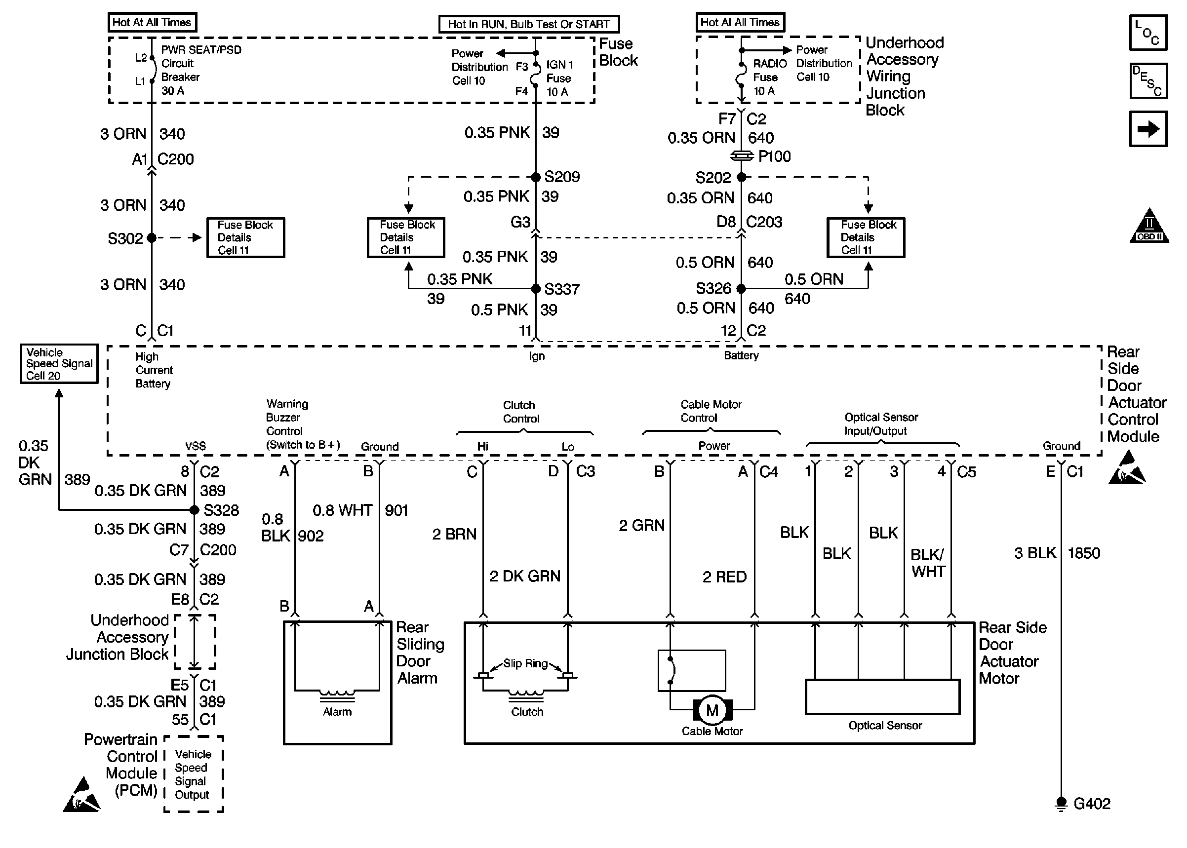
Figure
1:
PSD Module
Power Door Systems Components
Power Sliding Door (PSD) Circuit Description
PSD Module Control Switches
OBD II Symbol Description Notice
Handling ESD Sensitive Parts Notice
Cell 11: UH: Radio Fuse
Cell 10: EBCM, EBTCM, Battery
Cell 10: Ignition Switch, Transaxle Range Switch
Cell 11: FRT HVAC HI BLWR, HEADLAMP, PWR SEAT/PSD and PWR WDO CKT Breakers
Cell 11: IGN 1 Fuse
Vehicle Speed Sensor
Handling ESD Sensitive Parts Notice
Figure
2:
PSD Module Control Switches
Power Door Systems Components
Power Sliding Door (PSD) Circuit Description
PSD Module
Handling ESD Sensitive Parts Notice
Handling ESD Sensitive Parts Notice
Cell 51: BCM: Ignition Input, Door Locks, Exterior Lamps Output
Cell 10: Underhood Accessory Wiring Junction Block
Cell 14: G302
Cell 117: Interior Lamp and Multifunction Switch, Right Rear Door Latch, Release Actuator Switch
Cell 14: G302
Cell 14: G302