GM Service Manual Online
For 1990-2009 cars only

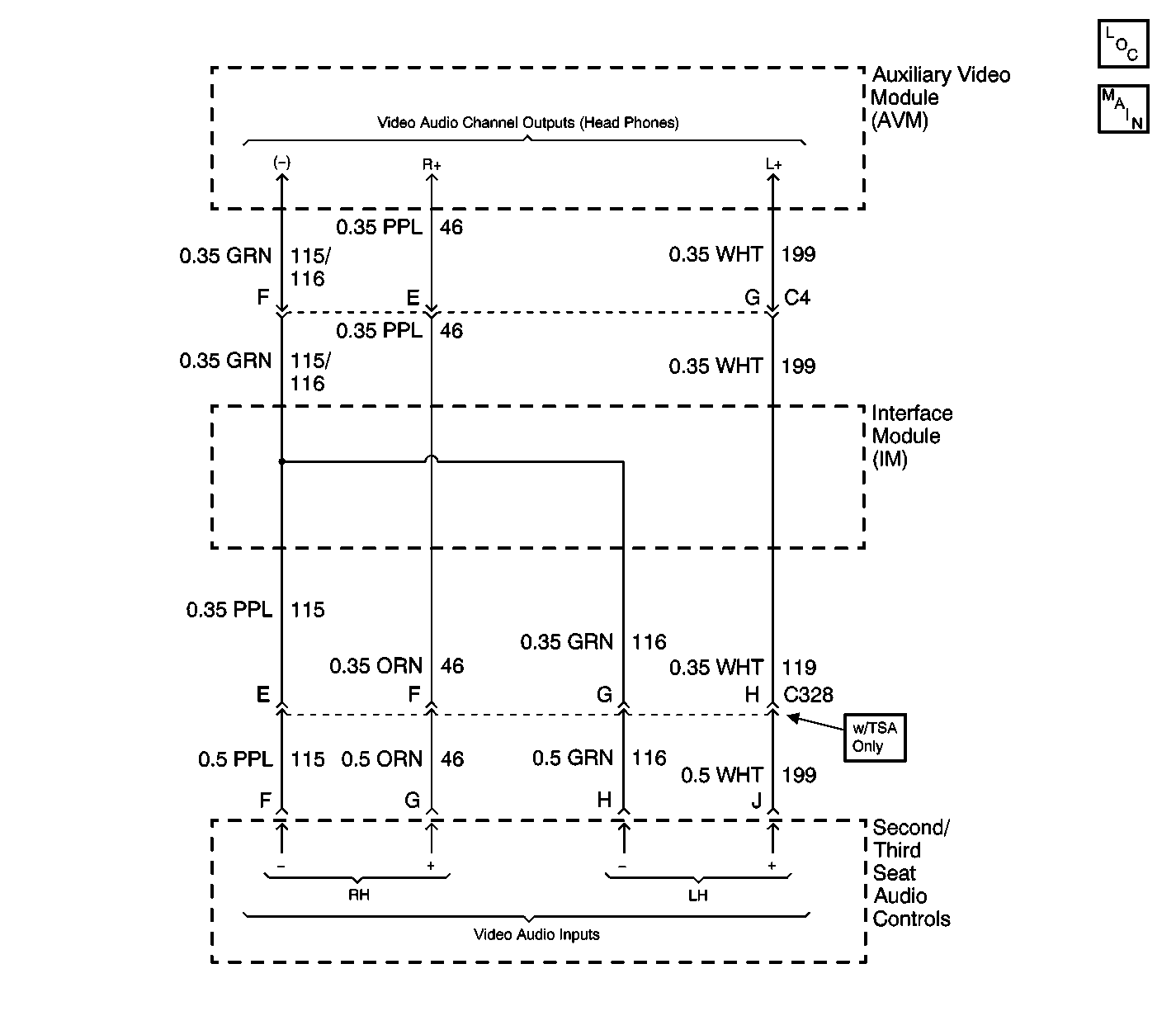
Object Number: 629326  Size: LF
Entertainment Components
Video Audio Channel Outputs

Circuit Description

The Video Entertainment System (VES) controls the operation of the rear speakers. The Auxiliary Video Module (AVM) has an audio amplifier, which is used to sound video audio through the rear speakers. The Interface Module (IM) senses when the radio is in use through circuit 145. When the radio is off, the IM allows the rear speakers to sound video audio. However, when the radio is turned on, the IM mutes the rear speakers; video audio is then available through the headphone jacks at the Second and Third Seat Audio (SSA/TSA) controls only. This action prevents two sources of audio to be heard at the same time (radio audio through the front speakers and video audio through the rear speakers.)

Diagnostic Aids

    • Check for the following conditions:
       - A faulty AVM.
       - A faulty IM.
    • An intermittent failure may be very difficult to detect and to diagnose accurately. Faulty electrical connections or wiring causes most intermittent problems. When an intermittent condition is suspected, check the suspected circuits for the following conditions:
       - Poor mating of connector halves or backed out terminals.
       - Improperly formed or damaged terminals.
       - Wire chafing.
       - Poor wire to terminal connections.
       - Dirty or corroded terminals.
       - Damage to connector bodies.
       - Wire broken inside the insulation.

Test Description

The number(s) below refer to the step number(s) on the diagnostic table.

  1. Checks for video audio output coming from the AVM to the IM.

  2. Verifies repairs made to the VES.

Step

Action

Value(s)

Yes

No

1

  1. Turn the ignition switch on.
  2. Turn on the Video Cassette Player (VCP) and play a VHS tape.
  3. Using a J 39200 digital multimeter (DMM) set on AC voltage scale, measure the voltage by backprobing between these terminals at the Auxiliary Video Module (AVM) harness connector C4:
  4. • Right channel: terminals E and F.
    • Left channel: terminals G and F.

While the VCP is playing, does the voltage measure in the specified range?

0-1V AC (Varies as Audio Plays)

Go to Step 2

Go to Step 3

2

  1. Inspect for a poor connection between the AVM and the IM. Repair as necessary.
  2. If connection is OK, then replace the IM. Refer to Interface Module Replacement .

Is the repair complete?

--

Go to Step 4

--

3

Replace the AVM. Refer to Audio/Video Interface Module Replacement .

Is the repair complete?

--

Go to Step 4

--

4

  1. Turn the ignition switch off.
  2. Reconnect connectors/components removed.
  3. Verify the operation of the Video Entertainment System (VES).

Does the VES operate normally?

--

System OK

Go to Video System System Check