GM Service Manual Online
For 1990-2009 cars only
Makes
🢒
GMC_Truck
🢒
2007
🢒
Acadia - 2WD
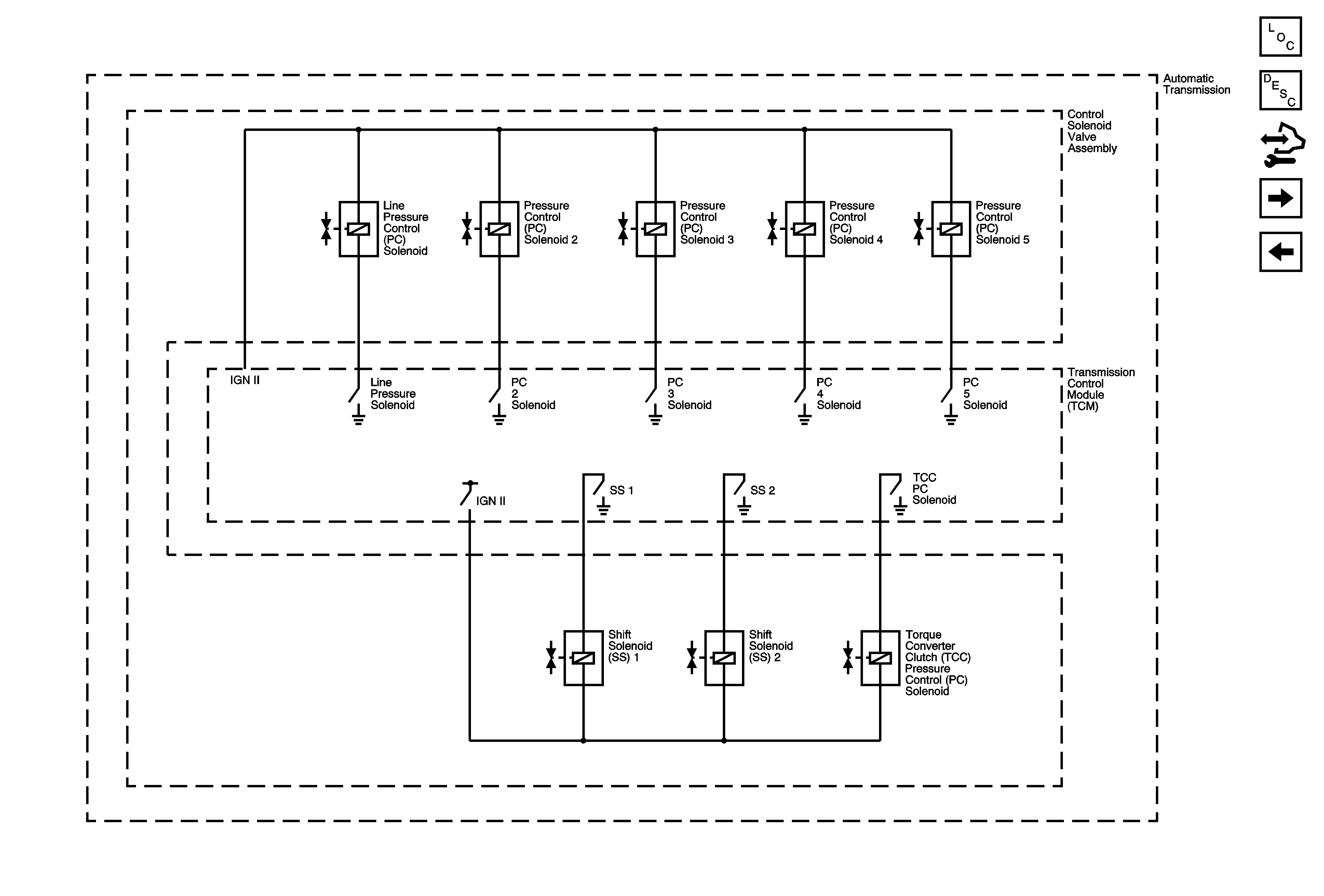
🢒 Pressure Controls and Shift Controls
Pressure Controls and Shift Controls
Pressure Controls and Shift Controls
Master Electrical Component List
Electronic Component Description
Control Module References
ISS, OSS, TFP, and TFT
Module Power, Ground, Data Communication, MIL and Brake Applied Signal