GM Service Manual Online
For 1990-2009 cars only
Makes
🢒
GMC_Truck
🢒
2000
🢒
GMC C Pickup - 2WD (CNG)
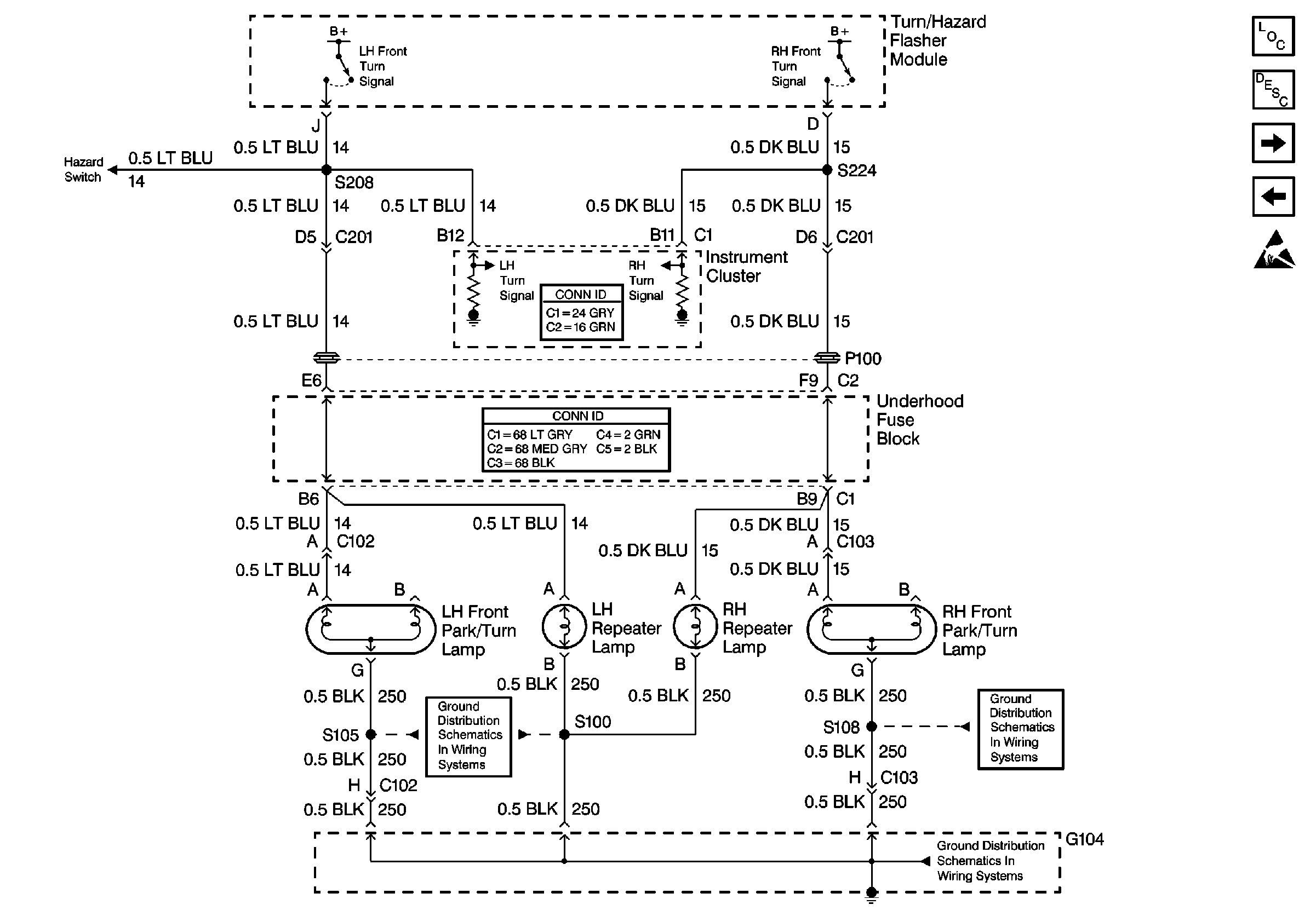
🢒 Front Park/Turn and Repeater Lamps
Front Park/Turn and Repeater Lamps
Front Park/Turn and Repeater Lamps
Lighting Systems Components
Exterior Lights Circuit Description
Standing and Position Lamp Relays
Tail Lamps
Handling ESD Sensitive Parts Notice
G104 - Lamps and Other Items
G104 - Relays, Horns and Other Items
Turn/Hazard Flasher Module, Hazard Switch