GM Service Manual Online
For 1990-2009 cars only
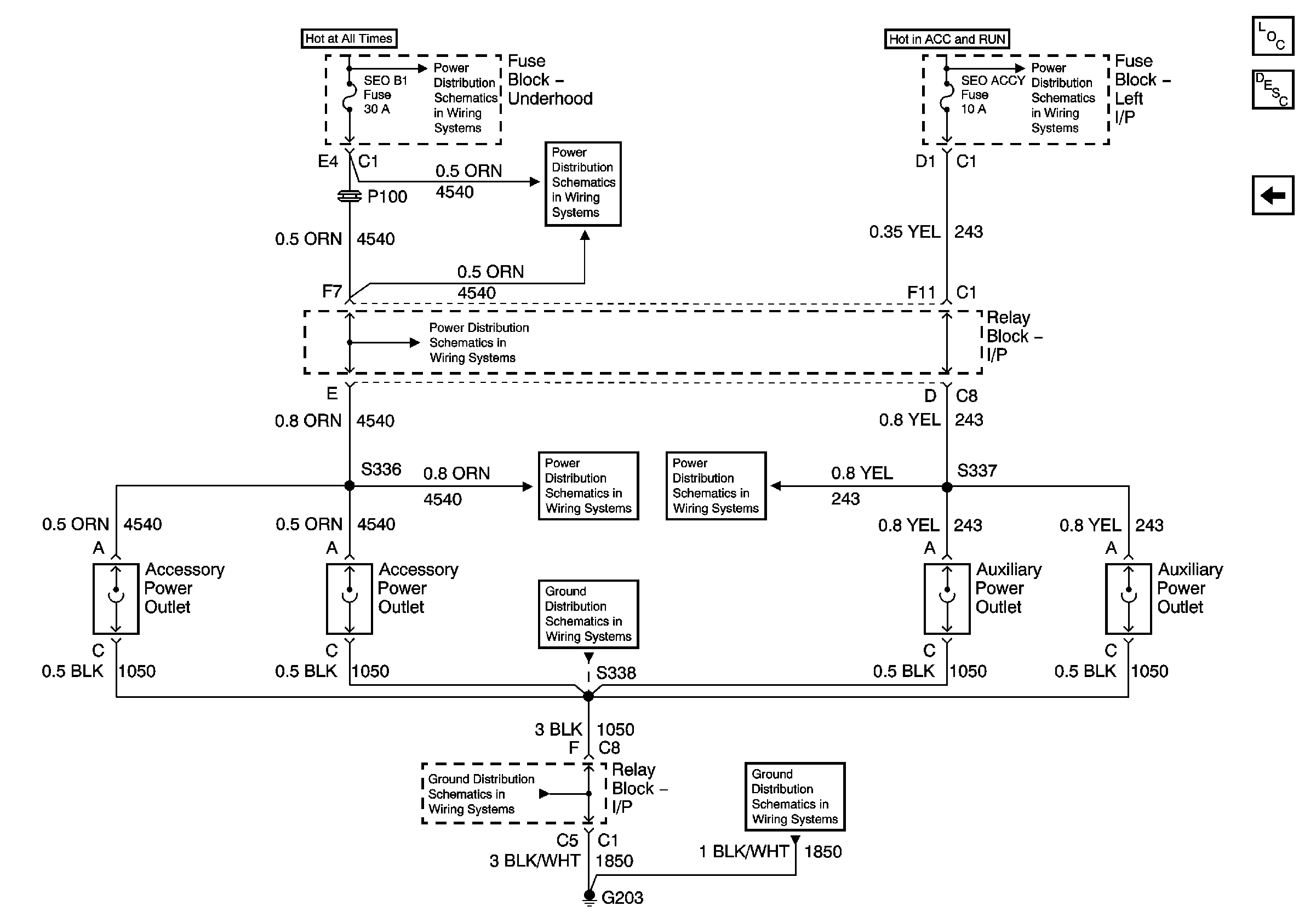
Figure 1:

Base


Object Number: 1195005  Size: FS
Master Electrical Component List
UQ7 Except Y91
B+ Bus Bar (Gas) - 1 of 3
INFO, CIGAR
G200-2 of 3
G200-1 of 3
G200-1 of 3
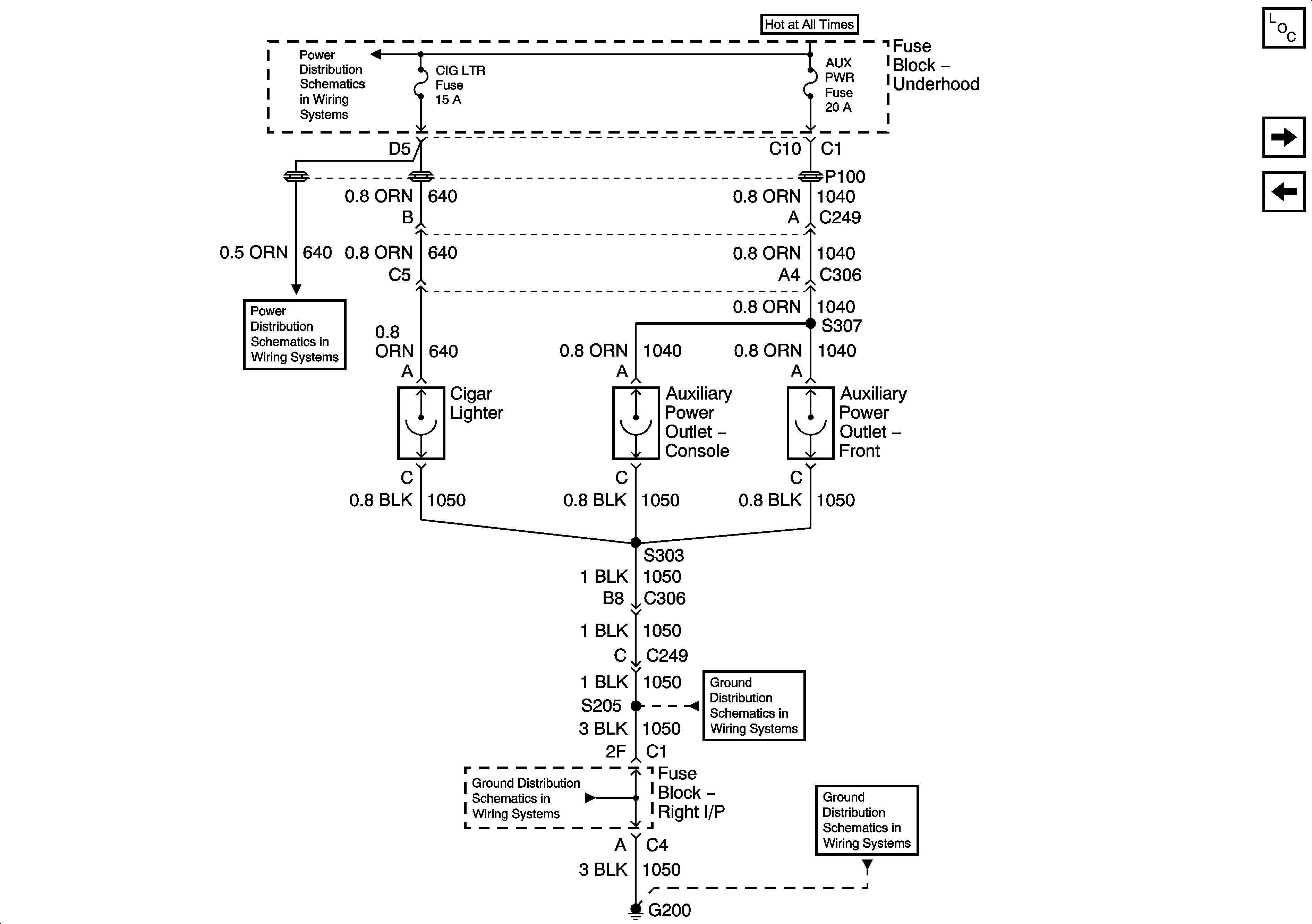
Figure 2:

UQ7 Except Y91


Object Number: 868971  Size: FS
Master Electrical Component List
Y91 Only
Base
B+ Bus Bar (Gas) - 1 of 3
INFO, CIGAR
G200-1 of 3
G200-2 of 3
G200-1 of 3
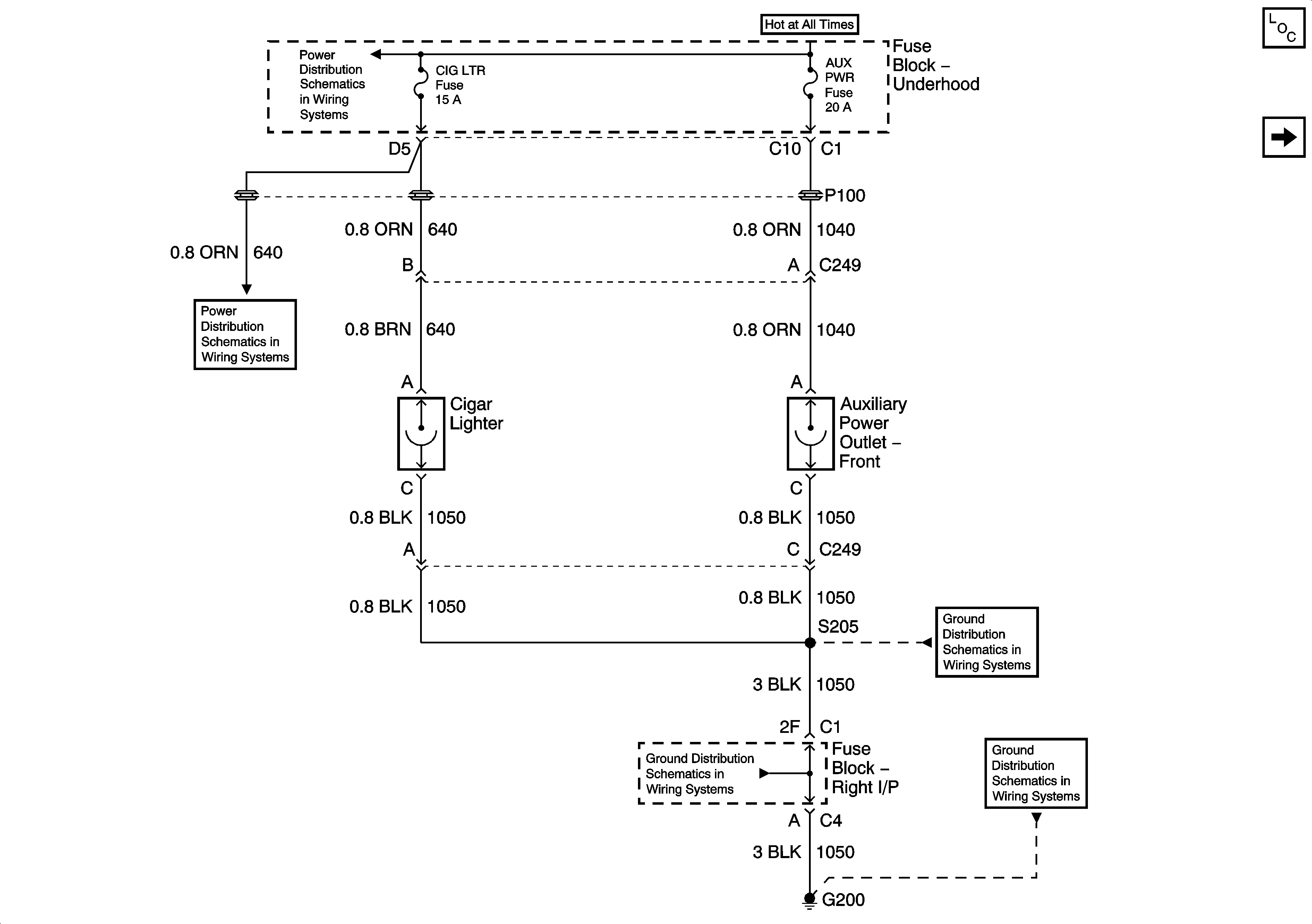
Figure 3:

Y91 Only


Object Number: 868972  Size: FS
Master Electrical Component List
Thermo Console
UQ7 Except Y91
B+ Bus Bar (Gas) - 1 of 3
INFO, CIGAR
G200-2 of 3
G200-1 of 3
G200-1 of 3
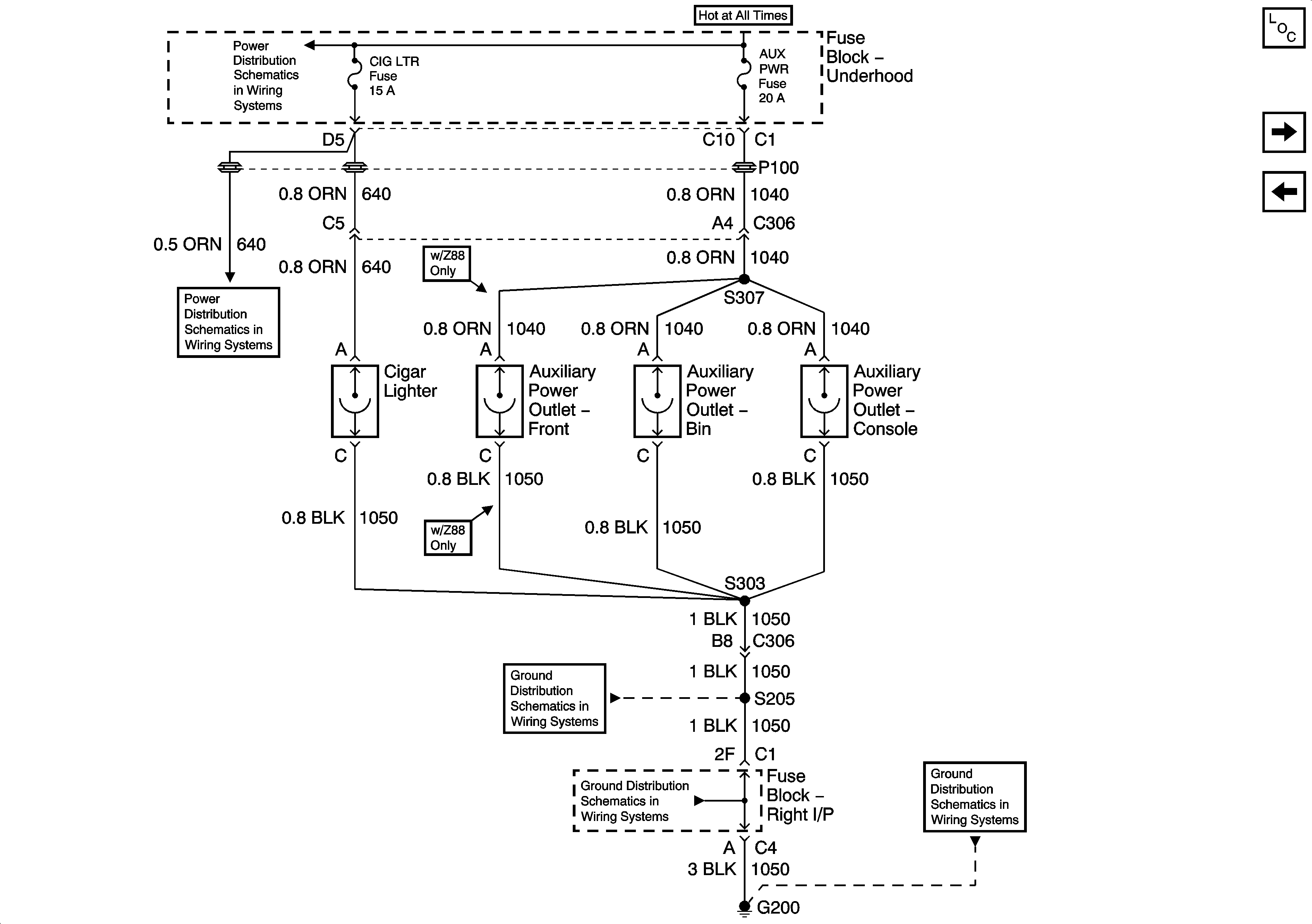
Figure 4:

Thermo Console


Object Number: 879211  Size: FS
Master Electrical Component List
Console Description
Y91 Only
IGN 0 , TBC IGN 0, TBC ACCY, SEO ACCY, W/S WIPER, RR WIPER
RTD/ECAS, RR WPR, EAP, SUNROOF, IPC/DIC, SEO 1
RTD/ECAS, RR WPR, EAP, SUNROOF, IPC/DIC, SEO 1
RTD/ECAS, RR WPR, EAP, SUNROOF, IPC/DIC, SEO 1
RTD/ECAS, RR WPR, EAP, SUNROOF, IPC/DIC, SEO 1
IGN 0 , TBC IGN 0, TBC ACCY, SEO ACCY, W/S WIPER, RR WIPER
G203-3 of 4
G203-1 of 3
G203-1 of 3