GM Service Manual Online
For 1990-2009 cars only
Figure 1:

Front Door Lock Switches - Base


Object Number: 882170  Size: FS
Master Electrical Component List
Power Door Locks Description and Operation
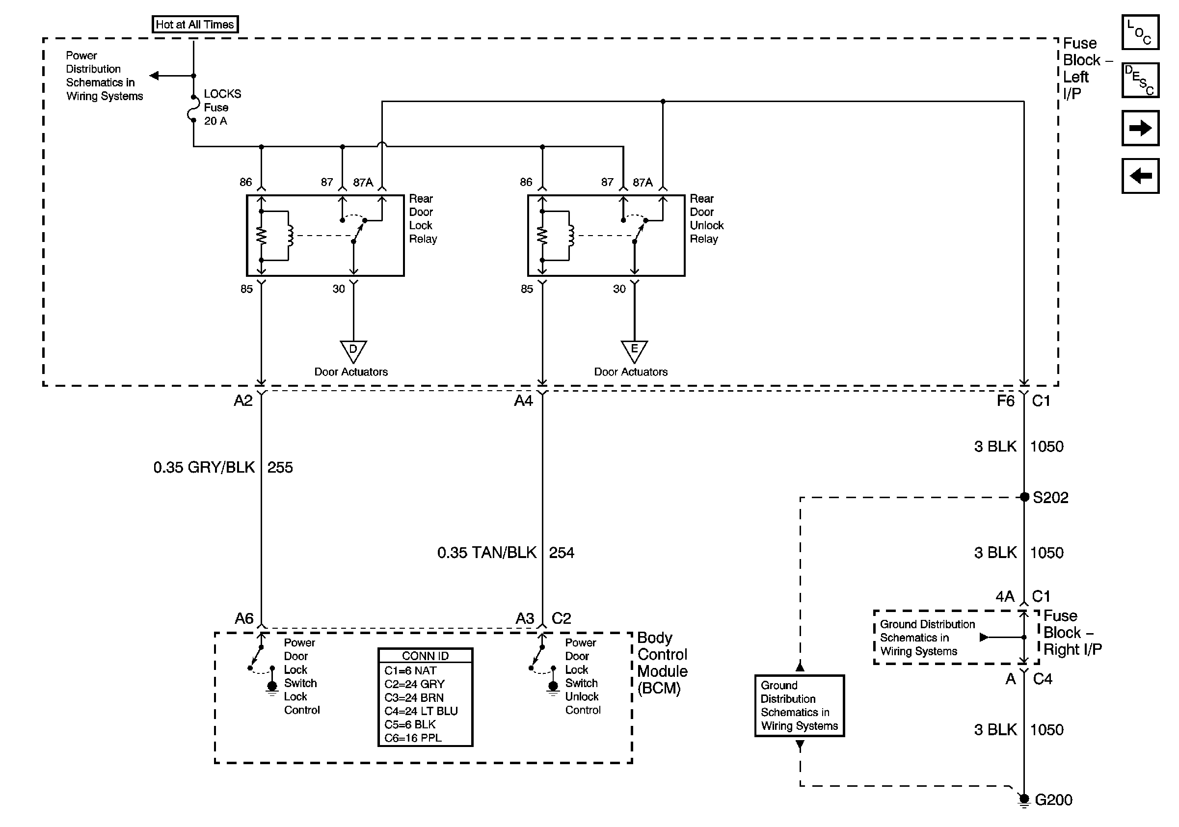
Door Lock Relays - Base
G203-2 of 3
G203-2 of 3
G203-1 of 3
G203-1 of 3
Figure 2:

Door Lock Relays - Base


Object Number: 882174  Size: FS
Master Electrical Component List
Power Door Locks Description and Operation
Door Lock Actuators - Base
Front Door Lock Switches - Base
Door Lock Actuators - Base
Door Lock Actuators - Base
Door Lock Actuators - Base
G200-3 of 3
G200-1 of 3
G200-1 of 3
LBEC 1, LBEC 2, MBEC 1
Figure 3:

Door Lock Actuators - Base


Object Number: 882176  Size: FS
Master Electrical Component List
Power Door Locks Description and Operation
Driver Door Lock Controls - Uplevel (YE9)
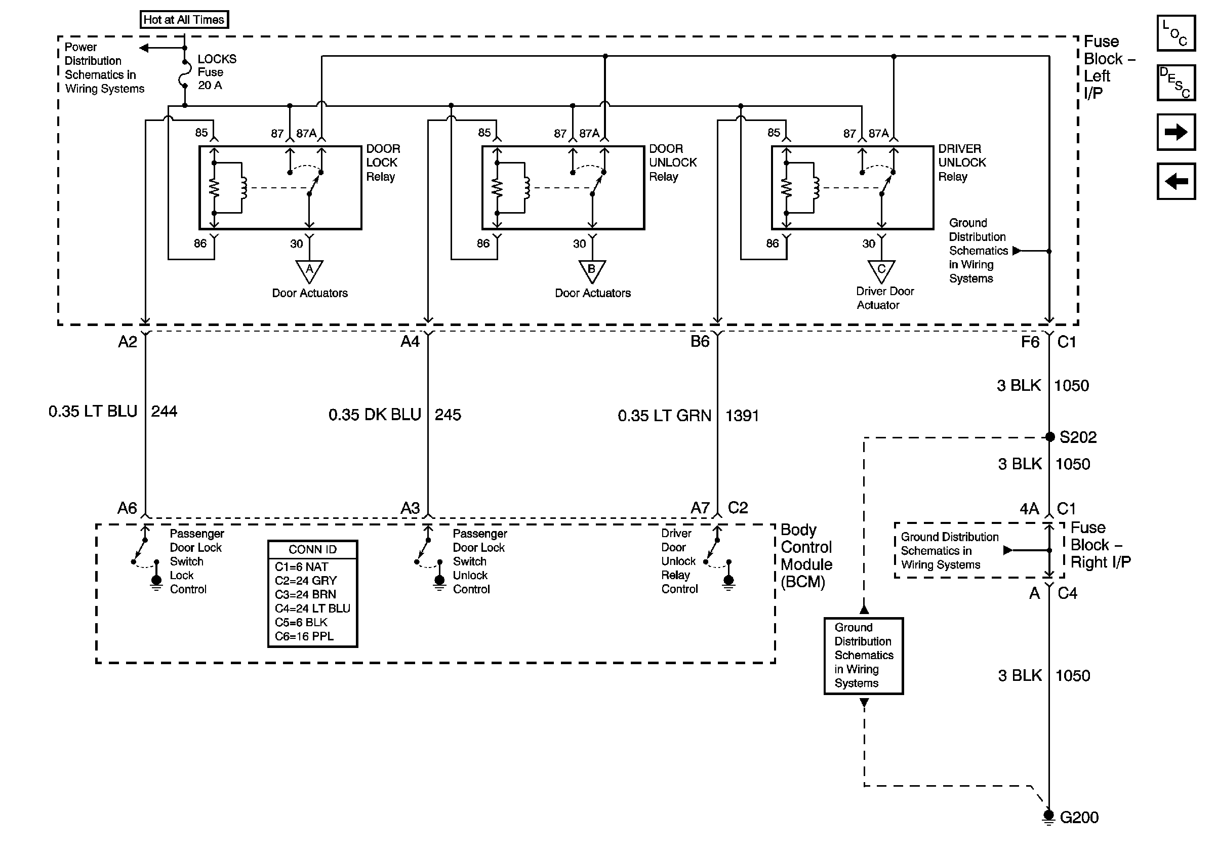
Door Lock Relays - Base
Door Lock Relays - Base
Door Lock Relays - Base
Door Lock Relays - Base
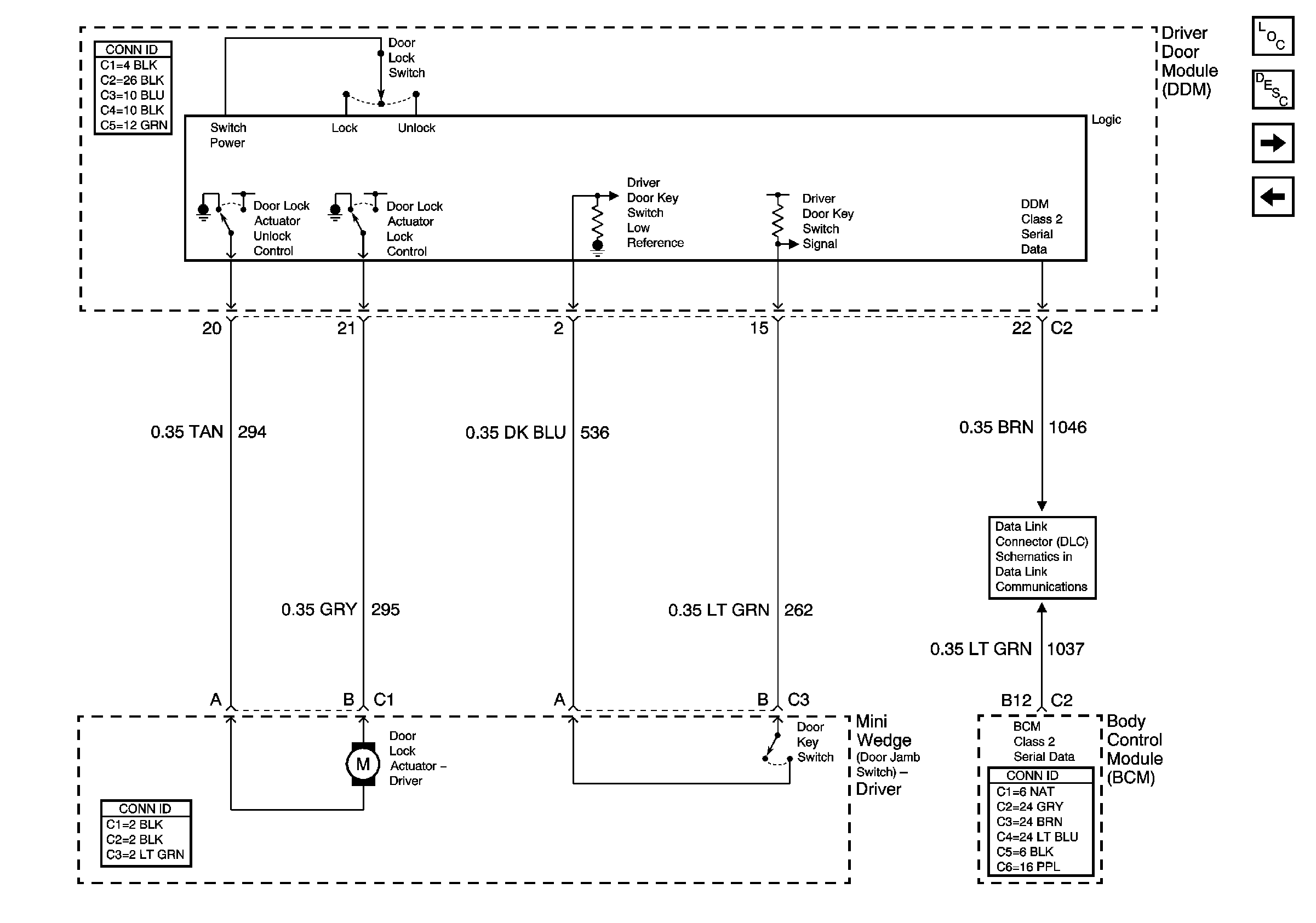
Figure 4:

Driver Door Lock Controls - Uplevel


Object Number: 882181  Size: FS
Master Electrical Component List
Power Door Locks Description and Operation
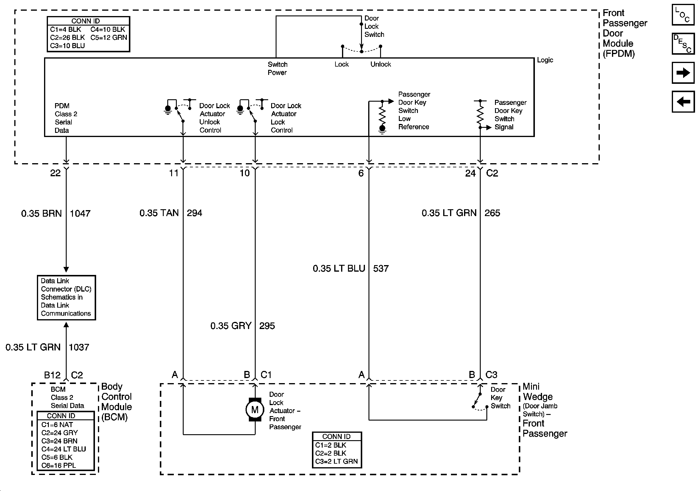
Passenger Door Lock Controls - Uplevel (YE9)
Door Lock Actuators - Base
SP205 - 1 of 2
Figure 5:

Passenger Door Lock Controls - Uplevel


Object Number: 882182  Size: FS
Master Electrical Component List
Power Door Locks Description and Operation
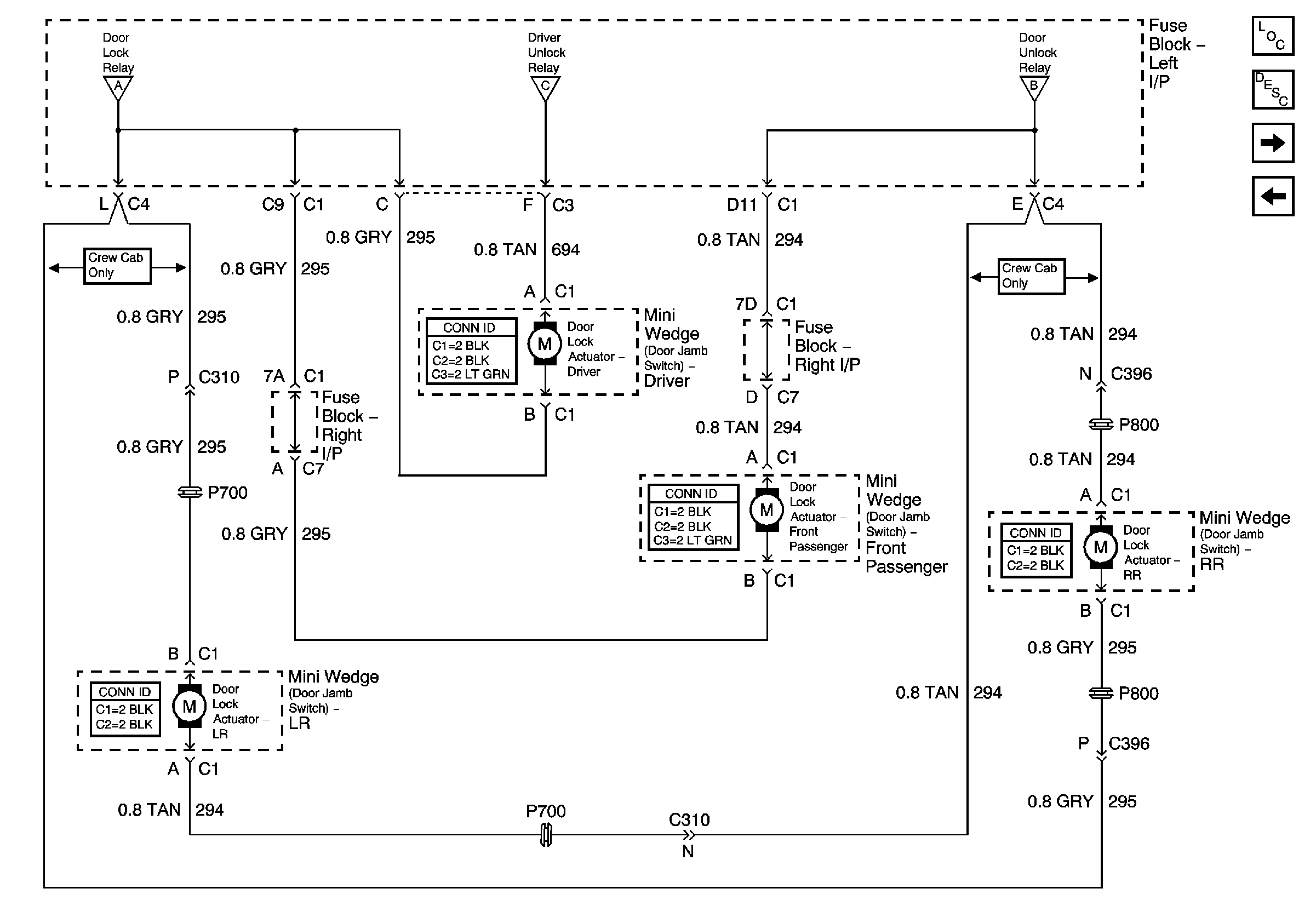
Door Lock Relays - Uplevel w/Crew Cab
Driver Door Lock Controls - Uplevel (YE9)
SP205 - 1 of 2
Figure 6:

Door Lock Relays - Uplevel w/Crew Cab


Object Number: 882186  Size: FS
Master Electrical Component List
Power Door Locks Description and Operation
Door Lock Actuators - Uplevel w/Crew Cab
Passenger Door Lock Controls - Uplevel (YE9)
FLASHER, LOCKS
Door Lock Actuators - Uplevel w/Crew Cab
Door Lock Actuators - Uplevel w/Crew Cab
G200-1 of 3
G200-1 of 3
Figure 7:

Door Lock Actuators - Uplevel w/Crew Cab


Object Number: 882189  Size: FS
Master Electrical Component List
Power Door Locks Description and Operation
Door Lock Relays - Uplevel w/Crew Cab
Door Lock Relays - Uplevel w/Crew Cab
Door Lock Relays - Uplevel w/Crew Cab