GM Service Manual Online
For 1990-2009 cars only
Makes
🢒
GMC_Truck
🢒
2003
🢒
GMC C Sierra - 2WD
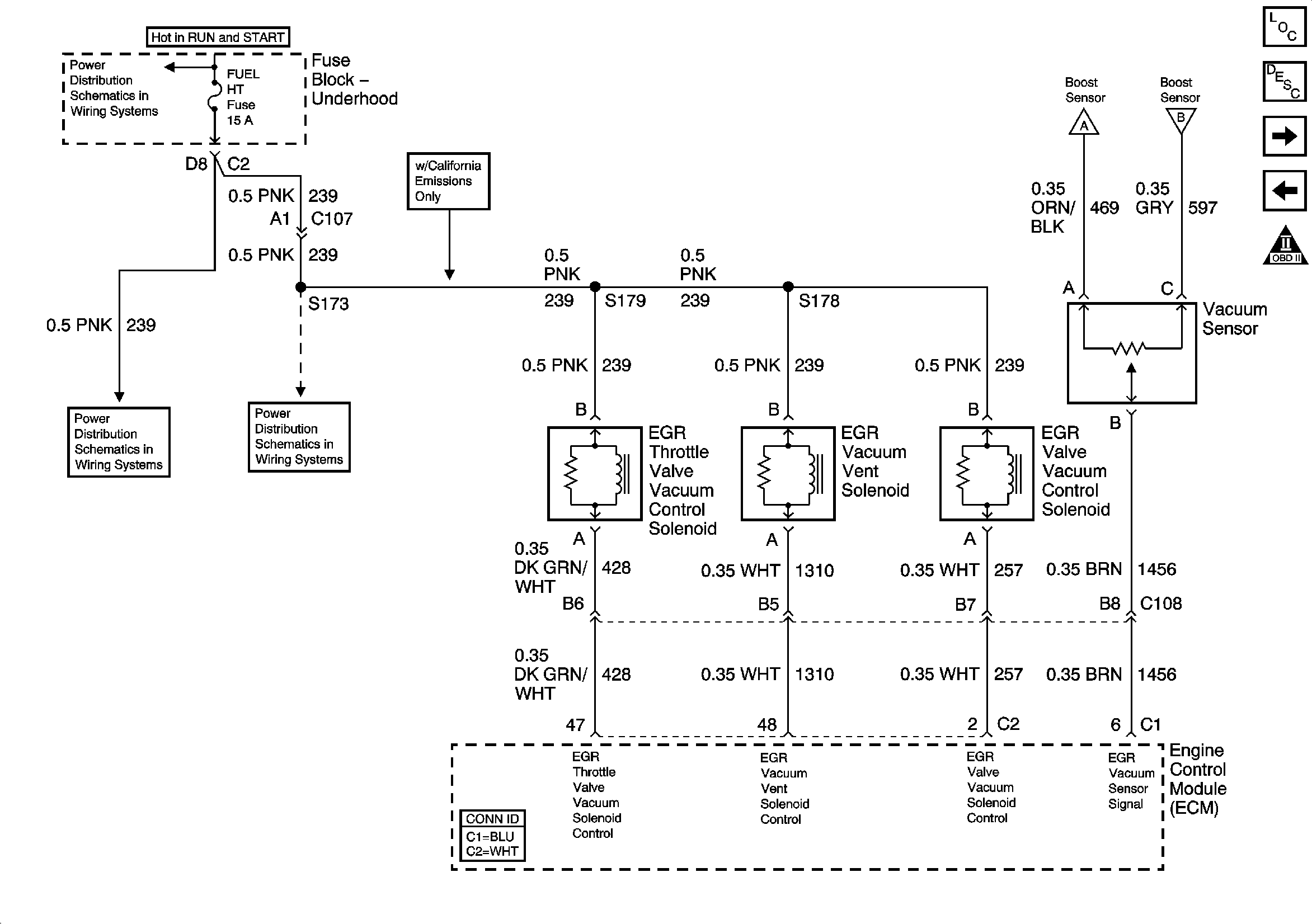
🢒 Engine Data Sensors - EGR and Vacuum
Engine Data Sensors - EGR and Vacuum
Engine Data Sensors - EGR and Vacuum
Master Electrical Component List
Engine Control Module Description
Engine Data Sensors - Pedal Position
Engine Data Sensors - Pressure and Temperature
OBD II Symbol Description Notice
Ignition, Run, Start, Accy Bus Bar
Engine Data Sensors - Pressure and Temperature
Engine Data Sensors - Pressure and Temperature
FUEL HT and ECM I Fuses - Diesel Only
FUEL HT and ECM I Fuses - Diesel Only