GM Service Manual Online
For 1990-2009 cars only
Makes
🢒
GMC_Truck
🢒
2003
🢒
GMC C Sierra - 2WD
🢒 Transmission Controls - A/T
Transmission Controls - A/T
Transmission Controls - A/T
Master Electrical Component List
Engine Control Module Description
Controlled/Monitored Subsystem References
OBD II Symbol Description Notice
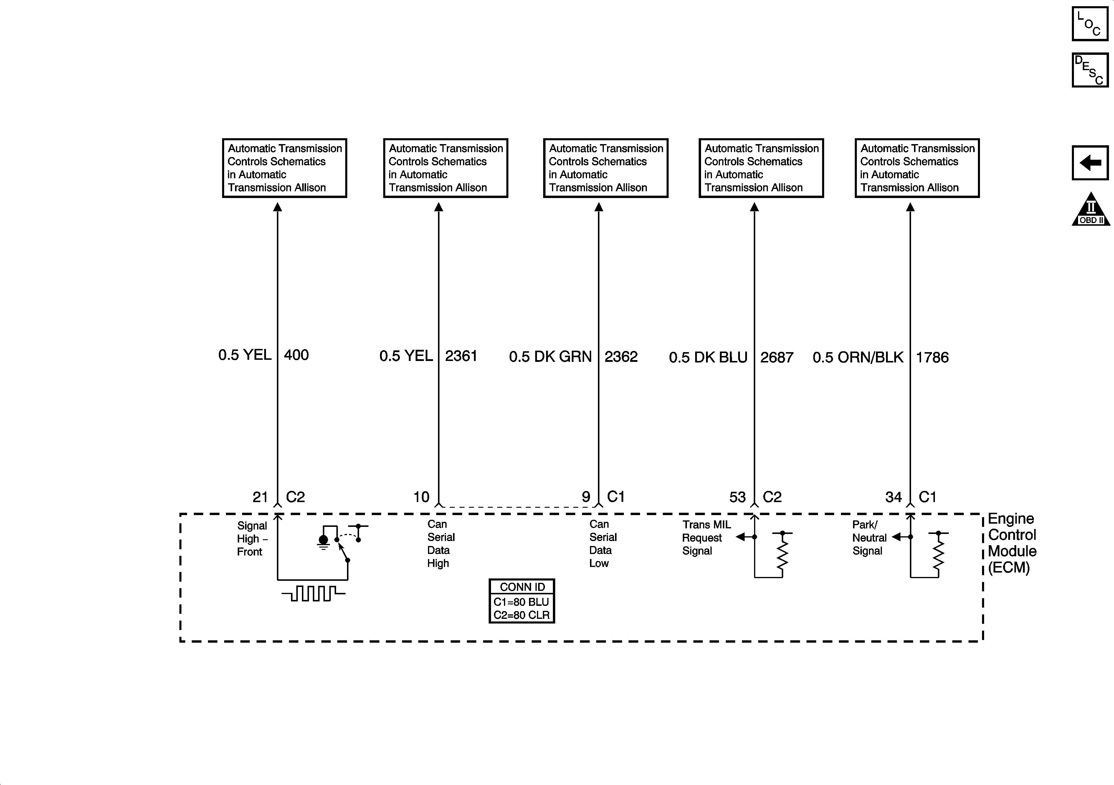
CAN Serial Data, VSS, and PNP Switch
CAN Serial Data, VSS, and PNP Switch
CAN Serial Data, VSS, and PNP Switch
Serial Data, Tow/Haul Switch, and Torque Signals