GM Service Manual Online
For 1990-2009 cars only

DTC P0560 System Voltage 6.5L Diesel


Object Number: 58304  Size: MF
Automatic Transmission Components 6.5L Diesel
Automatic Transmission Controls Schematics 6.5L Diesel
OBD II Symbol Description Notice
Handling ESD Sensitive Parts Notice

Circuit Description

Circuit 439 is the ignition voltage feed for the PCM. Circuit 440 is the battery feed for the PCM.

When the PCM detects a low voltage, a high voltage for a long time, or a high voltage for a short time, then DTC P0560 sets. DTC P0560 is a type D DTC.

Conditions for Setting the DTC

System Voltage Low

    • The engine speed is greater than 1500 RPM.
    • The system voltage is less than 10.5 volts at a maximum transmission temperature of 152°C (305°F).
    • The system voltage is less than 6.7 volts at a minimum transmission temperature of -40°C (-40°F).
    • All conditions met for 4 seconds.

If the system voltage is high then the system voltage is greater than 19 volts for 4 seconds.

Action Taken When the DTC Sets

    • The PCM causes an immediate landing to second gear.
    • The PCM turns off the PC Sol. Valve.
    • The PCM inhibits the TCC engagement.
    • The PCM freezes the shift adapts.
    • The PCM does not illuminate the Malfunction Indicator Lamp (MIL).

Conditions for Clearing the DTC

    • A scan tool can clear the DTC from the PCM history. The PCM clears the DTC from the PCM history if the vehicle completes 40 warm-up cycles without a failure reported.
    • The PCM cancels the DTC default actions when the fault no longer exists.
    • The PCM cancels the DTC default actions when the ignition is cycled OFF long enough to power down the PCM.

Diagnostic Aids

    • Charging the battery with a battery charger and jumpstarting an engine may set DTCs.
    • If this DTC is set when an accessory is operated, inspect for faulty connections or an excessive current draw.
    • Inspect for faulty electrical connections at the starter solenoid.
    • Inspect for faulty electrical connections at the fusible link.
    • Inspect for loose or damaged terminals at the generator.
    • Inspect the generator belt wear and the generator belt tension.
    • First diagnose and clear any engine DTCs or APP Sensor codes that are present. Then inspect for any transmission DTCs that may have reset.

Test Description

  1. This step tests the charging system voltage.

  2. This step tests the battery voltage input at the PCM.

  3. This step tests the ignition voltage inputs at the PCM.

P0560

Step

Action

Value(s)

Yes

No

1

Was the Powertrain On-Board Diagnostic (OBD) System Check performed?

--

Go to Step 2

Go to Powertrain On Board Diagnostic (OBD) System Check

2

  1. Install the scan tool (tech 1) ®.
  2. With the engine OFF, turn the ignition switch to the RUN position.
  3. Important: Before clearing the DTCs, use the scan tool in order to record the Freeze Frame and Failure Records for reference. The Clear Info function will erase the data.

  4. Record the DTC Freeze Frame and Failure Records.
  5. If any DTCs are present, refer to their applicable diagnostic tables before continuing.
  6. Using the J 39200 DVOM, measure the battery voltage across the battery terminals.
  7. Record the battery voltage measurement for future reference.

Is the voltage higher than the specified value?

10.5 volts

Go to Step 3

Go to Engine Electrical, Section 6

3

  1. Start the engine.
  2. Allow the engine to warm to normal operating temperature.

Is the generator lamp ON?

--

Go to Engine Electrical, Section 6

Go to Step 4

4

  1. Increase the engine speed to greater than 1500 RPM.
  2. Observe the scan tool system voltage.

Is the system voltage within the specified range?

13-15 volts

Go to Step 5

Go to Engine Electrical, Section 6

5

  1. Turn the ignition switch OFF.
  2. Disconnect the C3 (blue) PCM connector (Additional DTCs will set).
  3. With the engine OFF, turn the ignition switch ON.
  4. Measure the battery voltage input at the PCM connector terminals C3-C13 and C3-D13. Use the J 39200 DVOM and the J 35616-A Connector Test Adaptor Kit.

Is there a voltage variance between the voltage measured at the battery (taken in Step 2) and at terminal C3-C13 or terminal C3-D13 that is greater than the specified value?

0.5

Go to Step 6

Go to Step 7

6

Repair the high resistance condition in circuit 440. Refer to Electrical Diagnosis, Section 8.

Did you repair the circuit?

--

Go to Step 11

--

7

Measure the ignition voltage input at the PCM connector terminal C3-C11 and terminal C3-D12.

Is there a voltage variance between the voltage measured at the battery (taken in Step 2) and at terminal C3-C11 or terminal C3-D12 that is greater than the specified value?

0.5 volts

Go to Step 8

Go to Step 9

8

Repair the high resistance condition in circuit 439. Refer to Electrical Diagnosis, Section 8.

Did you repair the circuit?

--

Go to Step 11

--

9

  1. Inspect the PCM connector terminal C3 for damaged or backed out connector pins.
  2. Inspect for weak terminal tension.

Did you find a problem?

--

Go to Step 11

Go to Step 10

10

Replace the PCM. Powertrain Control Module Replacement/Programming . Refer to Section 6.

Is the replacement complete?

--

Go to Step 11

--

11

In order to verify your repair, perform the following procedure:

  1. Select DTC.
  2. Select Clear Info.
  3. Operate the vehicle under the following conditions:
  4. • Start the vehicle.
    • Warm the vehicle to normal operating temperature.
    • Inspect that the PCM sees a system voltage between 8.3 and 18.9 volts.
  5. Select Specific DTC. Enter DTC P0560.

Has the test run and passed?

--

System OK

Begin the diagnosis again. Go to Step 1

DTC P0560 System Voltage 4.3L, 5.7L, and 7.4L Gas


Object Number: 58200  Size: MF
Automatic Transmission Components 4.3L, 5.7L, and 7.4L Gas
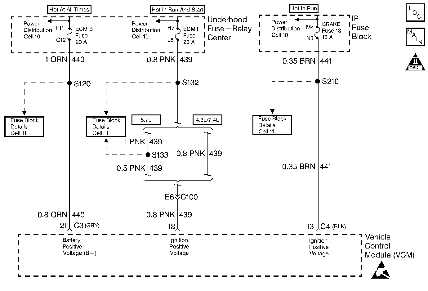
Automatic Transmission Controls Schematics 4.3L, 5.7L, and 7.4L Gas
OBD II Symbol Description Notice
Handling ESD Sensitive Parts Notice

Circuit Description

Circuit 439 is the ignition voltage feeds for the VCM. Circuit 440 is the battery voltage feed for the VCM.

When the VCM detects a low voltage, a high voltage for a long time, or a high voltage for a short time, then DTC P0560 sets. DTC P0560 is a type D DTC.

Conditions for Setting the DTC

System Voltage Low

    • The engine speed is greater than 1500 RPM.
    • The system voltage is less than 10.5 volts at a maximum transmission temperature of 152°C (305°F).
    • The system voltage is less than 6.7 volts at a minimum transmission temperature of -40°C (-40°F).
    • All conditions met for 4 seconds.

If the system voltage is high then the system voltage is greater than 19 volts for 4 seconds.

Action Taken When the DTC Sets

    • The VCM causes an immediate landing to second gear.
    • The VCM turns off the PC Sol. Valve.
    • The VCM inhibits the TCC engagement.
    • The VCM freezes the shift adapts.
    • The VCM does not illuminate the Malfunction Indicator Lamp (MIL).

Conditions for Clearing the DTC

    • A scan tool can clear the DTC from the VCM history. The VCM clears the DTC from the VCM history if the vehicle completes 40 warm-up cycles without a failure reported.
    • The VCM cancels the DTC default actions when the fault no longer exists.
    • The VCM cancels the DTC default actions when the ignition is cycled OFF long enough to power down the VCM.

Diagnostic Aids

    • Charging the battery with a battery charger and jumpstarting an engine may set this DTC.
    • If this DTC is set when an accessory is operated, inspect for faulty connections or an excessive current draw.
    • Inspect for faulty electrical connections at the starter solenoid.
    • Inspect for faulty electrical connections at the fusible link.
    • Inspect for loose or damaged terminals at the generator.
    • Inspect the generator belt wear and the generator belt tension.
    • First diagnose and clear any engine DTCs or TP Sensor codes that are present. Then inspect for any transmission DTCs that may have reset.

Test Description

  1. This step tests the charging system voltage.

  2. This step tests the battery voltage input at the VCM.

  3. This step tests the ignition voltage inputs at the VCM.

P0560

Step

Action

Value(s)

Yes

No

1

Was the Powertrain On-Board Diagnostic (OBD) System Check performed?

--

Go to Step 2

Go to Powertrain On Board Diagnostic (OBD) System Check (4.3L) or Powertrain On Board Diagnostic (OBD) System Check (5.7L and 7.4L)

2

  1. Install the scan tool (tech 1) ®.
  2. With the engine OFF, turn the ignition switch to the RUN position.
  3. Important: Before clearing the DTCs, use the scan tool in order to record the Freeze Frame and Failure Records for reference. The Clear Info function will erase the data.

  4. Record the DTC Freeze Frame and Failure Records.
  5. If any DTCs are present, refer to their applicable diagnostic tables before continuing.
  6. Using the J 39200 DVOM, measure the battery voltage across the battery terminals.
  7. Record the battery voltage measurement for future reference.

Is the voltage higher than the specified value?

10.5 volts

Go to Step 3

Go to Engine Electrical, Section 6

3

  1. Start the engine.
  2. Allow the engine to warm to normal operating temperature.

Is the generator lamp ON?

--

Go to Engine Electrical, Section 6

Go to Step 4

4

  1. Increase the engine speed to 1000-1500 RPM.
  2. Observe the scan tool system voltage.

Is the system voltage within the specified range?

13-15 volts

Go to Step 5

Go to Engine Electrical, Section 6

5

  1. Turn the ignition switch OFF.
  2. Disconnect the C3 (clear) VCM connector (Additional DTCs will set).
  3. With the engine OFF, turn the ignition switch ON.
  4. Measure the battery voltage input at the VCM connector terminal C3-21. Use the J 39200 DVOM and the J 35616-A Connector Test Adaptor Kit.

Is there a voltage variance between the voltage measured at the battery (taken in Step 2) and at terminal C3-21 that is greater than the specified value?

0.5

Go to Step 6

Go to Step 7

6

Repair the high resistance condition in circuit 440.

Refer to Electrical Diagnosis, Section 8.

Did you repair the circuit?

--

Go to Step 11

--

7

  1. Disconnect the C4 (black) VCM connector.
  2. Measure the ignition voltage input at the VCM connector terminal C4-18.

Is there a voltage variance between the voltage measured at the battery (taken in Step 2) and at terminal C4-18 is greater than the specified value?

0.5 volts

Go to Step 8

Go to Step 9

8

Repair the high resistance condition in circuit 439 or circuit 441 as applicable.

Refer to Electrical Diagnosis, Section 8.

Did you repair the circuit?

--

Go to Step 11

--

9

  1. Inspect the VCM connector terminal C3-21 and terminal C4-18 for bent, damaged, or backed out connector pins.
  2. Inspect for weak terminal tension.

Did you find a problem?

--

Go to Step 11

Go to Step 10

10

Replace the VCM.

Refer to VCM Replacement/Programming (Vehicle Control Module) , Section 6.

Is the replacement complete?

--

Go to Step 11

--

11

In order to verify your repair, perform the following procedure:

  1. Select DTC.
  2. Select Clear Info.
  3. Operate the vehicle under the following conditions:
  4. • Start the vehicle.
    • Warm the vehicle to normal operating temperature.
    • Verify that the VCM sees a system voltage between 8.3 and 18.9 volts.
  5. Select Specific DTC. Enter DTC P0560.

Has the test run and passed?

--

System OK

Begin the diagnosis again. Go to Step 1