GM Service Manual Online
For 1990-2009 cars only

DTC P0719 Brake Switch Circuit Low Input 6.5L Diesel


Object Number: 58309  Size: MF
Automatic Transmission Components 6.5L Diesel
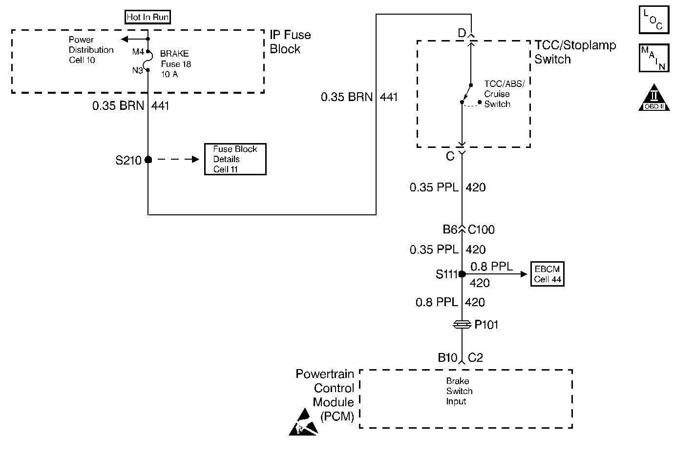
Automatic Transmission Controls Schematics 6.5L Diesel
OBD II Symbol Description Notice
Handling ESD Sensitive Parts Notice

Circuit Description

The brake switch indicates the brake petal status. The normally-closed brake switch supplies a B+ signal on circuit 420 to the PCM. The signal voltage circuit opens when the brakes are applied.

When the PCM detects an open brake switch during accelerations, then DTC P0719 sets. DTC P0719 is a type D DTC.

Conditions for Setting the DTC

    • No VSS DTC P0722 or P0723.
    • The PCM detects an open brake switch/circuit (0 volts) for 15 minutes without going off for 2 seconds.
    • The following sequence of events occurs seven consecutive times:
       - The vehicle speed is less than 8 km/h (5 mph).
       - Then the vehicle speed is 8-32 km/h (5-20 mph) for 4 seconds.
       - Then the vehicle speed is greater than 32 km/h (20 mph) for 6 seconds.

Action Taken When the DTC Sets

    • The PCM does not illuminate the Malfunction Indicator Lamp (MIL).
    • For TCC scheduling, the PCM disregards the brake switch state if the TP Sensor is greater than 12% and the vehicle speed is greater than 40 mph.

Conditions for Clearing the DTC

    • The PCM turns OFF the MIL after three consecutive ignition cycles without a failure reported.
    • A scan tool can clear the DTC from the PCM history. The PCM clears the DTC from the PCM history if the vehicle completes 40 warm-up cycles without a failure reported.
    • The PCM cancels the DTC default actions when the fault no longer exists and the ignition is OFF long enough in order to power down the PCM

Diagnostic Aids

    • Inspect the wiring for poor electrical connections at the PCM Inspect the wiring for poor electrical connections at the TCC brake switch. Look for the following conditions:
       - A bent terminal
       - A backed out terminal
       - A damaged terminal
       - Poor terminal tension
       - A chafed wire
       - A broken wire inside the insulation
    • When diagnosing for an intermittent short or open condition, massage the wiring harness while watching the test equipment for a change.
    • Ask about the customer's driving habits and any unusual driving conditions he or she might have, such as stop and go traffic or expressway driving.
    • Inspect the break switch for proper mounting and adjustment.
    • Inspect for the most current calibration I.D. and the latest bulletins.
    • First diagnose and clear any engine DTCs or APP Sensor codes that are present. Then inspect for any transmission DTCs that may have reset.

Test Description

The numbers below refer to the step numbers on the diagnostic table.

  1. This step isolates the brake switch as a source for setting the DTC.

P0719

Step

Action

Value(s)

Yes

No

1

Was the Powertrain On-Board Diagnostic (OBD) System Check performed?

--

Go to Step 2

Go to Powertrain On Board Diagnostic (OBD) System Check

2

  1. Install the scan tool (tech 1) ®.
  2. With the engine OFF, turn the ignition switch to the RUN position.
  3. Important: Before clearing the DTCs, use the scan tool in order to record the Freeze Frame and Failure Records for reference. The Clear Info function will erase the data.

  4. Record the DTC Freeze Frame and Failure Records.
  5. Select Brake Switch on the scan tool.
  6. Disconnect the brake switch connector from the brake switch.
  7. Install a fused jumper from terminal C to terminal D on the brake switch connector.

Did the brake switch status change from Open to Closed?

--

Go to Step 5

Go to Step 3

3

Remove and inspect the brake fuse for an open. Refer to Electrical Diagnosis, Section 8.

Is the fuse open?

--

Go to Step 4

Go to Step 6

4

Inspect circuit 441 for a short to ground. Refer to Electrical Diagnosis, Section 8.

Did you find and correct a problem?

--

Go to Step 8

--

5

Replace the brake switch. Refer to Brake Switch Replacement.

Is the replacement complete?

--

Go to Step 8

--

6

Inspect circuit 420 for an open. Refer to Electrical Diagnosis, Section 8.

Did you find a problem?

--

Go to Step 8

Go to Step 7

7

Replace the PCM. Refer to Powertrain Control Module Replacement/Programming , Section 6.

Is the replacement complete?

--

Go to Step 8

--

8

In order to verify your repair, perform the following procedure:

  1. Select DTC.
  2. Select Clear Info.
  3. Operate the vehicle under the following conditions:
  4. • The engine must be running.
    • Select Brake Switch on the scan tool. Depress the brake to ensure the states change with the pedal at rest and with the pedal depressed.
  5. Select Specific DTC. Enter DTC P0719.

Has the test run and passed?

--

System OK

Begin the diagnosis again. Go to Step 1

DTC P0719 Brake Switch Circuit Low Input 4.3L, 5.7L, and 7.4L Gas


Object Number: 58221  Size: MF
Automatic Transmission Components 4.3L, 5.7L, and 7.4L Gas
Automatic Transmission Controls Schematics 4.3L, 5.7L, and 7.4L Gas
OBD II Symbol Description Notice
Handling ESD Sensitive Parts Notice

Circuit Description

The brake switch indicates the brake pedal status. The normally-closed brake switch supplies a B+ signal on circuit 420 to the VCM. The signal voltage circuit opens when the brakes are applied. The VCM uses the open signal voltage circuit in order to de-energize the TCC PWM Sol. Valve when the brakes are applied.

When the VCM detects an open brake switch during accelerations, then DTC P0719 sets. DTC P0719 is a type D DTC. For California emissions vehicles, DTC P0719 is a type A DTC.

Conditions for Setting the DTC

    • No VSS DTC P0502.
    • The VCM detects an open brake switch/circuit (0 volts) for 15 minutes without going off for 2 seconds.
    • The following sequence of events occurs seven consecutive times:
       - The vehicle speed is less than 8 km/h (5 mph).
       - Then the vehicle speed is 8-32 km/h (5-20 mph) for 3.5 seconds.
       - Then the vehicle speed is greater than 32 km/h (20 mph) for 6 seconds.

Action Taken When the DTC Sets

    • The VCM inhibits fourth gear.
    • The VCM freezes shift adapts.
    • The VCM illuminates the Malfunction Indicator Lamp (MIL) on California emissions vehicles.

Conditions for Clearing the DTC

    • For California Emissions vehicles, the VCM turns OFF the MIL after three consecutive ignition cycles without a failure reported.
    • A scan tool can clear the DTC from the VCM history. The VCM clears the DTC from the VCM history if the vehicle completes 40 warm-up cycles without a failure reported.
    • The VCM cancels the DTC default actions when the fault no longer exists and the ignition is OFF long enough in order to power down the VCM.

Diagnostic Aids

    • Inspect the wiring for poor electrical connections at the VCM. Inspect the wiring for poor electrical connections at the TCC brake switch. Look for the following conditions:
       - A bent terminal
       - A backed out terminal
       - A damaged terminal
       - Poor terminal tension
       - A chafed wire
       - A broken wire inside the insulation
    • When diagnosing for an intermittent short or open condition, massage the wiring harness while watching the test equipment for a change.
    • Ask about the customer's driving habits and any unusual driving conditions he or she might have, such as stop and go traffic or expressway driving.
    • Inspect the brake switch for proper mounting and adjustment.
    • First diagnose and clear any engine DTCs or TP Sensor codes that are present. Then inspect for any transmission DTCs that may have reset.

Test Description

The numbers below refer to the step numbers on the diagnostic table.

  1. This step isolates the brake switch as a source for setting the DTC.

P0719

Step

Action

Value(s)

Yes

No

1

Was the Powertrain On-Board Diagnostic (OBD) System Check performed?

--

Go to Step 2

Go to Powertrain On Board Diagnostic (OBD) System Check (4.3L) or Powertrain On Board Diagnostic (OBD) System Check (5.7L and 7.4L)

2

  1. Install the scan tool (tech 1) ®.
  2. With the engine OFF, turn the ignition switch to the RUN position.
  3. Important: Before clearing the DTCs, use the scan tool in order to record the Freeze Frame and Failure Records for reference. The Clear Info function will erase the data.

  4. Record the DTC Freeze Frame and Failure Records.
  5. Select the TCC Brake Switch. on the scan tool.
  6. Disconnect the brake switch connector from the brake switch.
  7. Install a fused jumper from terminal C to terminal D on the brake switch connector.

Did the brake switch status change from Open to Closed?

--

Go to Step 5

Go to Step 3

3

  1. Remove the brake fuse.
  2. Inspect the brake fuse for an open.

Refer to Electrical Diagnosis, Section 8.

Is the fuse open?

--

Go to Step 4

Go to Step 6

4

Inspect circuit 441 for a short to ground.

Refer to Electrical Diagnosis, Section 8.

Did you find and correct a problem?

--

Go to Step 8

--

5

Replace the brake switch.

Refer to Brake Switch Replacement.

Is the replacement complete?

--

Go to Step 8

--

6

Inspect circuit 420 for an open.

Refer to Electrical Diagnosis, Section 8.

Did you find a problem?

--

Go to Step 8

Go to Step 7

7

Replace the VCM.

Refer to VCM Replacement/Programming (Vehicle Control Module) , Section 6.

Is the replacement complete?

--

Go to Step 8

--

8

In order to verify your repair, perform the following procedure:

  1. Select DTC.
  2. Select Clear Info.
  3. Operate the vehicle under the following conditions:
  4. • The VCM must see the brake switch Open for greater than three seconds. Then the VCM must see the brake switch Closed.
    • The state changes must occur five consecutive times.
  5. Select Specific DTC. Enter DTC P0719.

Has the test run and passed?

--

System OK

Begin the diagnosis again. Go to Step 1