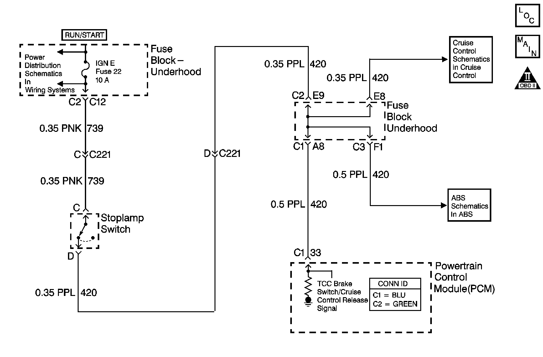
The brake switch indicates brake pedal status to the powertrain control module (PCM). The brake switch is a normally-closed switch that supplies battery voltage on the TCC brake switch signal circuit to the PCM. Applying the brake pedal opens the switch, interrupting voltage to the PCM. When the brake pedal is released, the PCM receives a constant voltage signal. If the PCM receives a zero voltage signal at the brake switch input, and the torque converter clutch (TCC) is engaged, the PCM de-energizes the TCC solenoid valve. The PCM disregards the brake switch input for TCC scheduling if there is a brake switch circuit fault.
When the PCM detects a closed brake switch circuit, 12 volts, high input, during decelerations, then DTC P0724 sets. DTC P0724 is a type C DTC.
| • | No VSS assembly DTCs P0502 or P0503. |
| • | The ignition is ON. |
| • | DTC P0724 has not passed. |
The PCM detects a closed brake switch circuit, 12 volts, without changing for 2 seconds and the following events occur eight times:
| • | The vehicle speed is greater than 32 km/h (20 mph) for 6 seconds; |
| • | then the vehicle speed is between 8-32 km/h (5-20 mph) for 4 seconds; |
| • | then the vehicle speed is less than 8 km/h (5 mph). |
| • | The PCM does not illuminate the malfunction indicator lamp (MIL). |
| • | The PCM records the operating conditions when the Conditions for Setting the DTC are met. The PCM stores this information as Failure Records. |
| • | The PCM stores DTC P0724 in PCM history. |
| • | A scan tool can clear the DTC. |
| • | The PCM clears the DTC from PCM history if the vehicle completes 40 warm-up cycles without a non-emission-related diagnostic fault occurring. |
| • | The PCM cancels the DTC default actions when the fault no longer exists and/or the ignition switch is OFF long enough in order to power down the PCM. |
| • | Inspect the brake switch for proper mounting and operation. |
| • | Inspect for ABS DTCs. A faulty ABS condition may contribute to setting DTC P0724. |
The numbers below refer to the step numbers on the diagnostic table.
Step | Action | Value(s) | Yes | No |
|---|---|---|---|---|
1 | Did you perform the Powertrain Diagnostic System Check? | -- | Go to Step 2 | Go to Diagnostic System Check - Engine Controls in Engine Controls - 4.3L or Diagnostic System Check - Engine Controls in Engine Controls - 4.8L, 5.3L and 6.0L |
Important: Before clearing the DTC, use the scan tool in order to record the Failure Records. Using the Clear Info function erases the Failure Records from the PCM. Caution: Refer to SIR Caution in the Preface section. Did the TCC Brake Switch status change from Closed to Open? | -- | Go to Step 3 | Go to Step 4 | |
3 | Replace the brake switch. Refer to Stop Lamp Switch Replacement in Lighting Systems. Did you complete the replacement? | -- | Go to Step 6 | -- |
4 |
Important: The condition that affects this circuit may exist in other connecting branches of the circuit. Refer to Power Distribution Schematics in Wiring Systems for complete circuit distribution. Test the TCC Brake Switch/Cruise Control Release Signal circuit (CKT 420) of the brake switch for a short to voltage. Refer to Testing for a Short to Voltage and Wiring Repairs in Wiring Systems. Did you find and correct the condition? | -- | Go to Step 6 | Go to Step 5 |
5 | Replace the PCM. Refer to Powertrain Control Module Replacement in Engine Controls - 4.3L or Powertrain Control Module Replacement in Engine Controls - 4.8L, 5.3L and 6.0L. Did you complete the replacement? | -- | Go to Step 6 | -- |
6 | Perform the following procedure in order to verify the repair:
Has the test run and passed? | -- | Go to Step 7 | Go to Step 2 |
7 | With the scan tool, observe the stored information, capture info, and DTC Info. Does the scan tool display any DTCs that you have not diagnosed? | -- | Go to Diagnostic Trouble Code (DTC) List in Engine Controls - 4.3L or Diagnostic Trouble Code (DTC) List in Engine Controls - 4.8L, 5.3L and 6.0L | System OK |