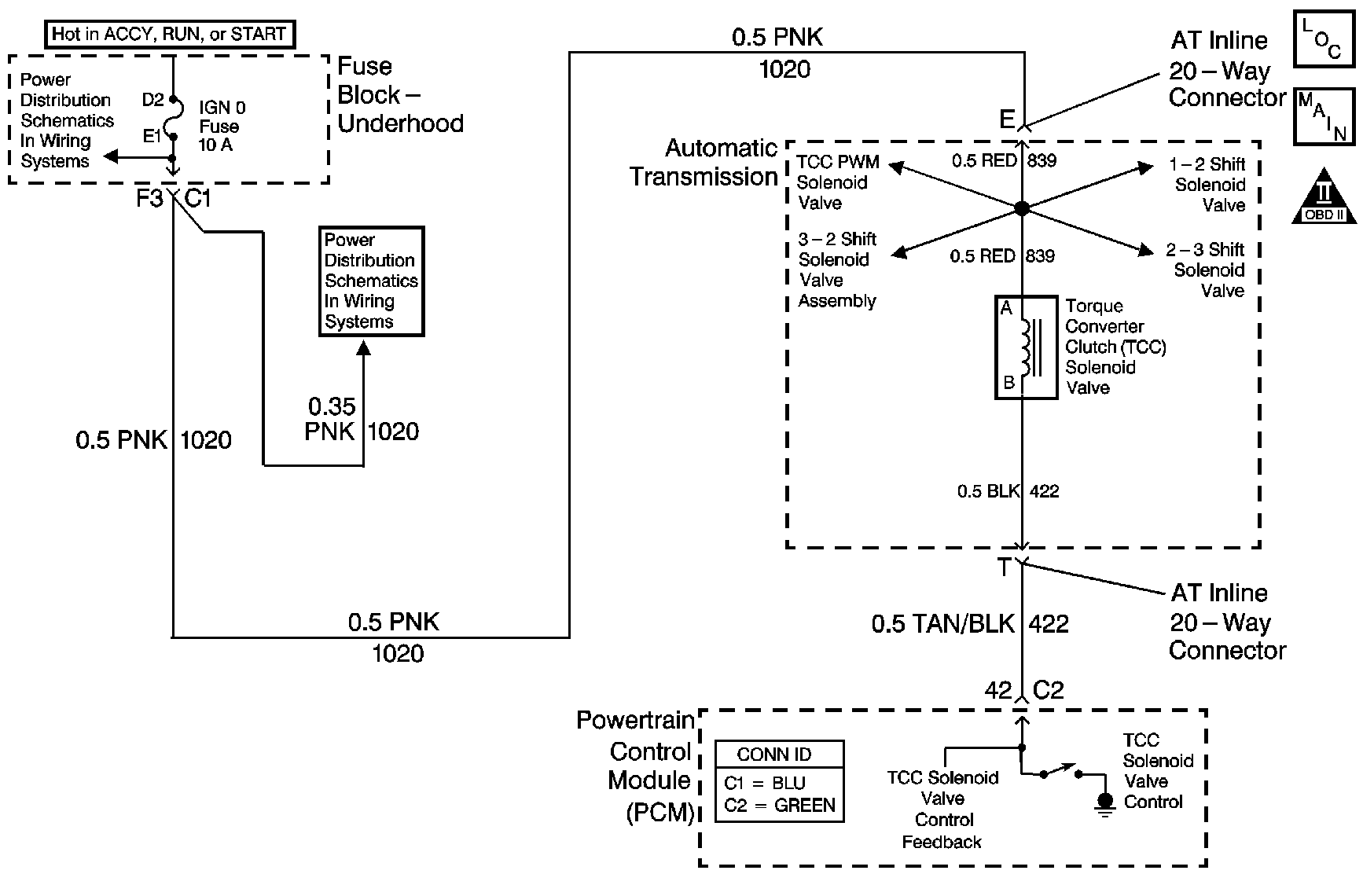
The torque converter clutch (TCC) solenoid valve is an electrical device that is used with the torque converter clutch pulse width modulation (TCC PWM) solenoid valve in order to control TCC apply and release. The TCC solenoid valve attaches to the transmission case assembly extending into the pump cover. The TCC solenoid valve receives ignition voltage through the OFF/ON/START voltage circuit. The powertrain control module (PCM) controls the solenoid by providing the ground path on the TCC solenoid valve control circuit. The PCM monitors the throttle position sensor voltage, the vehicle speed, and other inputs in order to determine when to energize the TCC solenoid valve.
When the PCM detects a continuous open, short to ground or short to power in the TCC solenoid valve circuit, then DTC P0740 sets. DTC P0740 is a type B DTC.
| • | The system voltage is 10-18 volts. |
| • | The engine speed is greater than 450 RPM for 5 seconds. |
| • | The engine is not in fuel cutoff. |
DTC P0740 sets if one of the following conditions occurs for 5 seconds:
The PCM commands the solenoid ON and the voltage feedback remains high, B+.
The PCM commands the solenoid OFF and the voltage feedback remains low, 0 volt.
| • | The PCM illuminates the malfunction indicator lamp (MIL) during the second consecutive trip in which the Conditions for Setting the DTC are met. |
| • | The PCM inhibits TCC engagement. |
| • | The PCM inhibits 4th gear if the transmission is in hot mode. |
| • | The PCM freezes Transmission Adaptive Functions from being updated. |
| • | The PCM records the operating conditions when the Conditions for Setting the DTC are met. The PCM stores this information as Freeze Frame and Failure Records. |
| • | The PCM stores DTC P0740 in PCM history during the second consecutive trip in which the Conditions for Setting the DTC are met. |
| • | The PCM turns OFF the MIL during the third consecutive trip in which the diagnostic test runs and passes. |
| • | A scan tool can clear the MIL/DTC. |
| • | The PCM clears the DTC from PCM history if the vehicle completes 40 warm-up cycles without an emission-related diagnostic fault occurring. |
| • | The PCM cancels the DTC default actions when the fault no longer exists and/or the ignition switch is OFF long enough in order to power down the PCM. |
With the TCC engaged, the TCC slip speed should be -20 to +50 RPM.
The numbers below refer to the step numbers on the diagnostic table.
This step tests for voltage to the solenoid.
This step tests the ability of the PCM and wiring to control the ground circuit.
This step tests the resistance of the TCC solenoid valve and the automatic transmission (AT) wiring harness assembly.
Step | Action | Value(s) | Yes | No | ||||||||
|---|---|---|---|---|---|---|---|---|---|---|---|---|
1 | Did you perform the Powertrain Diagnostic System Check? | -- | Go to Step 2 | Go to Diagnostic System Check - Engine Controls in Engine Controls - 4.3L or Diagnostic System Check - Engine Controls in Engine Controls - 4.8L, 5.3L and 6.0L | ||||||||
2 |
Important: Before clearing the DTC, use the scan tool in order to record the Freeze Frame and Failure Records. Using the Clear Info function erases the Freeze Frame and Failure Records from the PCM. Are any of the following DTCs also set?
| -- | Go to Step 3 | Go to Step 4 | ||||||||
3 | Inspect the IGN 0 fuse for an open. Refer to Circuit Protection - Fuses in Wiring Systems. Is the fuse open? | -- | Go to Step 9 | Go to Step 4 | ||||||||
Refer to Automatic Transmission Inline 20-Way Connector End View . Does the test lamp illuminate? | -- | Go to Step 5 | Go to Step 12 | |||||||||
Refer to Automatic Transmission Inline 20-Way Connector End View . Does the test lamp turn ON and OFF with each command? | -- | Go to Step 7 | Go to Step 6 | |||||||||
6 | Is the test lamp always ON? | -- | Go to Step 13 | Go to Step 14 | ||||||||
Refer to Automatic Transmission Inline 20-Way Connector End View . Does the resistance measure within the specified range? | 21-33 ohms | Go to Step 8 | Go to Step 15 | |||||||||
8 |
Do both readings measure greater than the specified value? | 250 K ohms | Go to Intermittent Conditions in Engine Controls - 4.3L or Intermittent Conditions in Engine Controls - 4.8L, 5.3L and 6.0L | Go to Step 15 | ||||||||
9 |
Important: The condition that affects this circuit may exist in other connecting branches of the circuit. Refer to Power Distribution Schematics in Wiring Systems for complete circuit distribution. Test the OFF/ON/START voltage circuit (CKT 1020) of the TCC solenoid valve for a short to ground between the fuse block and the AT inline 20-way connector. Refer to Testing for Short to Ground and Wiring Repairs in Wiring Systems. Did you find and correct the condition? | -- | Go to Step 17 | Go to Step 10 | ||||||||
10 |
Important: The condition that affects this circuit may exist in other connecting branches of the circuit. Refer to Power Distribution Schematics in Wiring Systems for complete circuit distribution. Test the Ignition 1 voltage circuit (CKT 839) of the TCC solenoid valve for a short to ground between the AT inline 20-way connector and the TCC solenoid valve. Refer to Testing for Short to Ground in Wiring Systems. Did you find a short to ground condition? | -- | Go to Step 15 | Go to Step 11 | ||||||||
11 |
Did you complete the replacement? | -- | Go to Step 17 | -- | ||||||||
12 |
Important: The condition that affects this circuit may exist in other connecting branches of the circuit. Refer to Power Distribution Schematics in Wiring Systems for complete circuit distribution. Test the OFF/ON/START voltage circuit (CKT 1020) of the TCC solenoid valve for an open. Refer to Testing for Continuity and Wiring Repairs in Wiring Systems. Did you find and correct the condition? | -- | Go to Step 17 | -- | ||||||||
13 | Test the control circuit (CKT 422) of the TCC solenoid valve for a short to ground between the PCM connector C2 and the AT inline 20-way connector. Refer to Testing for Short to Ground and Wiring Repairs in Wiring Systems. Did you find and correct the condition? | -- | Go to Step 17 | Go to Step 16 | ||||||||
14 | Test the control circuit (CKT 422) of the TCC solenoid valve for an open or short to power between the PCM connector C2 and the AT inline 20-way connector. Refer to Circuit Testing and Wiring Repairs in Wiring Systems. Did you find and correct the condition? | -- | Go to Step 17 | Go to Step 16 | ||||||||
15 | Replace the AT wiring harness assembly, this includes the TCC solenoid valve. Refer to Valve Body and Pressure Switch Replacement . Did you complete the replacement? | -- | Go to Step 17 | -- | ||||||||
16 | Replace the PCM. Refer to Powertrain Control Module Replacement in Engine Controls - 4.3L or Powertrain Control Module Replacement in Engine Controls - 4.8L, 5.3L and 6.0L. Did you complete the replacement? | -- | Go to Step 17 | -- | ||||||||
17 | Perform the following procedure in order to verify the repair:
Has the test run and passed? | -- | Go to Step 18 | Go to Step 2 | ||||||||
18 | With the scan tool, observe the stored information, capture info, and DTC Info. Does the scan tool display any DTCs that you have not diagnosed? | -- | Go to Diagnostic Trouble Code (DTC) List in Engine Controls - 4.3L or Diagnostic Trouble Code (DTC) List in Engine Controls - 4.8L, 5.3L and 6.0L | System OK |