GM Service Manual Online
For 1990-2009 cars only
Makes
🢒
GMC_Truck
🢒
2003
🢒
Yukon - 2WD
🢒
Body and Accessories
🢒
Entertainment
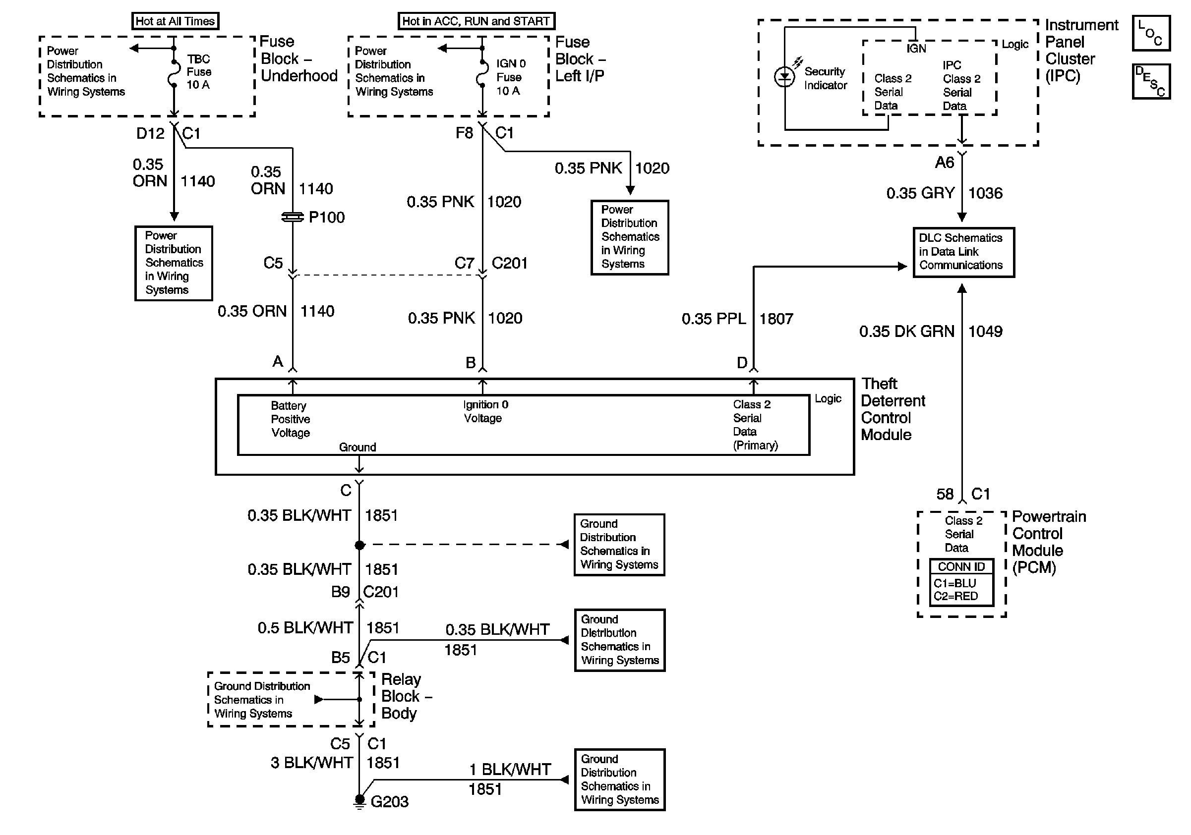
🢒 Theft Deterrent System Schematics
Vehicle Theft Deterrent (VTD) System
Master Electrical Component List
Vehicle Theft Deterrent (VTD) Description and Operation
ABS, VSES/ECAS, STUD #1, STUD #2, TBC BATT
IGN 0, TBC IGN 0, TBC ACCY, SEO ACCY, WS WIPER, RR WIPER
ABS, VSES/ECAS, STUD #1, STUD #2, TBC BATT
IGN 0, TBC IGN 0, TBC ACCY, SEO ACCY, WS WIPER, RR WIPER
SP205 - 2 of 2
G203 - 3 of 3
G203 - 2 Of 2
G203 - 1 Of 2
G203 - 1 Of 2