GM Service Manual Online
For 1990-2009 cars only
Makes
🢒
GMC_Truck
🢒
2003
🢒
Yukon - 2WD
🢒 Garage Door Opener
Garage Door Opener
Master Electrical Component List
Garage Door Opener Description and Operation
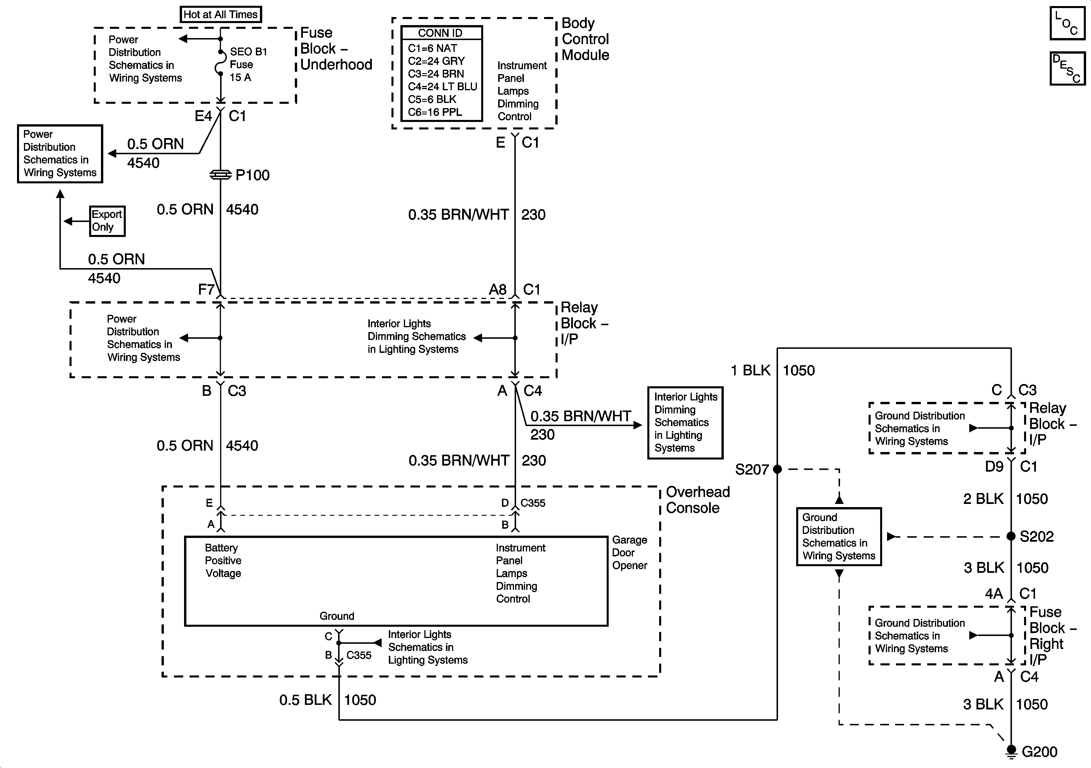
B+ Bus Bar - 1 of 2
RTD, RR WPR, EAP, SUNROOF, IPC/DIC, SEO B1
RTD, RR WPR, EAP, SUNROOF, IPC/DIC, SEO B1
I/P Dimming Supply Voltage - 5 of 7
I/P Dimming Supply Voltage - 5 of 7
Inadvertent Power Supply Voltage - 2 of 3
G200 - 1 of 3
G200 - 1 of 3
G200 - 1 of 3