GM Service Manual Online
For 1990-2009 cars only
Makes
🢒
Generic
🢒
2005
🢒
Unit Repair
🢒
Transmission/Transaxle
🢒
Automatic Transaxle - 4T40-E/4T45-E
🢒 Automatic Transmission Controls Schematics
Figure
1:
Transmission Solenoids and VSS
Master Electrical Component List
Transmission General Description
Control Module References
Transmission Switches, TFT and A/T ISS Sensor
Automatic Transmission Schematic Icons
Underhood Fuse Block IBCM (R/C), TRANS, INJ, ABS, PCM and IGN 1 Fuses
Figure
2:
Transmission Switches, TFT and A/T ISS Sensor
Master Electrical Component List
Transmission General Description
Control Module References
PNP Switch
Transmission Solenoids and VSS
Automatic Transmission Schematic Icons
Automatic Transmission Schematic Icons
Figure
3:
PNP Switch
Master Electrical Component List
Transmission General Description
Control Module References
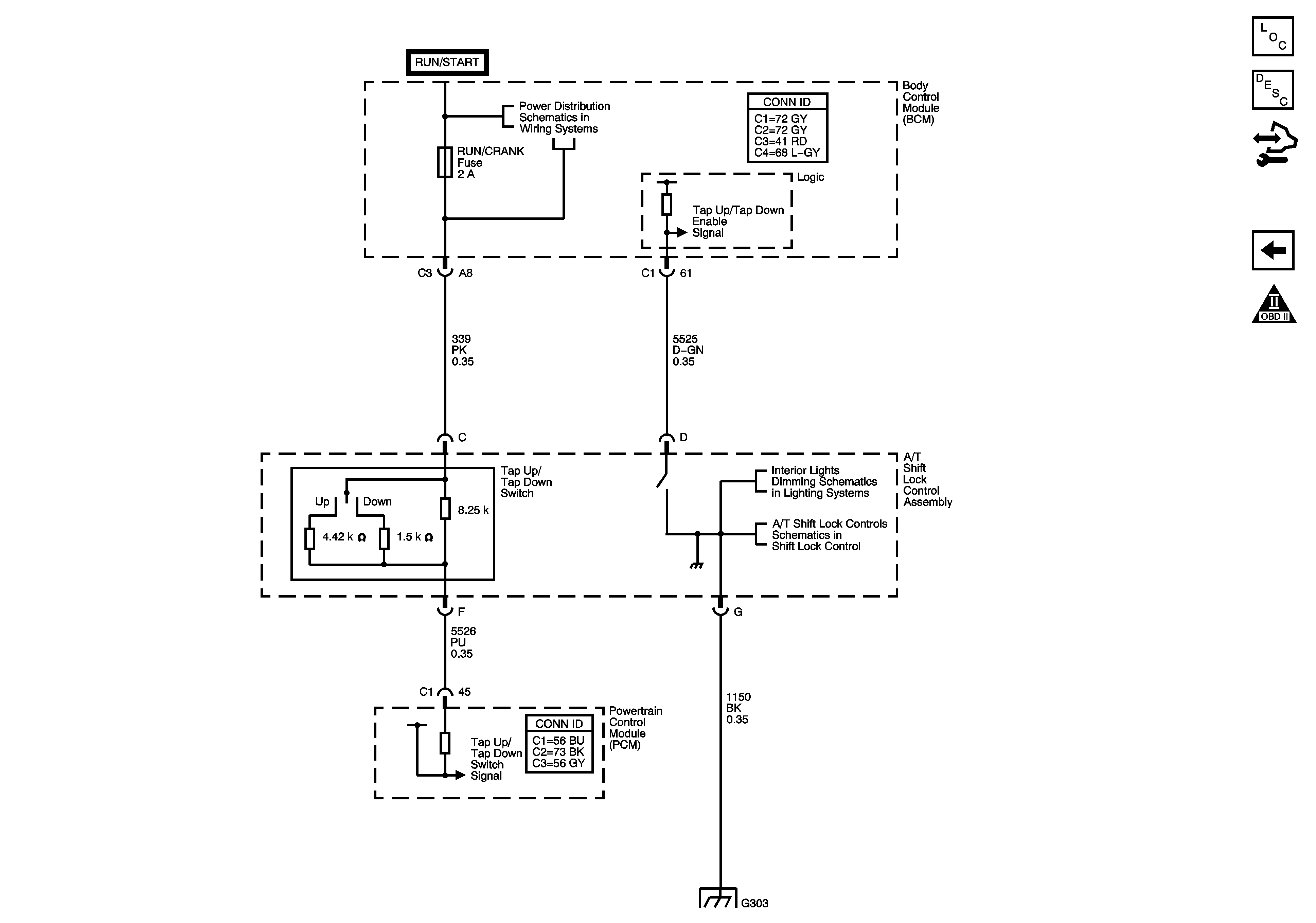
Tap Up/Tap Down Switch
Transmission Switches, TFT and A/T ISS Sensor
Automatic Transmission Schematic Icons
G103, G104 and G105
Figure
4:
Tap Up/Tap Down Switch
Master Electrical Component List
Transmission General Description
Control Module References
PNP Switch
Automatic Transmission Schematic Icons
Underhood Fuse Block RUN/RLY, IBCM (R/C), Body Control Module (BCM) HVAC BLOWER, HVAC HEAD/ECC, EPS, AIR BAG and RUN/CRANK Fuses
Seats and Center Console
Automatic Transmission Shift Lock Controls Schematics
G303