GM Service Manual Online
For 1990-2009 cars only

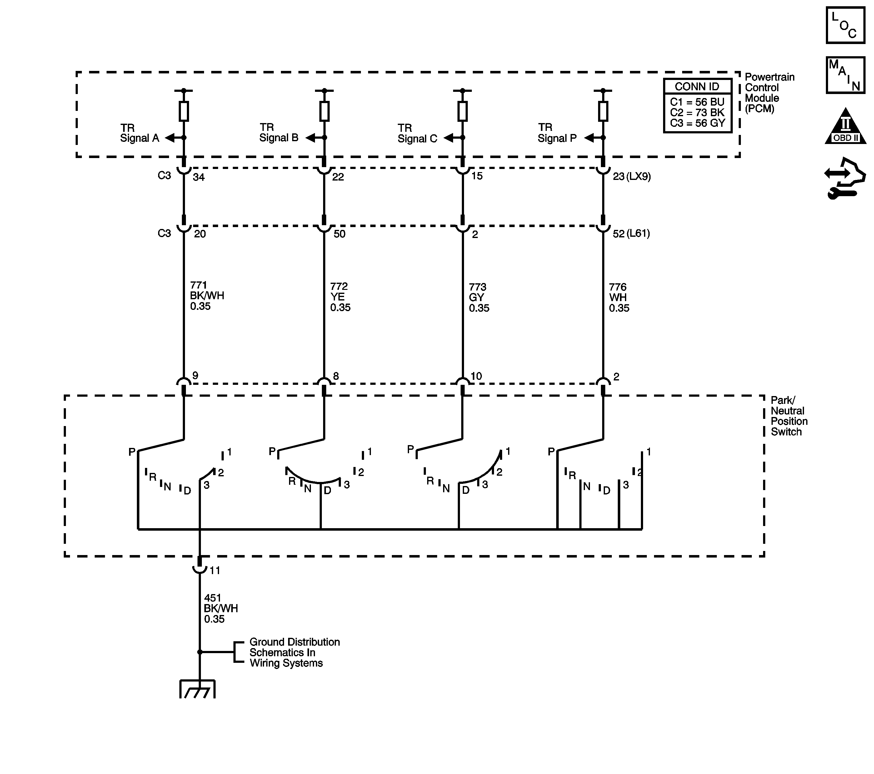
Object Number: 1379717  Size: LF
Master Electrical Component List
Automatic Transmission Controls Schematics
OBD II Symbol Description Notice
Control Module References

Circuit Description

The transmission range (TR) switch is part of the park/neutral position (PNP) and back-up lamp switch assembly and is mounted on the transmission manual shaft. The TR switch is a multi-signal switch. The powertrain control module (PCM) supplies ignition voltage to the TR switch on four signal circuits, A, B, C, and P. Each gear selector lever position grounds one or more of the signal circuits in a unique pattern. In order to determine the gear range selected by the driver, the PCM compares the voltage combination on the signal circuits to a TR switch combination table stored in memory.

Diagnostic Aids

Refer to Transmission Range Switch Logic for valid combinations of switch signal circuits A, B, C and P.

Test Description

The numbers below refer to the step numbers on the diagnostic table.

  1. By disconnecting the TR switch, the ground path for all TR switch circuits would be removed and the PCM should recognize all circuits as open. The scan tool should display HI for all range signals.

  2. This step tests the TR switch wiring for an open or lack of signal voltage from the PCM.

  3. This step tests the TR switch wiring and the PCM by providing a ground path through a fused jumper wire. When grounded, the scan tool range signal A should change to LOW.

  4. This step tests the TR switch wiring and the PCM by providing a ground path through a fused jumper wire. When grounded, the scan tool range signal B should change to LOW.

  5. This step tests the TR switch wiring and the PCM by providing a ground path through a fused jumper wire. When grounded, the scan tool range signal C should change to LOW.

Step

Action

Value(s)

Yes

No

1

  1. Install a scan tool.
  2. Turn ON the ignition, with the engine OFF.
  3. Select TR Sw. on the scan tool.
  4. With the scan tool, observe the TR Sw. display while selecting each transmission range: P, R, N, D4, D3, D2 and D1.

Does each selected transmission range match the scan tool TR Sw. display?

--

Go to Intermittent Conditions in Engine Controls - 3.5L

Go to Step 2

2

  1. Inspect the PNP switch assembly for the following:
  2. • Damage
    • Loose or missing mounting hardware
    • Proper adjustment
  3. Inspect the shift cable for the following:
  4. • Damaged or stretched cable
    • Proper adjustment

Did you find and correct a condition?

--

Go to Step 15

Go to Step 3

3

With the scan tool, observe the TR Sw. A/B/C/P display.

Does the scan tool TR Sw. A/B/C/P parameter indicate HI for all range signal states?

--

Go to Step 12

Go to Step 4

4

  1. Turn OFF the ignition.
  2. Disconnect the PNP switch connector.
  3. Turn ON the ignition, with the engine OFF.

Does the scan tool TR Sw. A/B/C/P parameter indicate HI for all range signal states?

--

Go to Step 5

Go to Step 9

5

  1. Using the DMM and the J 35616 GM-approved terminal test kit, measure the voltage from the TR signal A circuit of the PNP switch connector to ground.
  2. Measure the voltage from the TR signal B circuit of the PNP switch connector to ground.
  3. Measure the voltage from the TR signal C circuit of the PNP switch connector to ground.
  4. Measure the voltage from the TR signal P circuit of the PNP switch connector to ground.

Does the voltage measure within the specified value at all four terminals?

10-12 V

Go to Step 6

Go to Step 10

6

Connect a fused jumper wire from the TR signal A circuit of the PNP switch connector to ground while monitoring the scan tool TR Sw. A/B/C/P parameter.

When the TR signal A circuit is grounded, do any other signal circuits indicate LOW?

--

Go to Step 11

Go to Step 7

7

Connect a fused jumper wire from the TR signal B circuit of the PNP switch connector to ground while monitoring the scan tool TR Sw. A/B/C/P parameter.

When the TR signal B circuit is grounded, do any other signal circuits indicate LOW?

--

Go to Step 11

Go to Step 8

8

Connect a fused jumper wire from the TR signal C circuit of the PNP switch connector to ground while monitoring the scan tool TR Sw. A/B/C/P parameter.

When the TR signal C circuit is grounded, do any other signal circuits indicate LOW?

--

Go to Step 11

Go to Step 13

9

Test the TR signal circuit or circuits of the PNP switch that did not indicate HI for a short to ground.

Refer to Testing for Short to Ground and Wiring Repairs in Wiring Systems.

Did you find and correct the condition?

--

Go to Step 15

Go to Step 14

10

Test the TR signal circuit or circuits of the PNP switch that did not indicate proper voltage for an open.

Refer to Testing for Continuity and Wiring Repairs in Wiring Systems.

Did you find and correct the condition?

--

Go to Step 15

Go to Step 14

11

Test the affected TR signal circuits of the PNP switch for a shorted together condition.

Refer to Circuit Testing and Wiring Repairs in Wiring Systems.

Did you find and correct the condition?

--

Go to Step 15

Go to Step 14

12

Test the ground circuit of the PNP switch for an open.

Refer to Testing for Continuity and Wiring Repairs in Wiring Systems.

Did you find and correct the condition?

--

Go to Step 15

Go to Step 13

13

Replace the PNP switch.

Refer to Park/Neutral Position Switch Replacement .

Did you complete the replacement?

--

Go to Step 15

--

14

Replace the PCM.

Refer to Control Module References in Computer/Integrating Systems for replacement, setup, and programming.

Did you complete the replacement?

--

Go to Step 15

--

15

  1. Turn ON the ignition, with the engine OFF.
  2. With the scan tool, observe the TR Sw. display while selecting each transmission range: P, R, N, D4, D3, D2 and D1.

Does each selected transmission range match the scan tool TR Sw. display?

--

System OK

Go to Step 2