GM Service Manual Online
For 1990-2009 cars only

Object Number: 1557071  Size: MF
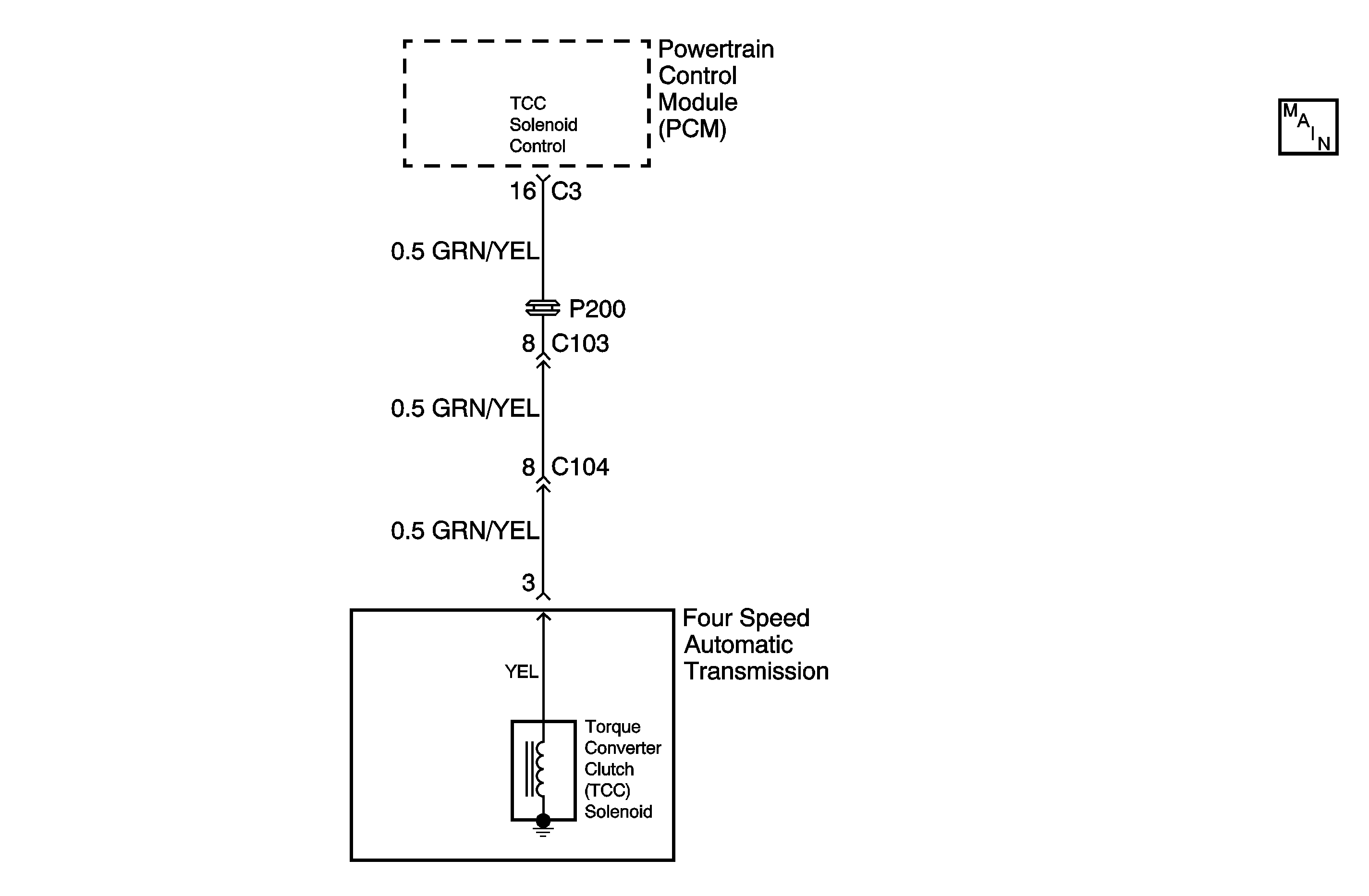
Automatic Transmission Controls Schematics

Circuit Description

The Powertrain Control Module (PCM) monitors the following conditions:

    • The throttle opening
    • The engine speed
    • The vehicle speed
    • The gear position

The Powertrain Control Module (PCM) compares the actual engine speed to the PCM specified value. The PCM specified value is the engine speed the PCM obtains through calculation by using the above conditions.

Conditions for Setting the DTC

    • When running the engine in the following positions, Torque Converter Clutch (TCC) control of the Powertrain Control Module (PCM) does not agree with actual operation of the TCC. The above condition occurs even though the TCC control solenoid valve is electrically in good condition:
       - 3rd gear
       - 4th gear
       - DRIVE range
    • Two driving cycle detection logic

Action Taken When the DTC Sets

    • DTC P0741 stores.
    • The Malfunction Indicator Lamp (MIL) turns ON.

Diagnostic Aids

Inspect for the following conditions:

    • The TCC solenoid valve is stuck.
    • The TCC control valve is stuck.
    • The valve body fluid passages are clogged.
    • A faulty TCC exists.
    • A faulty PCM exists.

If DTC P0741 cannot duplicate, the information included in the Freeze Frame data may be useful in determining the vehicle operating conditions when the DTC set.

DTC Confirmation Procedure

  1. Turn the ignition switch to the LOCK position.
  2. Connect the scan tool to the Data Link Connector (DLC).
  3. Turn the ignition switch ON.
  4. Use the scan tool in order to clear the following items:
  5. • DTC P0741
    • Any pending DTCs
  6. Start the engine.
  7. Warm the engine up to normal operating conditions.
  8. Accelerate the vehicle in DRIVE range.
  9. Inspect for upshifting in the following gears as the vehicle speed increases. Notice that each upshifting is not harsh:

    7.1. 1st gear
    7.2. 2nd gear
    7.3. 3rd gear
    7.4. 4th gear
  10. Continue driving for 20 seconds at 80 km/h (50 mph).
  11. Stop the vehicle.
  12. Use the scan tool in order to test for a pending DTC.

Test Description

The numbers below refer to the step numbers on the diagnostic table.

  1. The Powertrain OBD System Check prompts the technician to complete some basic checks and store the freeze frame data on the scan tool if applicable. The scan tool creates an electronic copy of the data taken when the fault occurred. The information then stores in the scan tool for later reference.

  2. This step tests for proper shift points and proper TCC engagement.

  3. This step inspects for a leaky solenoid.

    Refer to the above figure.

  4. This step inspects for a stuck closed TCC solenoid.

    Refer to the above figure.

  5. This step inspects the conditions of the valve body assembly.

  6. This step inspects for a faulty PCM.

Step

Action

Value(s)

Yes

No

1

Was the On-Board Diagnostic (OBD) System Check performed?

--

Go to Step 2

Go to Powertrain On Board Diagnostic (OBD) System Check in Engine Controls

2

Use J 39200 in order to test for DTC(s).

Does the scan tool display any other DTC(s) in addition to DTC P0741?

--

Go to the applicable DTC table

Go to Step 3

3

Perform the Upshifts and Torque Converter Clutch (TCC) Apply procedure. Refer to Road Test . This procedure diagnoses the mechanical condition of the transmission and the torque converter. Repair if necessary.

Is the procedure complete?

--

Go to Step 4

--

4

Perform the DTC Confirmation Procedure.

Did DTC P0741 reset?

--

Go to Step 5

Go to Step 12

5

  1. Remove the TCC solenoid. Refer to Torque Converter Clutch Solenoid Replacement .
  2. Apply 490 kPa (71 psi) of compressed air into the TCC solenoid inlet port.

Did the TCC solenoid outlet port remain closed with no air leakage?

--

Go to Step 6

Go to Step 13

6

  1. Apply 12 V to the TCC solenoid (positive to the wire, negative to the case).
  2. Apply 490 kPa (71 psi) of compressed air into the TCC solenoid inlet port.

Did the TCC solenoid outlet port open and enable air to escape?

--

Go to Step 7

Go to Step 13

7

Refer to DTC P0705 Trans Range Switch Circuit for diagnosis of the transmission range switch.

Is the action complete?

--

Go to Step 8

--

8

Refer to DTC P0720 Output Speed Sensor Circuit for the diagnosis of the Vehicle Speed Sensor (VSS).

Is the action complete?

--

Go to Step 9

--

9

  1. Remove the valve body.
  2. Inspect the valve body passages for any obstructions/restrictions.
  3. Refer to Valve Body and Accumulator Pistons Removal .

Is the valve body in good condition?

--

Go to Step 10

Go to Step 11

10

  1. Install a known-good PCM. Refer to Powertrain Control Module Replacement in Engine Controls.
  2. Perform the DTC Confirmation procedure.

Does DTC P0741 reset?

--

Go to Step 14

Go to Step 15

11

Repair or overhaul the valve body assembly. Refer to Valve Body and Accumulator Pistons Removal .

Is the repair complete?

--

Go to Step 16

--

12

The Malfunction is not present at this time. Refer to Diagnostic Aids.

Is the action complete?

--

System OK

--

13

Replace the TCC solenoid. Refer to Torque Converter Clutch Solenoid Replacement .

Is the procedure complete?

--

Go to Step 16

--

14

Diagnose the mechanical condition of the transmission. Refer to Hydraulic/Mechanical Diagnosis for additional diagnostics.

Is the action complete?

--

Go to Step 16

--

15

Replace the Powertrain Control Module (PCM). Refer to Powertrain Control Module Replacement in Engine Controls.

Is the procedure complete?

--

Go to Step 16

--

16

Perform the DTC Confirmation Procedure.

Does the scan tool display any DTC(s)?

--

Go to the applicable DTC table

System OK