GM Service Manual Online
For 1990-2009 cars only

Removal Procedure

    Important: When a suitable hold open device is being removed or installed, provide alternate support to avoid the possibility of damage to the vehicle or personal injury.

  1. Install a suitable liftgate brace to the vehicle.
  2. Remove the rear end trim finish panel. Refer to Rear End Trim Finish Panel Replacement.
  3. Remove the rear compartment floor panel carpet. Refer to Rear Compartment Floor Panel Carpet Replacement.
  4. Remove the load floor stationary panel carpet. Refer to Load Floor Stationary Panel Carpet Replacement.
  5. Remove the load floor front panel carpet. Refer to Load Floor Front Panel Carpet Replacement.
  6. Remove the quarter inner trim finish panel. Refer to Quarter Inner Trim Finish Panel Replacement.
  7. Remove the body lock pillar lower trim panel. Refer to Body Lock Pillar Lower Trim Panel Replacement.
  8. Remove the body lock pillar trim panel. Refer to Body Lock Pillar Trim Panel Replacement.

  9. Object Number: 2049000  Size: SH
  10. Remove the torx screw cover (3) from the body lock pillar upper trim panel (1).
  11. Remove the body lock pillar upper trim panel to body retaining torx screw (2).

  12. Object Number: 2049003  Size: SH
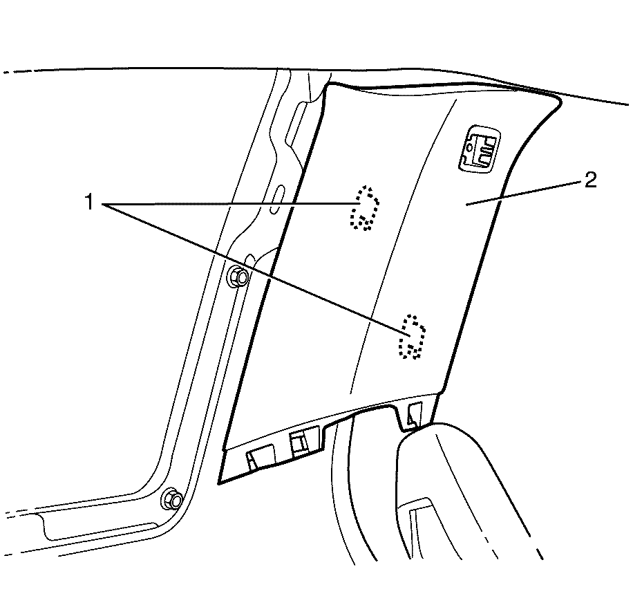
  13. Carefully release the body lock pillar upper trim panel to body retaining clips (1).
  14. Remove the body lock pillar upper trim panel (2) from the vehicle.

Installation Procedure


    Object Number: 2049003  Size: SH
  1. Position the body lock pillar upper trim panel (2) to the vehicle.
  2. Carefully engage the body lock pillar upper trim panel to body retaining clips (1).
  3. Notice: Refer to Fastener Notice in the Preface section.


    Object Number: 2049000  Size: SH
  4. Install the body lock pillar upper trim panel to body retaining torx screw (2).
  5. Tighten
    Tighten the torx screw to 2  N·m (18 lb in).

  6. Install the torx screw cover (3) to the body lock pillar upper trim panel (1).
  7. Install the body lock pillar trim panel. Refer to Body Lock Pillar Trim Panel Replacement.
  8. Install the body lock pillar lower trim panel. Refer to Body Lock Pillar Lower Trim Panel Replacement.
  9. Install the quarter inner trim finish panel. Refer to Quarter Inner Trim Finish Panel Replacement.
  10. Install the load floor front panel carpet. Refer to Load Floor Front Panel Carpet Replacement.
  11. Install the load floor stationary panel carpet. Refer to Load Floor Stationary Panel Carpet Replacement.
  12. Install the rear compartment floor panel carpet. Refer to Rear Compartment Floor Panel Carpet Replacement.
  13. Install the rear end trim finish panel. Refer to Rear End Trim Finish Panel Replacement.
  14. Important: When a suitable hold open device is being removed or installed, provide alternate support to avoid the possibility of damage to the vehicle or personal injury.

  15. Remove the suitable liftgate brace to the vehicle.