GM Service Manual Online
For 1990-2009 cars only

Rear Reflector Replacement HSV Maloo

Removal Procedure


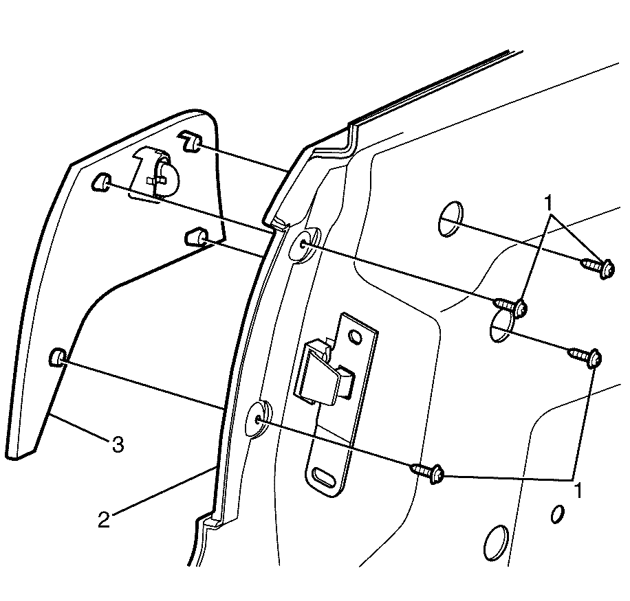
    Object Number: 2034536  Size: SH

    Important: Use a suitable non-marking tool to support the endgate during the replacement procedure, this will prevent the endgate and painted surfaces from damage.

    Important: The endgate are reflective panels and must be treated with due care.

  1. Raise the hard tonneau cover.
  2. Remove the endgate liner. Refer to Pickup Box Endgate Liner Replacement .
  3. Slightly lower the endgate and support with a suitable tool to provide service access to the endgate trim panels.
  4. Remove the endgate trim panel retainer screws (1) from within the endgate assembly (2).
  5. Remove the endgate trim panel (3) from the endgate assembly (2).

Installation Procedure

    Notice: Refer to Fastener Notice in the Preface section.


    Object Number: 2034536  Size: SH

    Important: The endgate are reflective panels and must be treated with due care.

  1. Install the endgate trim panel (3) onto the endgate assembly (2).
  2. Install the endgate trim panel retainer screws (1) into the endgate trim panel (3) from inside the endgate assembly (2).
  3. Tighten
    Tighten the endgate trim panel retainer screws to 2 N·m (18 lb in).

  4. Raise the endgate.
  5. Install the endgate liner. Refer to Pickup Box Endgate Liner Replacement .
  6. Lower the hard tonneau cover.