GM Service Manual Online
For 1990-2009 cars only

Removal Procedure

    Caution: Refer to Approved Equipment for Collision Repair Caution in the Preface section.

    Caution: Refer to Foam Sound Deadeners Caution in the Preface section.

  1. Disable the SIR system. Refer to SIR Disabling and Enabling .
  2. Caution: Refer to Battery Disconnect Caution in the Preface section.

  3. Disconnect the negative battery cable. Refer to Battery Negative Cable Disconnection and Connection .
  4. Caution: Refer to Vehicle Lifting Caution in the Preface section.

    Caution: Refer to Safety Glasses Caution in the Preface section.

  5. Raise and support the vehicle. Refer to Lifting and Jacking the Vehicle .
  6. Remove the cargo liner. Refer to Cargo Box Liner Replacement .
  7. Remove the rear wheelhouse liner. Refer to Rear Wheelhouse Panel Liner Replacement .
  8. Remove the filler tube. Refer to Filler Tube Replacement .
  9. Remove the fuel tank. Refer to Fuel Tank Replacement .
  10. Remove the rear bumper fascia. Refer to Rear Bumper Fascia Replacement .
  11. Remove the endgate. Refer to Endgate Replacement .
  12. Remove the rear muffler assembly. Refer to Exhaust Muffler Replacement - Left Side and/or Exhaust Muffler Replacement - Right Side .
  13. Remove the rear crossmember. Refer to Engine Rear Crossmember Replacement .
  14. Note the location and remove the sealers and anti-corrosion materials from the repair area, as necessary. Refer to Anti-Corrosion Treatment and Repair .

  15. Object Number: 2017399  Size: SH

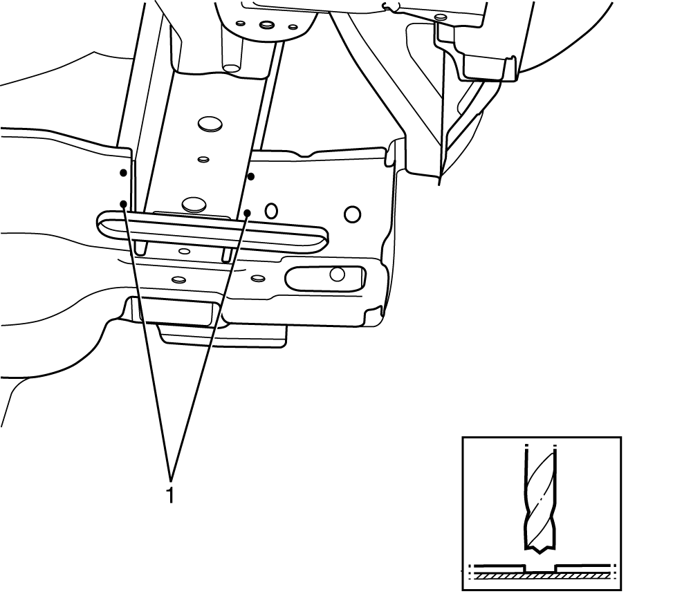
    Important: Note the number and location of welds for installation of the service assembly.

  16. Locate, mark and drill out all factory welds attaching the rear muffler hanger bracket assembly to the rear crossmember (1).
  17. Remove the rear muffler hanger bracket assembly.

  18. Object Number: 2017898  Size: SH

    Important: Note the number and location of welds for installation of the service assembly.

  19. Locate, mark and drill out all factory welds attaching the rear muffler hanger bracket assembly to the rear frame (1).
  20. Remove the rear muffler hanger bracket assembly.

Installation Procedure

    Important: Spot welding is the preferred method for attaching panels and should be used whenever possible. A plug weld should only be performed where spot welding is not possible.

    Important: If the location of the original spot weld holes can not be determined, or if structural weld-thru adhesive is present, space the puddle weld holes every 32 mm (1¼ in).


    Object Number: 2017896  Size: SH
  1. Align the rear muffler hanger bracket assembly using the datum points (1).
  2. Important: Secondary sealer must be applied to the perimeter of all flanges. Secondary sealer must be applied to all welds/joints that were originally covered by secondary sealer.

  3. Weld the rear muffler hanger bracket assembly to the rear frame (1).

  4. Object Number: 2017894  Size: SH
  5. Weld the rear muffler hanger bracket assembly to the rear crossmember (1).
  6. Important: Secondary sealer must be applied to the perimeter of all flanges. Secondary sealer must be applied to all welds/joints that were originally covered by secondary sealer.

  7. Apply the sealers, and anti-corrosion materials to the repair area, as necessary. Refer to Anti-Corrosion Treatment and Repair .
  8. Paint the repaired area. Refer to Basecoat/Clearcoat Paint Systems .
  9. Install the rear crossmember. Refer to Engine Rear Crossmember Replacement .
  10. Install the rear muffler assembly. Refer to Exhaust Muffler Replacement - Left Side and/or Exhaust Muffler Replacement - Right Side .
  11. Install the endgate. Refer to Endgate Replacement .
  12. Install the rear bumper fascia. Refer to Rear Bumper Fascia Replacement .
  13. Install the filler tube. Refer to Filler Tube Replacement .
  14. Install the fuel tank. Refer to Fuel Tank Replacement .
  15. Install the rear wheelhouse liner. Refer to Rear Wheelhouse Panel Liner Replacement .
  16. Lower the vehicle.
  17. Install the cargo liner. Refer to Cargo Box Liner Replacement .
  18. Connect the negative battery cable. Refer to Battery Negative Cable Disconnection and Connection .
  19. Enable the SIR system. Refer to SIR Disabling and Enabling .