GM Service Manual Online
For 1990-2009 cars only

Endgate Replacement Except HSV Maloo

Removal Procedure

    Important:  Use a suitable tool to support the endgate during the replacement procedure, this will prevent the endgate and body from being damaged.

  1. Support the endgate with a suitable tool.
  2. Remove the endgate liner. Refer to Pickup Box Endgate Liner Replacement .
  3. Remove the endgate latch. Refer to Endgate Lock Actuator Replacement .
  4. Remove the endgate overslam bumper. Refer to Pickup Box Endgate Bumper Replacement .
  5. Remove the rear licence lamp. Refer to Rear License Lamp Replacement .
  6. Remove the endgate applique. Refer to Endgate Applique Replacement .

  7. Object Number: 2008009  Size: SH
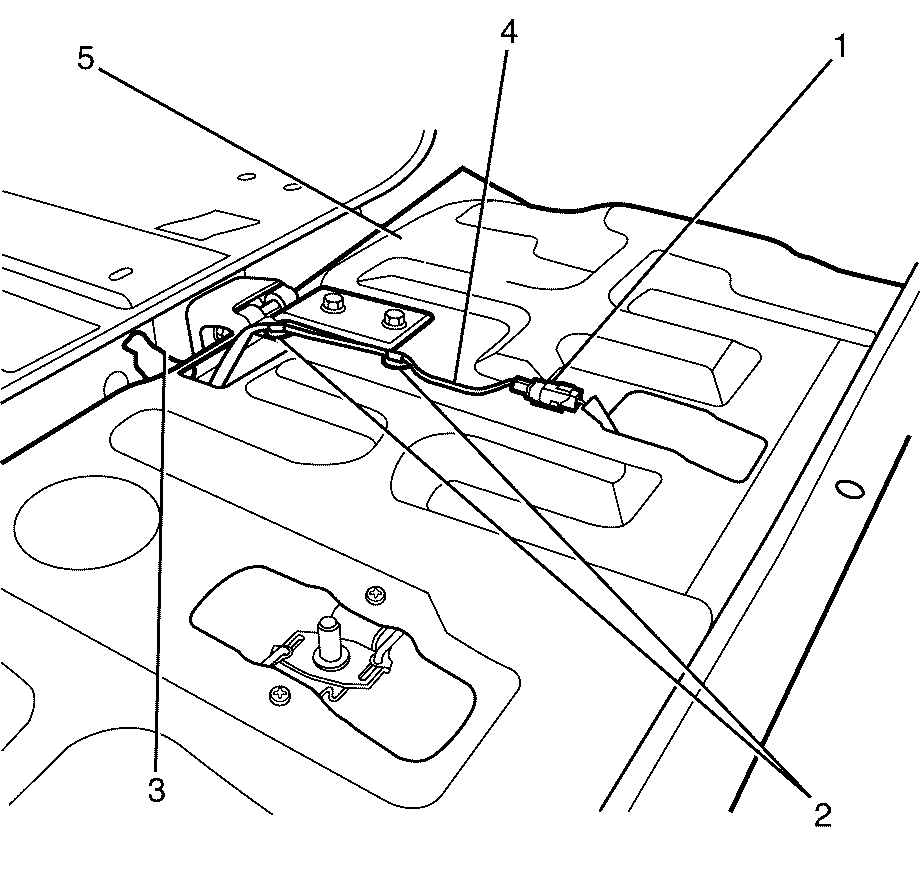
  8. Remove the endgate wiring harness to endgate retaining clips (2).
  9. Detach the endgate wiring harness grommet (3) from the endgate access hole and thread the endgate wiring harness (4) through.
  10. Remove the endgate wiring harness (4) from the endgate (5).

  11. Object Number: 2007987  Size: SH
  12. With the aid of an assistant, remove the endgate to endgate hinge retaining bolts (1). Repeat for opposite side.

  13. Object Number: 2008008  Size: SH
  14. Remove the endgate (1) from the vehicle (2).

Installation Procedure


    Object Number: 2008008  Size: SH

    Important:  Use a suitable tool to support the endgate during the replacement procedure, this will prevent the endgate and body from being damaged.

  1. Support the endgate with a suitable tool.
  2. With the aid of an assistant, install the endgate (1) to the vehicle (2).

  3. Object Number: 2007987  Size: SH

    Important: The endgate to endgate hinge retaining bolts (1) must not be fully tightened at this stage.

  4. With the aid of an assistant, install the endgate to endgate hinge retaining bolts (1). Repeat for opposite side.
  5. Do not fully tighten at this stage.

  6. Adjust the endgate as necessary. Refer to Endgate Adjustment .

  7. Object Number: 2008009  Size: SH
  8. Install the endgate wiring harness (4) to the endgate (5).
  9. Thread the endgate wiring harness (4) through the endgate access hole.
  10. Install the endgate wiring harness grommet (3).
  11. Install the endgate wiring harness to endgate retaining clips (2).
  12. Install the endgate applique. Refer to Endgate Applique Replacement .
  13. Install the rear licence lamp. Refer to Rear License Lamp Replacement .
  14. Install the endgate overslam bumper. Refer to Pickup Box Endgate Bumper Replacement .
  15. Install the endgate latch. Refer to Endgate Lock Actuator Replacement .
  16. Install the endgate liner. Refer to Pickup Box Endgate Liner Replacement .
  17. Remove the suitable support tool from the vehicle.

Endgate Replacement HSV Maloo

Removal Procedure

    Caution: Refer to Battery Disconnect Caution in the Preface section.

    Caution: Refer to Safety Glasses Caution in the Preface section.


    Object Number: 2008009  Size: SH

    Important:  Use a suitable non-marking tool to support the endgate during the replacement procedure, this will prevent the endgate and body from being damaged.

  1. Disconnect the battery ground cable. Refer to Battery Negative Cable Disconnection and Connection.
  2. Raise the hard tonneau cover.
  3. Remove the endgate rail cover. Refer to Endgate Upper Finish Molding Endcap Protective Cover Replacement.
  4. Remove the endgate trim panels. Refer to Customer Concern Verification Sheets .
  5. Remove the rear licence lamp. Refer to Rear License Lamp Replacement.
  6. Lower the endgate.
  7. Remove the endgate liner. Refer to Pickup Box Endgate Liner Replacement.
  8. Remove the hard tonneau cover catch. Refer to Customer Concern Verification Sheets .
  9. Remove the endgate overslam bumper. Refer to Pickup Box Endgate Bumper Replacement.
  10. Disconnect the endgate harness electrical connector (1).
  11. Remove the endgate wiring harness to endgate retaining clips (2).
  12. Detach the endgate wiring harness grommet (3) from the endgate access hole and thread the endgate wiring harness (4) through.
  13. Remove the endgate wiring harness (4) from the endgate (5).
  14. Disengage the hard tonneau manual release cables. Refer to Customer Concern Verification Sheets.

  15. Object Number: 2007987  Size: SH
  16. With the aid of an assistant, remove the endgate to endgate hinge retaining bolts (1). Repeat for opposite side.

  17. Object Number: 2008008  Size: SH
  18. Remove the endgate (1) from the vehicle (2).

Installation Procedure


    Object Number: 2008008  Size: SH

    Important:  Use a suitable non-marking tool to support the endgate during the replacement procedure, this will prevent the endgate and body from being damaged.

  1. Support the endgate with a suitable tool.
  2. With the aid of an assistant, install the endgate (1) to the vehicle (2).

  3. Object Number: 2007987  Size: SH

    Important: The endgate to endgate hinge retaining bolts (1) must not be fully tightened at this stage.

  4. With the aid of an assistant, install the endgate to endgate hinge retaining bolts (1). Repeat for opposite side.
  5. Do not fully tighten at this stage.

  6. Adjust the endgate as necessary. Refer to Endgate Adjustment.

  7. Object Number: 2008009  Size: SH
  8. Install the endgate wiring harness (4) to the endgate (5).
  9. Thread the endgate wiring harness (4) through the endgate access hole.
  10. Install the endgate wiring harness grommet (3).
  11. Install the endgate wiring harness to endgate retaining clips (2).
  12. Connect the endgate harness electrical connector (1).
  13. Install the hard tonneau cover catch. Refer to Customer Concern Verification Sheets.
  14. Engage the hard tonneau manual release cables. Refer to Customer Concern Verification Sheets.
  15. Install the endgate overslam bumper. Refer to Pickup Box Endgate Bumper Replacement.
  16. Install the endgate liner. Refer to Pickup Box Endgate Liner Replacement.
  17. Raise and close the endgate.
  18. Install the rear licence lamp. Refer to Rear License Lamp Replacement.
  19. Install the endgate rail cover. Refer to Endgate Upper Finish Molding Endcap Protective Cover Replacement.
  20. Install the endgate trim panels. Refer to Customer Concern Verification Sheets.
  21. Lower the hard tonneau cover and check for clearance.
  22. Adjust the endgate as necessary. Refer to Endgate Adjustment.
  23. Connect the battery ground cable. Refer to Battery Negative Cable Disconnection and Connection.