GM Service Manual Online
For 1990-2009 cars only
Makes
🢒
Holden
🢒
2008
🢒
Viva
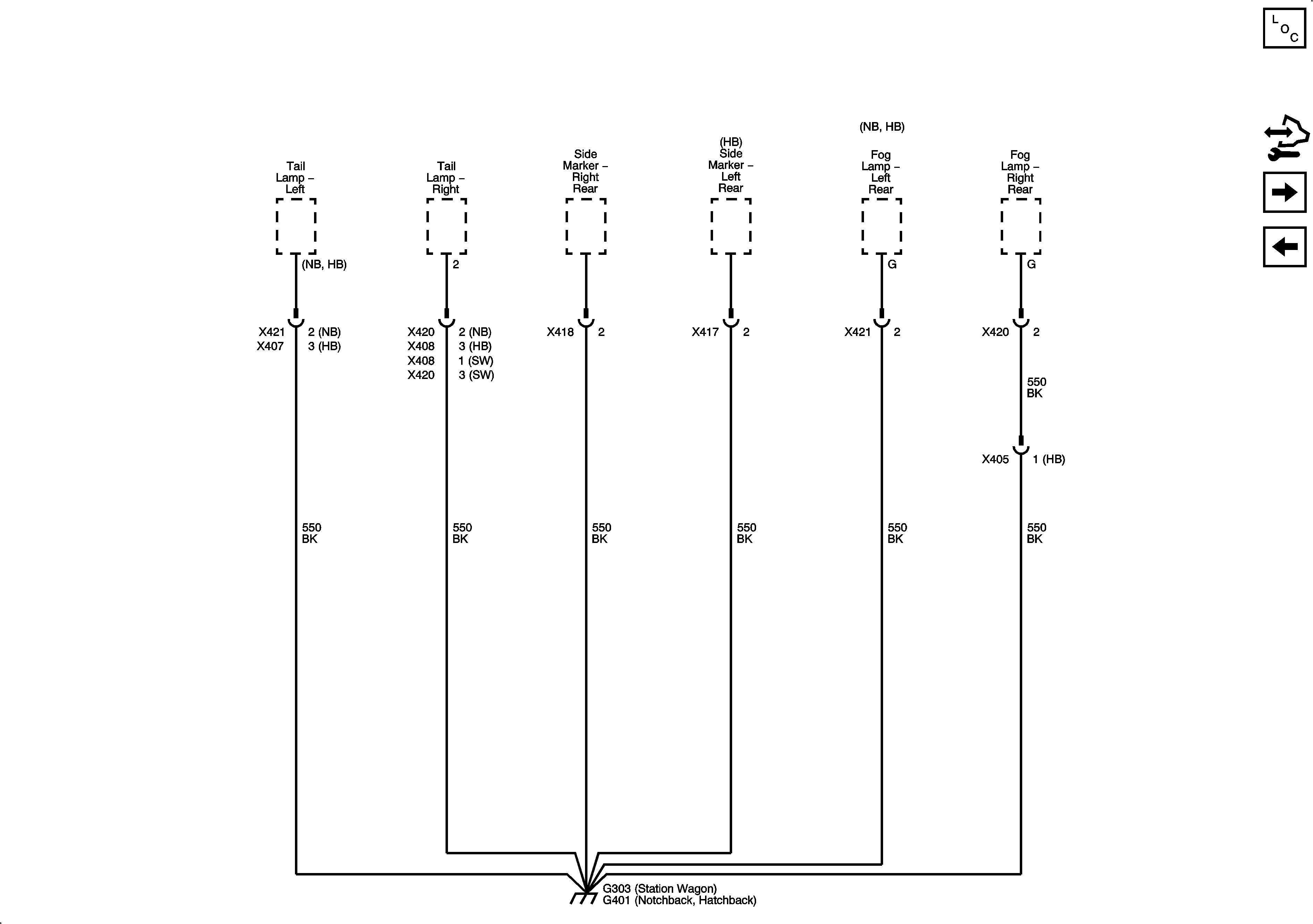
🢒 G303, G401
G303, G401
G303, G401
Master Electrical Component List
Control Module References
G304
G302