GM Service Manual Online
For 1990-2009 cars only
Makes
🢒
Isuzu
🢒
2001
🢒
Isuzu T-Series (Truck Line C)
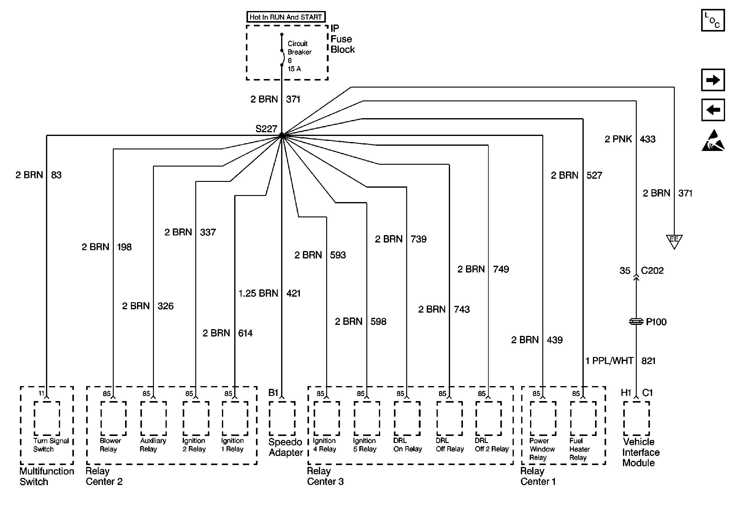
🢒 Cell 10: Power Distribution - Circuit Breaker 6 (1 of 2)
Cell 10: Power Distribution - Circuit Breaker 6 (1 of 2)
Cell 10: Power Distribution -- Circuit Breaker 6 (1 of 2)
Power and Grounding Components
Circuit Breaker 6 (2 of 2)
Circuit Breakers 1, 2, 5
Handling ESD Sensitive Parts Notice
Circuit Breaker 6 (2 of 2)