GM Service Manual Online
For 1990-2009 cars only
Makes
🢒
Isuzu
🢒
2001
🢒
Isuzu T-Series (Truck Line C)
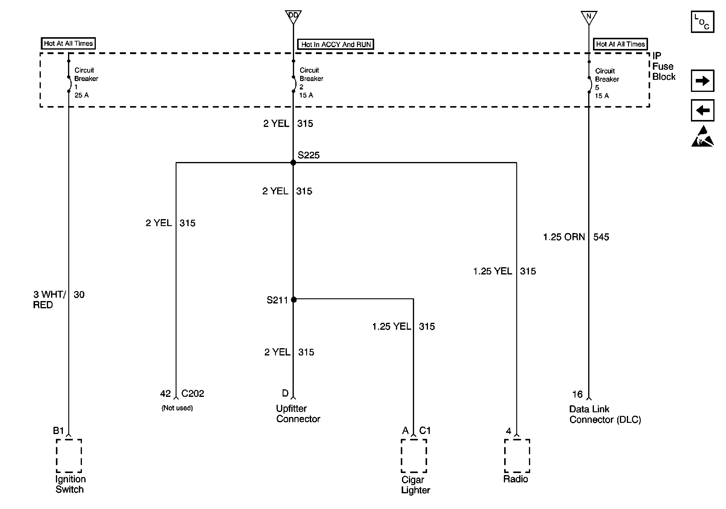
🢒 Circuit Breakers 1, 2, 5
Circuit Breakers 1, 2, 5
Circuit Breakers 1, 2, 5
Power and Grounding Components
Cell 10: Power Distribution - Circuit Breaker 6 (1 of 2)
Ignition Switch
Handling ESD Sensitive Parts Notice
Fuse Block 2, IGNITION, HYD ABS, AIR ABS, PARK BRK MTR, AIR ABS TRAILER Fuses
Fuse Block 1, EXT LIGHTING, GENERATOR/CHASSIS, WIPER/HVAC Fuses