GM Service Manual Online
For 1990-2009 cars only
Makes
🢒
Isuzu
🢒
2002
🢒
Isuzu T-Series (Truck Line C)
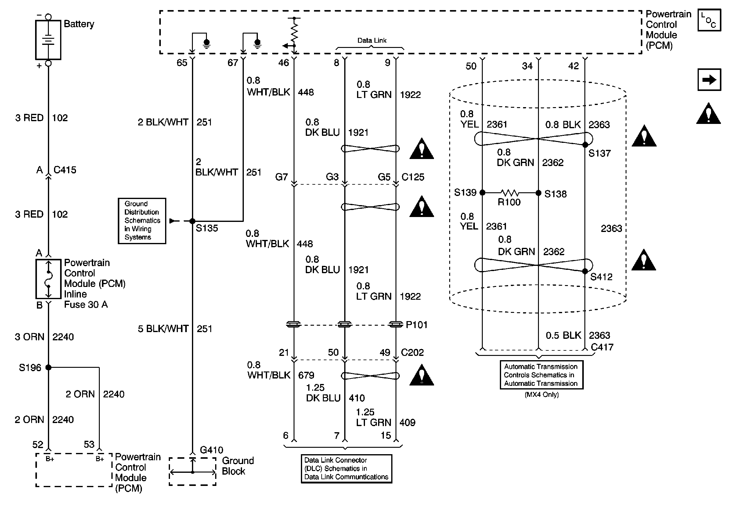
🢒 DLC, PCM Power and Grounds
DLC, PCM Power and Grounds
DLC, PCM Power and Grounds
Master Electrical Component List
Air Intake Heater, Indicators
G410, S135, S179, S407
LG5
Data Links (MX4)
Splicing Twisted or Shielded Cable