GM Service Manual Online
For 1990-2009 cars only
Makes
🢒
Isuzu
🢒
2002
🢒
Isuzu T-Series (Truck Line C)
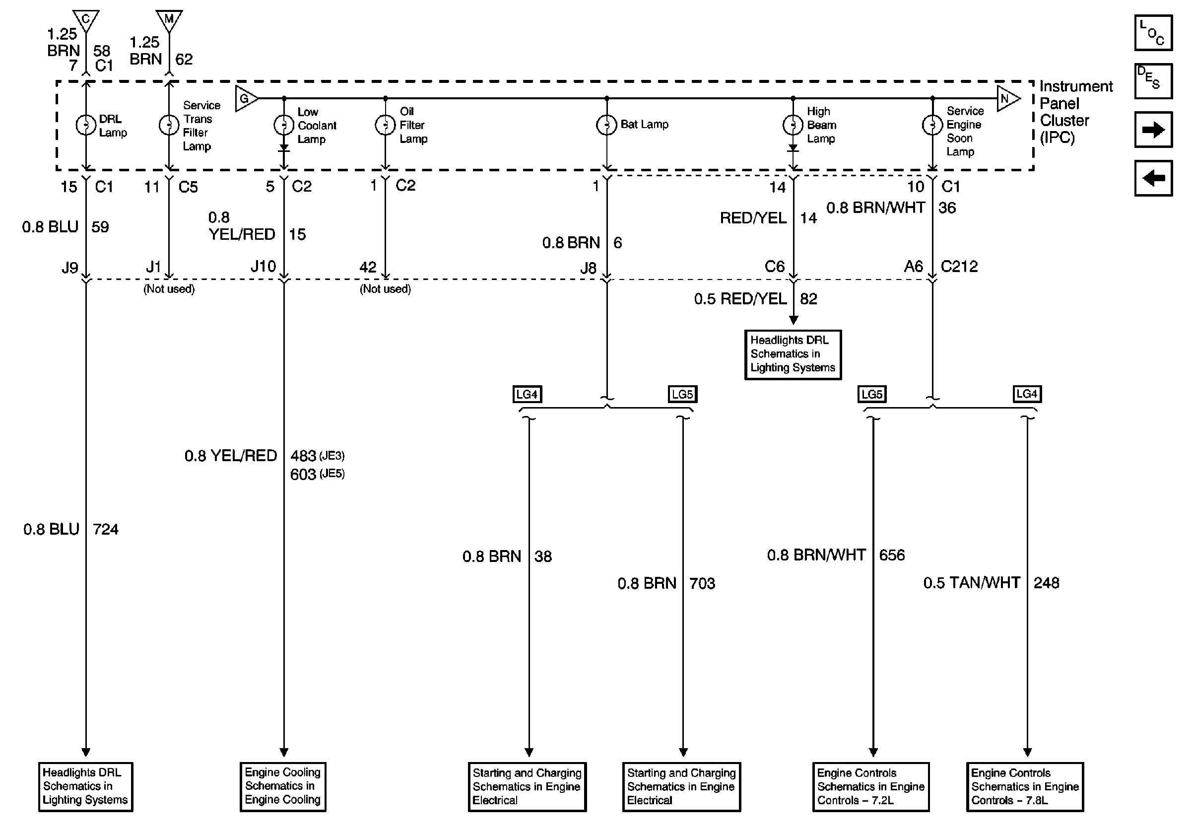
🢒 DRL, Service Trans Filter, Low Coolant, Oil Filter, Bat, High Beam and Service Engine Soon Lamps
DRL, Service Trans Filter, Low Coolant, Oil Filter, Bat, High Beam and Service Engine Soon Lamps
DRL, Service Trans Filter, Low Coolant, Oil Filter, Bat, High Beam and Service Engine Soon Lamps
Master Electrical Component List
Indicator/Warning Message Description and Operation
Exhaust Brake, Air Susp Dump Lamps and Tachometer (LG4)
Aux Brake, Apply Park Brake, RH Turn, LH Turn, Service Park Brake Lamps and Hourmeter
Fuse Voltage Supply
Fuse Voltage Supply
Trailer ABS, Differential Lock, Fast Idle, Intake Heater, Exhaust Brake, Do Not Shift Lamps and Tachometer (LG5)
Exterior Lamps Switch and Relays
Illumination, Seat Belt, Primary Brake, ABS and Park Brake Lamps
Engine Cooling Schematics
Charging Circuit
Charging Circuit (2 of 2)
Air Intake Heater, Indicators
Instrument Panel Cluster (IPC)