GM Service Manual Online
For 1990-2009 cars only
Makes
🢒
Isuzu
🢒
2002
🢒
Isuzu T-Series (Truck Line C)
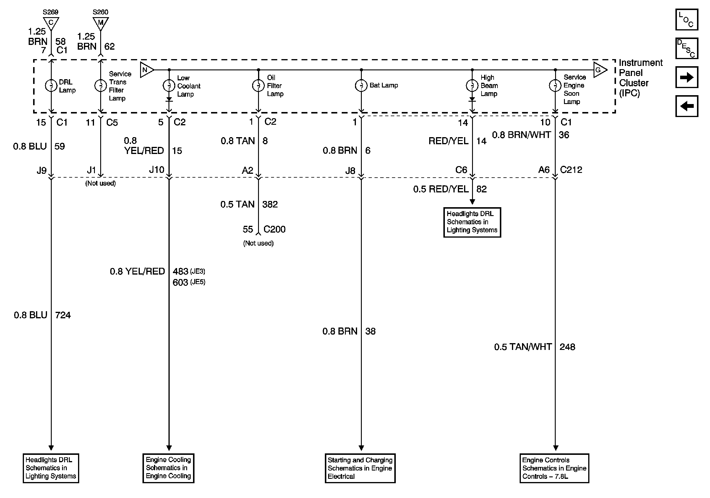
🢒 DRL, Service Trans Filter, Low Coolant, Oil Filter, Bat, High Beam, and Service Engine Soon Lamps
DRL, Service Trans Filter, Low Coolant, Oil Filter, Bat, High Beam, and Service Engine Soon Lamps
DRL, Service Trans Filter, Low Coolant, Oil Filter, Bat, High Beam and Service Engine Soon Lamps
Master Electrical Component List
Instrument Cluster Description and Operation
Trailer, ABS, Differential Lock, Fast Idle, Intake Heater, Exhaust Brake, Do Not Shift Lamp, and Tachometer (LG5)
Illumination, Seat Belt, Primary Brake, ABS, and Park Brake Lamps
Fuse Voltage Supply
Fuse Voltage Supply
Illumination, Seat Belt, Primary Brake, ABS, and Park Brake Lamps
Trailer, ABS, Differential Lock, Fast Idle, Intake Heater, Exhaust Brake, Do Not Shift Lamp, and Tachometer (LG5)
DRL Controls
Coolant Level Switch, IPC, MAM
Charging Circuit
DRL Controls
Module Power, Ground, Serial Data, MIL