GM Service Manual Online
For 1990-2009 cars only
Makes
🢒
Isuzu
🢒
2002
🢒
Isuzu T-Series (Truck Line C)
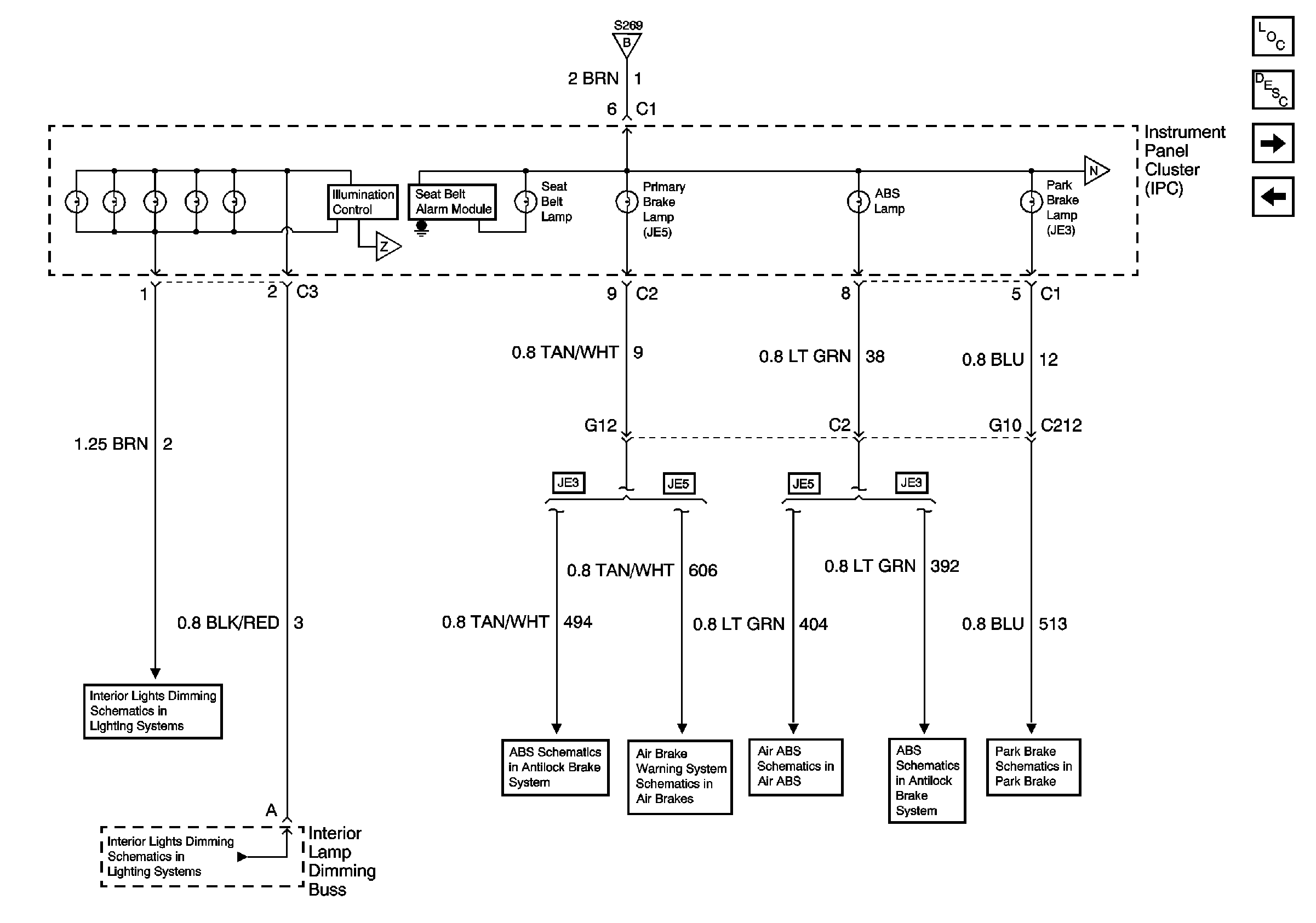
🢒 Illumination, Seat Belt, Primary Brake, ABS, and Park Brake Lamps
Illumination, Seat Belt, Primary Brake, ABS, and Park Brake Lamps
Illumination, Seat Belt, Primary Brake, ABS and Park Brake Lamps
Master Electrical Component List
Instrument Cluster Description and Operation
DRL, Service Trans Filter, Low Coolant, Oil Filter, Bat, High Beam, and Service Engine Soon Lamps
Air Suspension Dump Lamp, Speedometer, Voltmeter
Fuse Voltage Supply
Aux Brake, Apply Park Brake, RH Turn, LH Turn, Service Parke Brake Lamps and Hourmeter
DRL, Service Trans Filter, Low Coolant, Oil Filter, Bat, High Beam, and Service Engine Soon Lamps
Instrument Panel Lighting
Instrument Panel Lighting
IPC, MAM and BRK Fluid Level SW
Low Air Pressure Switch, MAM, IPC
ABS Indicator Lamp Relay, EBCM
EBCM, ABS Indicator Relay, IPC
Spring Assisted Park Brake, Page 1 of 2