GM Service Manual Online
For 1990-2009 cars only
Makes
🢒
Isuzu
🢒
2002
🢒
Isuzu T-Series (Truck Line C)
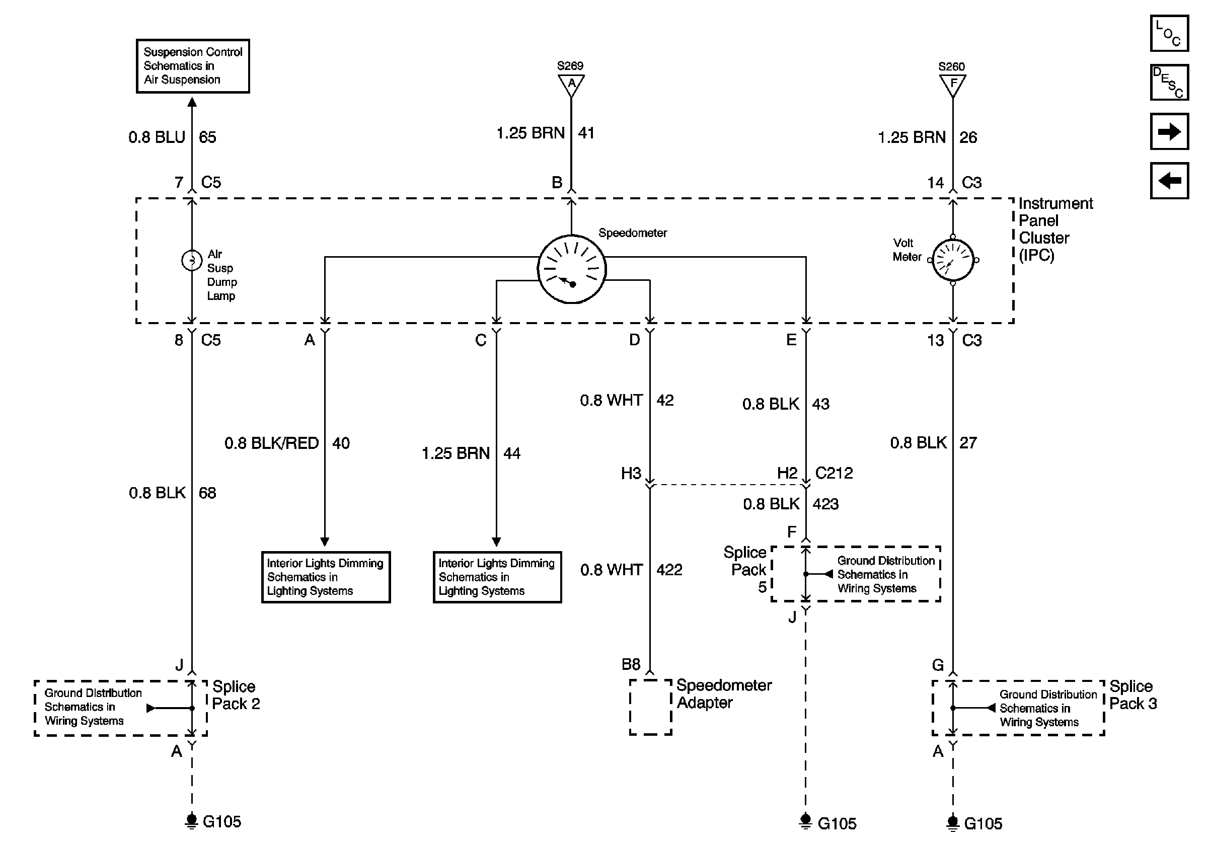
🢒 Air Suspension Dump Lamp, Speedometer, Voltmeter
Air Suspension Dump Lamp, Speedometer, Voltmeter
Air Susp Dump Lamp, Speedometer and Volt Meter
Master Electrical Component List
Instrument Cluster Description and Operation
Illumination, Seat Belt, Primary Brake, ABS, and Park Brake Lamps
Fuse Voltage Supply
Air Suspension Dump Switch and Valve Solenoid
Fuse Voltage Supply
Fuse Voltage Supply
Splice Pack 2
Instrument Panel Lighting
Instrument Panel Lighting
G105, Splice Pack 5, S338
G 407, Splice Pack 3, S120, S121, S122, S150, S242, S361