GM Service Manual Online
For 1990-2009 cars only
Makes
🢒
Isuzu
🢒
2002
🢒
Isuzu T-Series (Truck Line C)
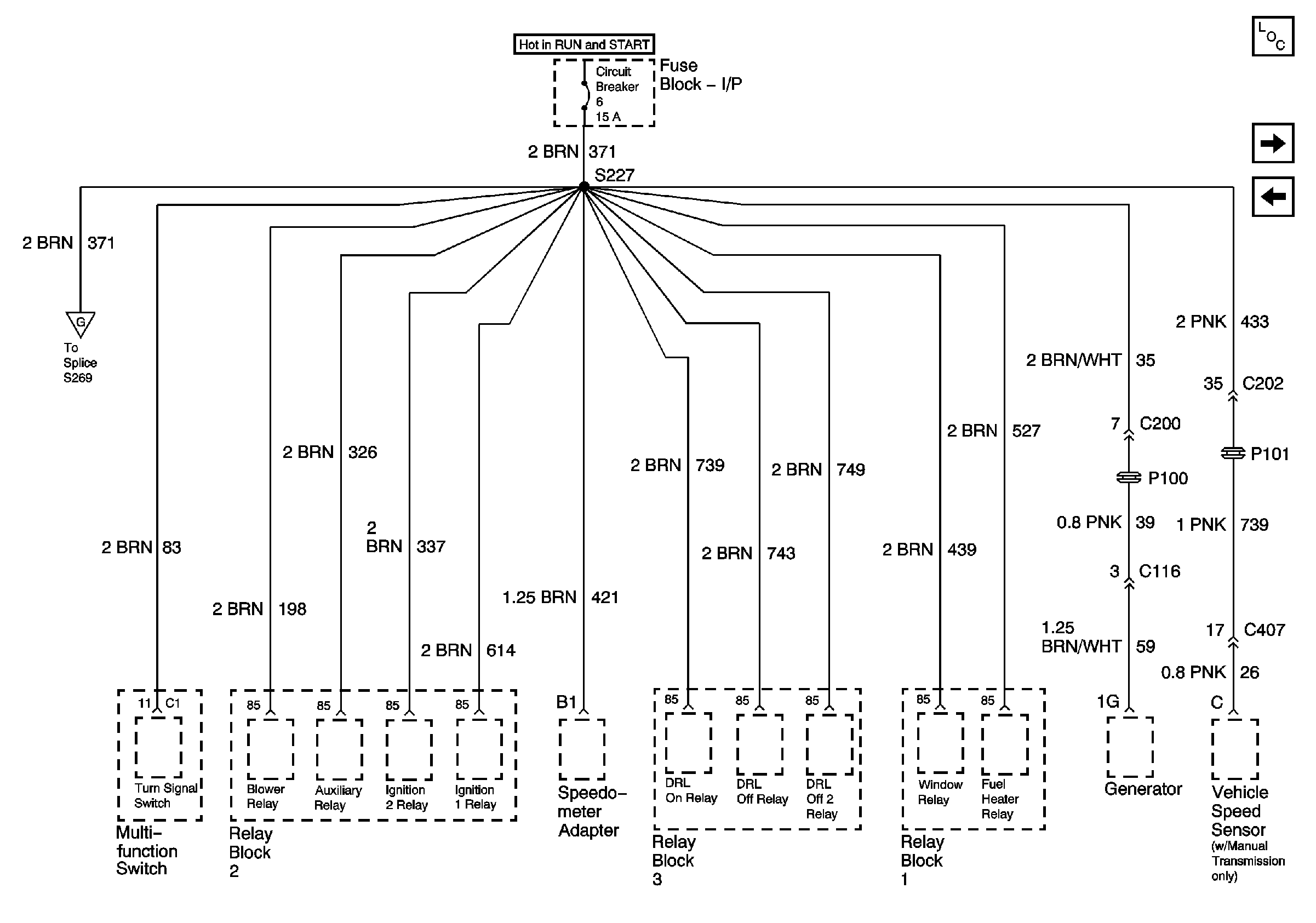
🢒 IP Fuse Block, Curcuit Breaker 6, Page 1 of 2
IP Fuse Block, Curcuit Breaker 6, Page 1 of 2
IP Fuse Block, Circuit Breaker 6, Page 1 of 2
Master Electrical Component List
IP Fuse Block, Circuit Breaker 6, Page 2 of 2
IP Fuse Block, Curcuit Breakers 4, 5, 10
IP Fuse Block, Circuit Breaker 6, Page 2 of 2